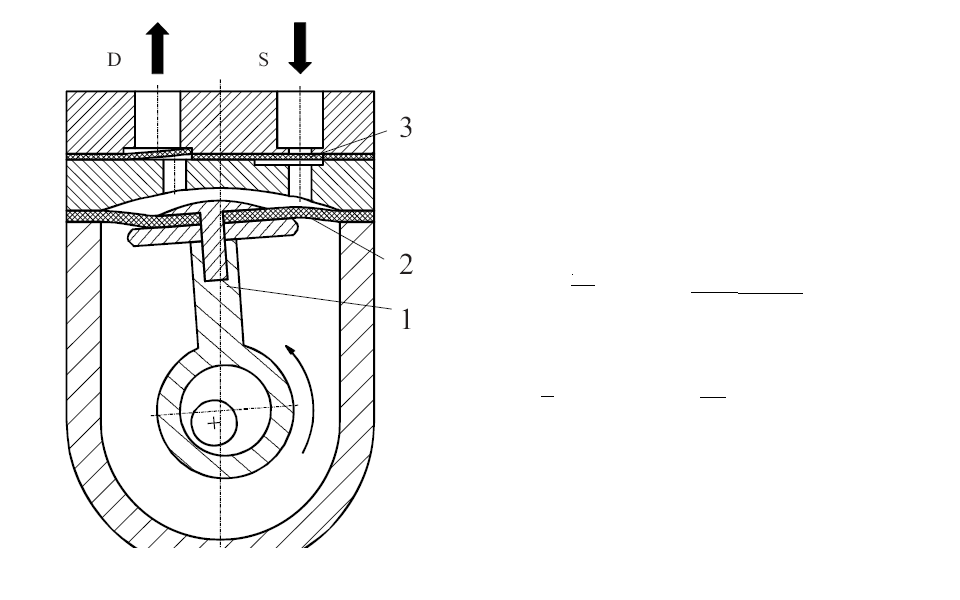
Servus! Kann mir jemand sagen mit was für einer Drehzahl und mit was für einem Motor man so ein "Simple" Einfachwirkende Membranpumpe am besten antreibt? Gruß Jumper
Gewöhnlich kommen hier Spaltpolmotore zum Einsatz die aber nur eine Drehzahl und geringe Leistung haben. Zusätzlich wäre noch interessant zu wissen mit welchen Kräften/Gegenkräften im Verdichter zu rechnen ist. Es ist eben ein Unterschied ob die Pumpe 1 BAr oder 10 Bar Druck erzeugen soll. Ähnliches würde für Unterdruck, also Vakuum gelten. Ich selbst hab mal so eine Pumpe mit einem Spaltpolmotor einer Waschmaschinenlaugenpumpe gebaut, musste dann aber feststellen, das der Motor schon von vorn herein zu schwach war. Das hilft zwar im Moment nicht weiter, ist aber schon mal eine Erfahrung die jemand mal gemacht hat.
Sie soll zum Fördern von Gasen verwendet werden (Druck bis 2 Bar).Eventuell auch zur erzeugung eines Vakums. Als Volumenstrom bzw. Durchsatz habe ich so an ca 3m³/h gedacht!Dimensionierung mache ich mal abhängig von der Drehzahl, die ich bis jetzt noch nicht weiß. Was wär den die maximale Drehzahl die für die Pumpe geeignet wäre? Gruß
Mit einem Spaltpolmotor sind glaub ich max. ca. 3000 U/Min. drin. Mit einem Gleichstrommotor sogar 10000 U/Min möglich. Ob bei der Belastung das Material das aus hält bezweifel ich. Bei der Luftmenge würde ich so eine Elektroluftpumpe zum Reifenbefüllen zweckentfremden. Da muß man dann auch nichts rechnen weil das alles schon fertig erprobt ist. http://cgi.ebay.de/Tragbarer-12V-Luftkompressor_W0QQitemZ270490311305QQcmdZViewItemQQptZDE_Haus_Garten_Heimwerker_Kompressoren?hash=item3efa7a9a89
Bitte melde dich an um einen Beitrag zu schreiben. Anmeldung ist kostenlos und dauert nur eine Minute.
Bestehender Account
Schon ein Account bei Google/GoogleMail? Keine Anmeldung erforderlich!
Mit Google-Account einloggen
Mit Google-Account einloggen
Noch kein Account? Hier anmelden.

