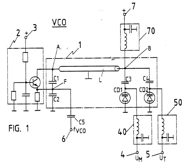
Hallo, könnte mir bitte jemand sagen, ob das Bild im Anhang ein Blockschaltbild eines VCOs ist. mfg Simon
Ja. ist das übliche uralte Colpitts-Prinzip. Die zwei Kapazitätsdioden werden zur Einstellung der Grundfrequenz (UT) und zur FM-Modulation (UM) benutzt.
Bitte melde dich an um einen Beitrag zu schreiben. Anmeldung ist kostenlos und dauert nur eine Minute.
Bestehender Account
Schon ein Account bei Google/GoogleMail? Keine Anmeldung erforderlich!
Mit Google-Account einloggen
Mit Google-Account einloggen
Noch kein Account? Hier anmelden.
