Hallo, habe diese Schaltung hier nachgebaut und mit einer Zündspule betreieben, jedoch geht etwa nach 1 Minute die Schaltung nicht mehr gut, damit die Zündspule Funken macht, muss ich immer den Kontakt unterbrechen und wieder herstellen, also es handelt sich um keine Wechselspannung mehr. Ich denke es liegt an den BC 548 Transistoren. Könnte ich die Schaltung irgendwie ummodifizieren, damit ich sie auch mit 15v zum laufen bekome, ohne immer die Transistoren zu wechseln?
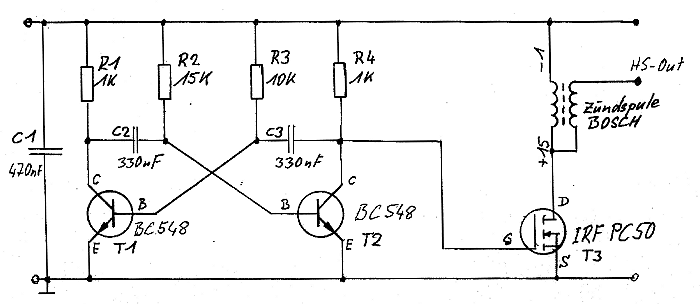
Hier noch die zwei Schaltpläne. Den Schaltplan zwei würde ich gerne nachbauen, jedoch fehlen mir die 22k Potis, könnte ich die weglassen, wenn ja, was müsste ich da machen? mfg
Hans Lüthi schrieb: > Hier noch die zwei Schaltpläne. > Den Schaltplan zwei würde ich gerne nachbauen, jedoch fehlen mir die 22k > Potis, könnte ich die weglassen, wenn ja, was müsste ich da machen? > > mfg Habe nun zwei Typ 50 genommen, halten die mehr aus? Es handelt sich zumindest von der Form um Mosfets. Mit den Typ 50 funktiert es gut, mal schauen wie lange.
Du brauchst noch 2 Dioden, damit die BE-Sperrspannung nicht überschritten wird bei Deiner Betriebsspannung. Bild 2 links: http://www.elektronik-kompendium.de/public/schaerer/pvtest.htm
Wie kann ich bei der Schaltung zwei die 22k Potis weglassen? Besitze solche leider nicht.
Hans Lüthi schrieb: > Wie kann ich bei der Schaltung zwei die 22k Potis weglassen? Besitze > solche leider nicht. Folgende Alternativvorschläge [ ] 20k Potis nehmen. [ ] 25k Potis nehmen. [ ] 22k Festwiderstände nehmen. [ ] 20k Festwiderstände nehmen. [ ] 18k Festwiderstände nehmen. [ ] 15k Festwiderstände nehmen. etc. Alle gerade ausprobiert, such dir also was aus.
Bitte melde dich an um einen Beitrag zu schreiben. Anmeldung ist kostenlos und dauert nur eine Minute.
Bestehender Account
Schon ein Account bei Google/GoogleMail? Keine Anmeldung erforderlich!
Mit Google-Account einloggen
Mit Google-Account einloggen
Noch kein Account? Hier anmelden.

