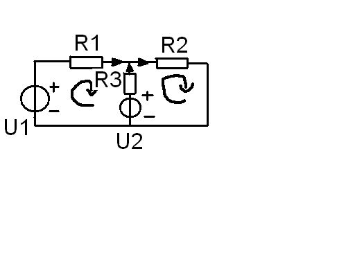
Hallo, ich würde gerne, die von mir herausgefundenen Maschengleichungen von euch verifizieren lassen. Würde mich über Beteiligung freuen. 1. -U1+UR1-UR3=0 2. -U2+UR3+UR2=0 3. I2-I3-I1=0 Gruß Mitleser
Bitte melde dich an um einen Beitrag zu schreiben. Anmeldung ist kostenlos und dauert nur eine Minute.
Bestehender Account
Schon ein Account bei Google/GoogleMail? Keine Anmeldung erforderlich!
Mit Google-Account einloggen
Mit Google-Account einloggen
Noch kein Account? Hier anmelden.
