Hallo Ich hab hier ein niegelnagelneues 5 Jahre altes Tektronix TDS210. Das hab ich von eBay und kam leider nur mit einem Tastkopf (wurde auch so angeboten). Jetzt brauch ich noch einen zweiten (vielleicht auch gleich nen dritten für den ext. Trigger) und steh bei der Suche aber mangels Erfahrung (bei Tastköpfen, weniger bei Oszis) etwas auf dem Schlauch. Neu kostet ein passender Tastkopf (P6112 von Textronix: http://www.tek.com/site/ps/0,,60-15106-INTRO_EN,00.html) um die 120 (autsch). Daher wär ich für Tips von brauchbaren Alternativen (sprich andere Hersteller) dankbar. Muß nicht gleich die Angabe eines speziellen Typs sein, mir geht's hier vorallem um Infos, von welchen Herstellern ich besser die Finger lasse bzw. welche (günstigen) ihr Geld wert sind. Gegen Links von passenden Shops, die an privat verkaufen, hät ich auch nichts dagegen (Google spuckt auch viele "uninteressante" Shops aus). Es sollte ein vergleichbarer wie der von P6112 sein. Also ca. 100MHz, 1:10, mind. 300V (auch wenn wohl überwiegend damit nur uC-Schaltungen und NF-Signale untersuchen werde). Bei Conrad und Reichelt findet man z.B. Tastköpfe von TesTec. Taugen die was? Ach ja, bei Helmut Singer Elektronik gibt's den P6112 ziemlich günstig (ca. 23), aber die Aufmachung der Seite wirkt, als sei sie vorwiegend für Firmen . Verunsichert ein bißchen und wollte daher mal wissen, ob schon jemand Erfahrung mit der Firma hat. Wegen der Feiertage werd ich mich erst nächste Woche mal "trauen" ;) dort anzufragen (ich hab bisher noch keine Versandkosteninfos gefunden, nur Mindestbestellwert). Schon mal Danke für die Infos, Andreas
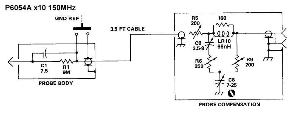
>Es sollte ein vergleichbarer wie der von P6112 sein. Also ca. 100MHz, >1:10, mind. 300V (auch wenn wohl überwiegend damit nur uC-Schaltungen >und NF-Signale untersuchen werde). Einfach selber bauen, 3 Kapazitäten + Trimmer + 2 Widerstände. Da Du schon einen Tastkopf hast, kannst Du die anderen sehr leicht selber abstimmen/justieren.
Naja, ich wollt eigentlich auch was gescheites zum Anfassen haben, also mit richtigem "Stift"/Gehäuse, Kabel usw.. Wie ich mich kenne, würde meine Selbstkonstruktion den Anschlussdraht als Tastspitze benutzen ;).
>Naja, ich wollt eigentlich auch was gescheites zum Anfassen haben, >also mit richtigem "Stift"/Gehäuse, Kabel usw.. Und gerade das bereitet meistens die größten Schwierigkeiten bei der Variante "Eigenbau" >Wie ich mich kenne, würde meine Selbstkonstruktion den Anschlussdraht >als Tastspitze benutzen ;). geht mir genauso.... grins
Das von Tektronix hab ich schon in nem anderen Thread hier gefunden, das andere noch nicht. Danke.
Ach ja, den Selbstbau hab ich trotzdem mal durchgeführt ;). Da meine Schaltung auf nem Breadboard klebt, brauch ich nicht unbedingt was festhalten :P. Widerstand und ungeschirmte Leitung reichen bei den momentan niederfrequenten Signalen, die ich beobachten muß.
Bei Helmut Singer war ich schon zweimal persönlich, ist auch als Privatmann kein Problem und die Leute sind sehr nett. Das Lager dort ist schon beeindruckend :) Ich würde einfach mal anrufen, wenn Du was bestellen willst... Wenn Du Tastköpfe kaufst, könnte es sich übrigens lohnen, auch gleich nach Ersatz für die Spitzen und Masseklemmen zu schauen... Johannes
>Tastkopf ... >Einfach selber bauen, 3 Kapazitäten + Trimmer + 2 Widerstände. @Bernhard (oder andere): Könntest du dies etwas näher ausführen? Zur Einarbeitung in die Materie hab ich mir einen 10:1 Tastkopf gebaut und bis 20MHz Sinus / 5MHz Rechteck ist alles kein Problem. Aber wenn ich einen 25 oder 40 MHz Quarz Oszilator (t.r etwa 1.8ns) damit messe so habe ich jede Menge Resonanzen und Leitungsreflektionen (?). Füge ich am Anfang und Ende des Coax einen Serienwiderstand (z.B. 220Ohm) ein so verschwinden die Resonanzen aber es bleiben Stufen im Rechtecksignal übrig die mir nach Reflektionen ausschauen. Der Stufenabstand ist 12ns was auch der doppelten Laufzeit in 1.2m Coax entspricht, die Stufenhöhe ca 25-30%. (Leider kann ich keine Bilder machen). Zum Vergleich habe ich die klassische 1KOhm Resistive Probe mit 50Ohm Abschluss genommen und da sieht der Quarz recht sauber aus. Wie macht man denn den Impedanz Abschluss richtig um die Reflektionen zu vermeiden? (ohne Bandbreitenverlust) Oder bohre ich da an der falschen Ecke?
Koaxleitungen eigenen sich nicht wirklich für einen hochohmigen Tastkopf. Um die Reflektionen weg zu bekommen, müsste man die Leitung auf jeder Seite mit 50Ohm abschließen, allerdings wird dann der Tastkopf sehr niederohmig (<1kOhm bei 10:1) Tastkopfleitungen verwenden spezielle Leitungen aus Widerstandsdraht (1m Leitung hat etwa 300Ohm !) und niedriger Kapazität (ca. 30pF/m)
Hi! Ich hatte früher auch Eigenbau, ging sogar ganz ordentlich bis ca.20MHz Dann hatte ich ein neues Oszi von eBay mit Tastköpfen 150MHz an 40MHz Oszi. Ich sage euch das sind Welten. Auf Arbeit habe ich ein 150MHZ Oszi mit 250MHz Tastköpfen. Die habe ich natürlich zuhause mal getestet. Ein 40MHz Rechteck ist da auch noch fast ein Rechteck. Fazit: Lege ordentlich Geld dafür hin und du bekommst auch ordentliche Wahre die die Grenzen deines Oszis nicht unnötig beschneidet. Aber bitte nicht überteuert kaufen. Viel Erfolg, Uwe
>Tastkopfleitungen verwenden spezielle Leitungen aus Widerstandsdraht (1m Leitung hat etwa 300Ohm !) Aha! Also kein Coax, sondern meine beiden beiden Dämpfungs Widerstände am Anfang und Ende sind quasi über die ganze Leitung verteilt? Aber trotzdem müsste dann immer noch die Leitung abgeschlossen werden, oder? Mit einem RC? >...150MHZ Oszi mit 250MHz Tastköpfen.... Ich sage euch das sind Welten Exakt meine Reaktion als ich mein gemächliches 10MHz Oszi nun endlich beiseite räumte und ein 200MHz Tektronix (2445B) einschaltete... mann da existieren wilde Welten drausen von denen ich bissher garnichts ahnte. >Probe ... Aber bitte nicht überteuert kaufen. Ich hatte mir für die nächste Bestellung die Testec MF 312,1:10, 250MHz Probes rausgesucht. Taugen die was? Danke.
Hi! Kenne ich leider nicht, habe leider nur Hameg's. Aber die 250MHz haben 3-fach trimm, die 150MHz 2-fach. MFG uwe
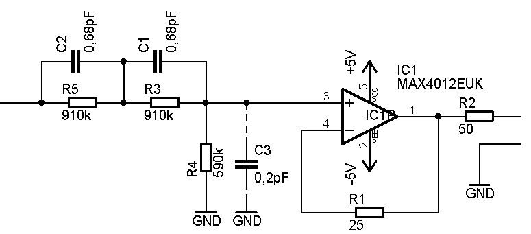
Die normalen 10:1 Tastköpfe bis einige 10MHz haben meist nur 1 Kondensator zum kompensieren der Kabalkapzitäten. Die besseren noch ein Poti am Oszi. Ich hatte vor kurzem einen Testec MF312 zerlegt: Nur normale Widerstände, und Trimmer, also nix besonderes (außer dem Kabel zum Oszi). Daher ist dieser auch so günstig. Für Messungen bis einige 10MHz brauchbar, darüber kann man den vergessen. Ich versuche gerade einen aktiven Tastkopf mit einem MAX4012 und <1pF Eingangskapzität zu bauen (theoretisch 0,4pF, aber dazu kommen die parasitären Kapazitäten), der sollte dann bis >100MHz gehen und selbst bei einigen 10MHz immer noch eine Eingangsimpedanz von einigen 10kOhm haben. Im Anhang ein Vergleich zwischen Testec MF312 (unten) und einem schnell selbst gebauten (oben) aus einem 2,5k Widerstand in Serie am Eingang und 50Ohm gegen Masse. Dazwischen 1,5m Netzwerkkabel (RG58) und das Oszi auf 50Ohm geschaltet. Komplett ohne Frequenzkompensation, da ich dafür keine Zeit hatte. Die Signale stammen aus einem PLL mit AC245 als Ausgangstreiber. Wie die Signale wirklich aussehen, wenn man mit einem theoretisch idealen Tastkopf messen würde kann ich nicht sagen. Ich denke vom Preis/Leistungsverhältnis ist der Selbstbautastkopf auf jedenfall der Sieger. Zumindest bei niederohmigen Messignalen, denen die 2,5kOhm Last nichts ausmacht. Mit Frequenzkompensation sollte dieser bis weit über 100MHz gehen. Ohne bis etwa 50MHz.
> Resistive Probe Hier noch eine etwas verfeinerte Version der Res. Probe http://emcesd.com/1ghzprob.htm > MF 312 Ähhh... das ist doch nicht denen ihr Ernst? Gut, dass du die Bilder zeigst. Das muss ich mir dann doch vielleicht noch mit dem MF312 Tastkopf überlegen. Dann vielleicht doch gebrauchte Tektronix 200-300Mhz x10 Probes für 90? (z.B. P6106A, P6137) Bei 25MHz Rechteck sieht ja mein Eigenbau noch besser aus als der MF312 bei 10Mhz Rechteck, zumindest hab ich keine Resonanzen, und bei 60MHz Rechteck tendiert dann in Richtung wie dein 100MHz Resistive. Viel steiler als 2ns scheint ja der 74AC245 auch nicht zu sein. >aktiven Tastkopf mit einem MAX4012 Genau! Sowas kribbelte mir auch schon im Kopf rum und hatte mir ein paar MAX4012 auf Vorrat besorgt (gabs mal für 0.91 bei R.!). Allerdings dachte ich einen FET Impedanz Wandler davorzuschalten um ein besseren DC Eingangswiderstand zu haben, oder so wie im Anhang. Meldest du dich, wenn du dazu was konkreteres hast, würde mich interessieren, für mich ist dieser Freq. Bereich komplettes Neuland. Danke.
Einige der Überschwinger kommen sicherlich von den starken, unterminierten AC245 Ausgängen. Normalerweise werden beim MF312 Tastkopf alle Rechecke ab etwa 10MHz (ab da sieht man den Effekt) zu einem Sinus (etwa bei 50MHz ist ein Rechteck ziemlich rund.) Der Grund dafür liegt in der Kapazität: Die Strecke Oszilloskop (ist übrigends ein 200MHz Philips) bis hin zum Tastkopf hat etwa 40pF. Durch den 1:10 Teiler bleiben so immer noch 4pF übrig. Insgesamt hat der Tastkopf eingangsseitig fast 7 pF. Das ergibt bei 50MHz rund 500Ohm Impedanz, kein Wunder dass hier alle Oberwellen stark gedämpft werden.
So sieht der Entwurf für den aktiven Tastkopf aus. Aufgrund der Leitungsanpassung geht hier die halbe Spannung verloren, weshalb der Spannungsteiler nur ein 1:5 Teiler ist. Vermutlich kann C3 entfallen, da die Platine zusammen mit dem MAX4012 genügend Kapazität hat. Eventuell wird parallel zu R2 noch eine Kapazität notwendig, da der MAX4012 mit höheren Frequenzen eine höhere Ausgangsimpedanz hat. Wenn ich endlich mal den MAX4012 bekomme (ich warte schon seit fast einen halben Jahr auf den), dann kann ich die Schaltung endlich mal aufbauen.
@Benedikt >Wenn ich endlich mal den MAX4012 bekomme (ich warte schon seit fast >einen halben Jahr auf den) Und wenn Du den MAX4012 durch einen sehr guten HF-Transistor in Kollektorschaltung ersetzt, hättest Du auch eine Impedanzwandlung realisiert? Gruß Bernhard
Theoretisch ja, praktisch hat es bei mir nicht so recht funktioniert. Das liegt vielleicht auch daran, dass die meisten HF Transistoren die ich hier habe nicht genügend Strom liefern, um das 50Ohm Kabel zu treiben (es sind immerhin +/-100mA nötig um +/-5V auf das Kabel zu bekommen). Ich werde es jetzt einfach mal mit dem MAX versuchen, je weniger Bauteile desto weniger Fehler kann die Schaltung haben, und desto kleiner (=kapazitätsärmer) kann man sie aufbauen.
Habe gerade mal auf meinen Oszi geschaut, an der Eingangsbuchse steht 1MOhm / 32pF (DDR-RFT EO213). Gerade die 32 pF machen mir manchmal ziemlich zu schaffen. Ein aktiver Tastkopf würde so manche Signalverfälschung kompensieren.
>Wenn ich endlich mal den MAX4012 bekomme (ich warte schon seit fast >einen halben Jahr auf den) Bitte sag jetzt nicht, dass du ihn bei CSD bestellt hast. Wollte mir nämlich nächste Woche auch ein Dutzend davon ordern
@Tobias Doch, genau da. Dort kostet er nämlich ein drittel von dem was er bei Reichelt kostet. Ich vermute bald verschwindet er dort aus dem Angebot, oder der Preis ändert sich zumindest. Bestellt habe ich den übrigends am 18.05.06... Ich werde mir demnächst bei Reichelt ein paar bestellen, da ich diese dringend auch für was anderes brauche. Vielleicht kommen die von CSD ja noch. @Bernhard 32pF ist ziemlich schlecht. Mein Oszi hat 7pF. Dazu kommt noch das Tastkopf Kabel mit den fast 40pF. Bei RG58 rund das 3 fache bei gleicher Länge. Der Vorteil von dem aktiven Tastkopf ist, dass die Tastkopfspitze fast nichts von der angschlossenen Last mitbekommt und man so fast jede noch so große kapazitive Last treiben kann, solange der Verstärker das mitmacht.
@Benedikt Danke für den Schaltplan. Müsste/sollte man nicht den etwas hohen Input Offset Current des MAX4012 von typ 0.1µA kompensiern um bei den hohen Eingangswiderständen einen Offset zu vermeiden? >HF Transistor ... +/-100mA Bisher hab ich nur den BF959 mit 100mA f.T min 600MHz bei Reichelt gefunden. Könnte man nicht statt der üblichen 50Ohm Coax 75Ohm nehmen und dann statt im Oszi mit 50Ohm kurz vor dem Oszi mit 75Ohm terminieren und den Oszi mit 1MOhm Input betreiben? Würde doch das Leben auf der Treiberseite auch wieder ein Stückchen einfacher machen. Ich meinte einmal 150Ohm Coax gesehen zu haben, kann aber jetzt nichts finden.
So, ich hab noch etwas rumgerspielt und auch nachgeschaut wies die "Grossen" machen (siehe Anhang). Damit kann man die durch Reflektion verursachte Stufe im 10-20ns Bereich wegkompensieren in dem man sich quasi Frequenzanteile aus der Schaltflanke borgt und in die Reflektionsstufe reinschwingen lässt, aber das Wahre ist das alles nicht. Man kann sich also aussuchen ob man eine Stufe oder Überschwinger sehen will. Ich komm dann zu Überschwinger in der Grössenordnung von 10% bei Schaltflanken von 1.5-10ns. Die Bandbreit schätze ich so auf 100MHz. Aber das Hauptproblem ist halt die Reflektion und die bekommt man anscheinend ohne die von Benedikt erwähnten Widerstands Coaxleitungen nicht richtig weg. Benutzen eigentlich alle guten HF-Tastköpfe diese Widerstands Coax Kabel? (Wenn jemand einfach die Möglichkeit hat dies nachzumessen, wäre nett). Nur die wilden Überschwinger bei Benedikts MF-312 Bildern versteh ich immer noch nicht. Kommen die wirklich vom Tastkopf? (Bei meiner Bastellösung gibts sowas nur bei totaler Fehlanpassung).
Hier noch ein andere Tastkopf. Die gewählte Kompensationsstrategie hängt offensichtlich stark von der Kabellänge und Kabelmaterial ab. Interessant ist auch dass das Kabel in der Stückliste als "39OHm Coax" bezeichnet wird.
Ich habe heute endlich ein paar MAX4012 von Reichelt bekommen. Der Input Bias Current macht ziemliche Probleme: rund 2V Offsetspannung... Ich war bsier nur die üblichen Operationsverstärkern mit Eingangsströmen im nA gewöhnt. Ich werde den Eingangsspannungsteiler jetzt auf 100kOhm reduzieren. Das ist für einen Tastkopf zwar niedrig, aber der kapazitive Eingangswiderstand wird spätestens ab einigen 100kHz sowiso kleiner, so dass das ganze nur noch eine kapazitive Last darstellt. Davon abgesehen sieht man deutlich einen Unterschied im Vergleich zu einem Testec Tastkopf, was vor allem an der niedrigen Eingangskapazität von rund 1pF liegt.
Bitte melde dich an um einen Beitrag zu schreiben. Anmeldung ist kostenlos und dauert nur eine Minute.
Bestehender Account
Schon ein Account bei Google/GoogleMail? Keine Anmeldung erforderlich!
Mit Google-Account einloggen
Mit Google-Account einloggen
Noch kein Account? Hier anmelden.





