Hallo an alle, ich stehe Momentan vor einem Problem und hoffe hier die Lösung zu finden! Meine Frage: Wie kann ich die Drezahl einer Handbohrmaschine stufenlos verstellen?? Nachdem ich mir Gedanken darüber gemacht hatte bin ich auf 2 Wege gestoßen: 1.Frequenzumrichter - scheidet aus, da einphasen Motor 230 V (bestimmt Universalmotor). Frequenzumrichter gibt dreiphsig aus. Oder gibt es auch Frequenzumrichter die eine einphasige Spannung ausgeben? 2.Phasenanschnitt - ist dies möglich?? wenn ja wie bekomm ich die Werte der Widerstände, Kondensatoren, Triac, Diac usw. raus? Kennt jemand noch andere leicht realisierbare Möglichkeiten?? Vielen Dank für eure Hilfe Gruß Chris PS: Ich möchte keine Bohrmaschine mit Drehzahlsteuerung kaufen. Dies ist ein Projekt für meine Abschlussprüfung!
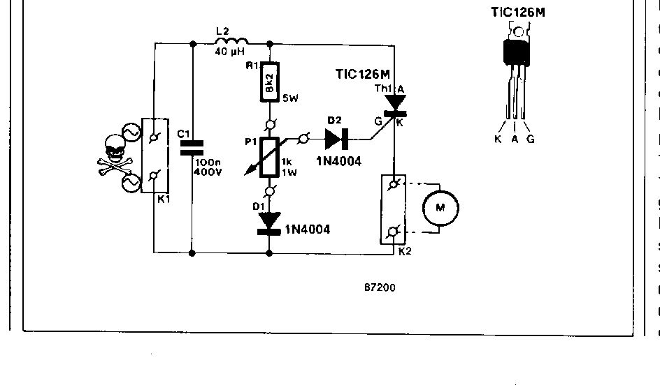
Mit der geposteten Schaltung gehts aber nur bis zur halben Leistung, wegen des Thyristors. Für die Nutzung der anderen Halbwelle brauchts eine Schaltung mit Triac (oder ähnlichem). Is aber eigentlich eine "Standart"-Schaltung, die man "Überall" nachzulesen/ergooglen kann.
TSE Beschaltung fehlt!!! Kompensation von Oberwellen die den Triac zerstören könnten!
Beitrag #5070889 wurde von einem Moderator gelöscht.
Bitte melde dich an um einen Beitrag zu schreiben. Anmeldung ist kostenlos und dauert nur eine Minute.
Bestehender Account
Schon ein Account bei Google/GoogleMail? Keine Anmeldung erforderlich!
Mit Google-Account einloggen
Mit Google-Account einloggen
Noch kein Account? Hier anmelden.
