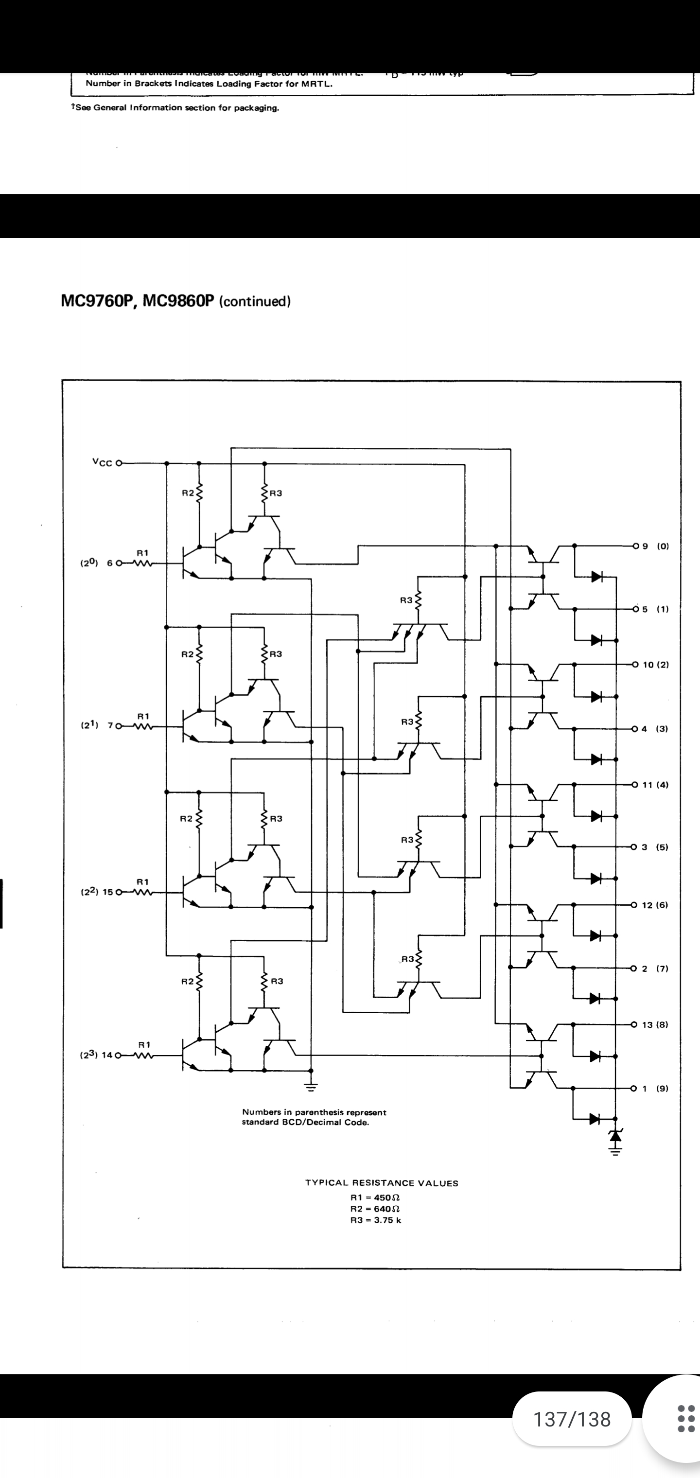
Ich habe mir ein Heathkit im-102 multimeter als defekt gekauft. Das einzige was defekt ist ist aber ein mc9860p decoder Chip für eine nixie röhre. Da es diesen Chip jedoch nicht zu kaufen gibt, halte ich momentan ausschau nach Alternativen. Ich habe bereits den k155d1 gefunden, jedoch sind dort alle Signale umgedreht (1111 = 1. Ausgang an anstatt 0000 =1. Ausgang an) Wenn jemand eine bessere Alternative kennt würde ich mich über eine Antwort freuen. (Angehängt ist das Datenblatt des mc9860p)
Bitte melde dich an um einen Beitrag zu schreiben. Anmeldung ist kostenlos und dauert nur eine Minute.
Bestehender Account
Schon ein Account bei Google/GoogleMail? Keine Anmeldung erforderlich!
Mit Google-Account einloggen
Mit Google-Account einloggen
Noch kein Account? Hier anmelden.
