Hallo, möchte mir einen eignen CAN Knoten aufbauen und habe dazu an einen 8-bit uC (Atmel ATmega16) einen mcp2515 gehängt. Als Treiber würde ich gerne einen PCA 82C250 T verwenden (alle Teile bei Reichelt erhältlich). Im Datenblatt des PCA 82C250 T findet sich auch eine Schaltung zur galvanischen Trennung. Dazu hätte ich ein paar Fragen: 1) Welcher Optokoppler in SMD Bauform würde passen? 2) Was bringt der Koppler an der Stelle? 2a) Der Koppler und Treiber danach haben die gleiche Spannungsversorgung wie der CAN Controller und der uC, insofern ist das doch völlig witzlos... Oder übersehe ich da was? Frohes Neues, Dirk
Moin, 1) HCPL0201 2) Nein, du übersiehst nichts. Abtrennung der Versorgung ist auch nötig. Ein kleiner, trennender DC-DC-Wandler (1-5W) ist nötig. Der braucht nichtmal stabilisiert zu werden. Ist keine Low-Cost-Lösung die ich dir vorschlage (vorallem 1), aber sie funktioniert zuverlässig. Bastler
P.S.: Beim HCPL0201 brauchst du die ganzen Widerstände nicht mehr. Das Ding kriegt 5V-TTL rein und gibt TTL wieder raus.
2a) Ja du übersiehst was ;) Also Vdd/Vss und 5V/0V sind schon was anderes. Sie müssen eben mit dem besagten DC/DC Wandler getrennt werden. Sonst würde der Optokoppler ja nichts bringen. (Aber so meinte Bastler das wohl auch ?)
Hallo, vielen Dank für eure Antwort. Dachte GND und 5V wird durchgeschliffen. Deshalb ergab das für mich überhaupt keinen Sinn. Prost Neujahr ;=) Dirk
Hi, zu früh gefreut: - für die Trennung der 5V sollte dann ja SIM1-0505 SIL4 (Reichelt, einfacher 1W DC/DC Wandler, bis 1KV isoliert) ausreichen. - der Koppler ist bei Reichelt nicht verfügbar, habe ihn jetzt nur für 6,95 pro Stück (exkl. Versand) gesehen. Glaube da suche ich lieber noch mal und baue die Ansteuerung mit diskreten Bauteilen... Dirk
Letzter Nachtrag für heute: Schnauze voll, galv. Trennung wird überbewertet ;=) Ernsthaft: Reichelt schreibt bei seinen Artikeln nichts zur Bauform, lt. Datenblättern gibt es aber einige Typen die als SMD und/oder DIL zu haben sind => wenig Lust das Layout zu machen, Leiterplatte zu ätzen und dann ein Überraschungspaket zu bekommen... Also: galv. Trennung ist (hoffentlich) für einen ersten Demoaufbau unnötig, geht mit ja auch erst mal nur darum ein paar Nachrichten hin und her zu schicken. Dirk
Also selbst im Automotive Bereich wird meistens nicht galvanisch getrennt. Fuer ein paar Nachrichten ist das wirklich nicht noetig. Vieleicht schau mal ob du nicht einen anderen Treiber bekommst als den PCA 82C250. Wenn mich nicht alles taeuscht ist der nicht mehr ganz frisch... Gruesse
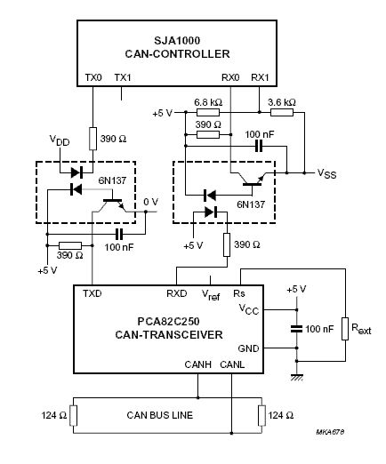
galv. Trennung wird wirklich nur benötigt, wenn der uC vom CAN-Bus getrennt werden soll. Zu den Thema gab es auch schonmal einen schönen Artikel in der Elektor, die haben dort eine CAN-ISA-Karte gemacht, wo man den Transceiver auch vom ISA-Bus getrennt hat. Siehe: http://www.elektor.de/jahrgang/2001/januar/can-adapter-fur-isa-bus.59342.lynkx Dort wurde als Optokoppler der 6N137 verwendet, wie auch in deinem gif. Über alldatasheet hab ich den HCPL 0601 in SMD (Reichelt: http://www.reichelt.de/?ARTICLE=76147 ) als Ersatz für mich ausgemacht. Wenn man mit Optokopplern arbeitet kann man auch sich die Betriebsspannung für den Opto und den Transceiver aus dem CAN-Bus nehmen, der ja nach CIA auch eine Spannung führen sollte. Dafür hab ich auch mir mal einen Schaltplan erstellt (siehe Anhang), dieser ist so ausgeführt, das ich als mit Opto oder konventionell bestücken kann (ist eine Versuchsplatine). Da die Platine noch nicht aufgebaut ist, kann ich für die Funktionalität des Schaltplans keine Gewähr geben. MfG Wolfgang
Hallo, Ich verwende die iCopler von Analog-Device (ADuM1201) für die galvanische Trennung, die brauchen weniger Strom als Optokoppler. Siehe Schaltplan des Tiny-CAN II Moduls, ein USB-CAN Adapter mit galvanischer Trennung. Gruß Klaus
Also meiner Meinung nach wird im Auto ueberhaupt nicht galvanisch getrennt. Habe ich bisher noch nie gesehen... Kosten ... Obwohl die Spannungsversorgung immer als das schlimmste betrachtet wird... Habe mal fuer eine Automationsfirma gearbeitet, die haben Buehnentechnik gemacht, elektische / hydraulische Antriebe, SPS, Single Board Compter usw. und haben CAN bis zu einer Leitungslaenge von ca 250m gehabt... auch keine galvanische Trennnung gehabt... Sind die Treiber da auch nicht irgendwie fuer vorgesehen? Gruesse
Bitte melde dich an um einen Beitrag zu schreiben. Anmeldung ist kostenlos und dauert nur eine Minute.
Bestehender Account
Schon ein Account bei Google/GoogleMail? Keine Anmeldung erforderlich!
Mit Google-Account einloggen
Mit Google-Account einloggen
Noch kein Account? Hier anmelden.

