Hallo Elektroniker, ich möchte in der Zuleitung zu einer Elektrikbaugruppe den Strom messen und bei Überstrom ein Signal ausgeben. Die Betriebsspannung des Modules ist 12 oder 24 Volt. Der Strom geht bis maximal 6 A. Die Strommessung muss nicht besonders genau sein. +- 50 - 100 ma sollte genügen. Hab Lösungsansätze: INA 138 + nachgeschaltetem Schmidt Trigger (teuer, vielleicht etwas übertrieben) Differenzverstärker aus OP + Schmidt Trigger (welcher OP ?) Habt ihr vielleicht noch andere Ideen ? High Side wär nicht schlecht. Danke ! Thomas
Hallo, vielleicht daer ACS760 von Allegro. Allegro hat auch noch ander Hall-Effekt basierte Stromsensoren im Angebot. Einige bekommt man bei Farnell, z.T. mit 20€ Aufschlag, wenn es von USA eingeflogen wird. Es gibt aber auch deutsche Distributoren, bei denen man kostenlose Muster bestellen kann. Gruß Matthias
LTC6104 - gibts im nur im MSOP- Gehäuse LMP827x (National) sim SO8 geht für Low und Highside. Die kann man auch als Sample schnorren. Es geht aber auch mit einer standard OPV Schaltung wenn es nicht so genau sein muss, sind ja nur max 24V. INA ist für diesen Zweck völlig überzogen.
Hallo ! Danke für die Antworten ! @derwarze: Sache mit OPV bin ich auch dran. Hast du vielleicht ne kleine Skizze für mich ? Danke!
Hab ich, find nur hier auf die Schnelle nur die Lowsidevariante. Ich schau mal nach und kanns Morgen posten.
Kannst ja die Lowside Variante auch mal posten. Danke für eure Mühe
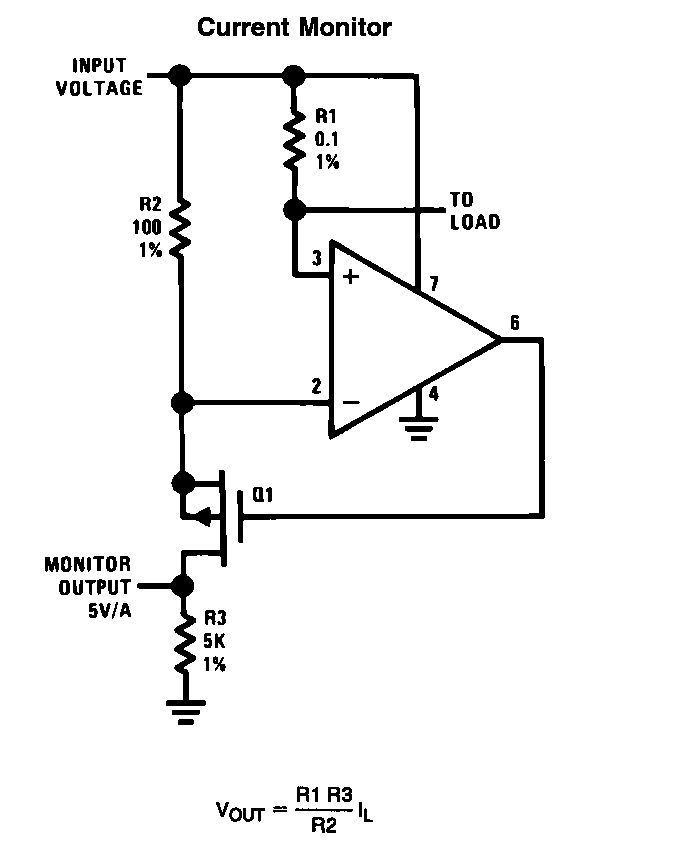
Hallo Die Lowside ist ja einigermassen einfach. Da reicht ein einfacher nicht invertierender Verstärker wenn der Strom nur in eine Richtung fliesst. Die HighSide Schaltung ist im Anhang. Muss natürlich nach den jeweiligen Gegebenheiten angepasst werden.
Bitte melde dich an um einen Beitrag zu schreiben. Anmeldung ist kostenlos und dauert nur eine Minute.
Bestehender Account
Schon ein Account bei Google/GoogleMail? Keine Anmeldung erforderlich!
Mit Google-Account einloggen
Mit Google-Account einloggen
Noch kein Account? Hier anmelden.
