Wie kann ich einen Shunt in der positiven Zuleitung messen? Es geht um Shuntspannungen von 0 volt bis 1 volt und um Betriebsspannungen bis 40 Volt. Eine Messung in der negativen Zuleitung ist leider nicht Möglich. Ich brauche einen Differenzverstärker, der mir die Spannung möglichst genau "runter holt", damit ich sie gegen GND mit meinen ADC messen kann. Gesucht ist ein integriertes Bauteil oder eine einfache Schaltung.
Servus schau dir mal die Bauteile von Zetex an. z.B. Zxct1009 Gruß Pentagonchicken
INA138 und 168 sehen gut aus, jetzt brauche ich das nur noch in groß (DIP-8 wäre nett). Die Prinzipschaltung sieht ja extrem simpel aus. Könnte man ja fast diskret aufbauen - wenn man von OPs Ahnung hätte.
>wenn man von OPs Ahnung hätte. prinzipiell geht das auch, wenn du einen findest, der die spannungen (an u+ und u-) ab kann. >(DIP-8 wäre nett) bist du deppert? ;-) Sei froh, dass die, ja so relativ klein sind..
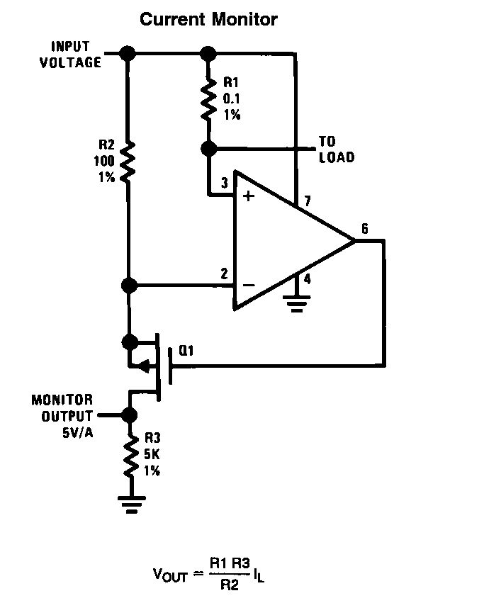
der LTC6104 hält die Spannung locker aus, ebenso der LMP8271 (im SO8 recht handlich). Die gibt es wie die meissten neuen Teile nicht in DIL. Wie es mit OPV geht siehe Bild.
Bitte melde dich an um einen Beitrag zu schreiben. Anmeldung ist kostenlos und dauert nur eine Minute.
Bestehender Account
Schon ein Account bei Google/GoogleMail? Keine Anmeldung erforderlich!
Mit Google-Account einloggen
Mit Google-Account einloggen
Noch kein Account? Hier anmelden.
