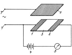
Moin moin, ich muss grad ein Essay über Oskar Heil schreiben und seine Erfindung, der FET. Leider ist verdammt wenig über Oskar Heil bekannt (nicht mal genaues Geburtstdatum) und ich finde leider keine Dokumentation über seinen "altertümlichen" FET. Hab ihn mal angehängt. Zwischen den beiden Platten wird wohl eine hohe Wechselspannung angelegt, sodass ein elektrisches Feld entsteht. Was ist nun die Schicht 3? Ein p-dotierter Bereich? Würde ja quasi sinn ergeben, aber dann ergibt die Wechselspannung keinen Sinn. Also klar... sobal das Gate (also die obere Platte) ne genügende Spannung hat, schaltet die Platte durch... Aber erklär mir das mal bitte einer. Danke schon mal ;)
Hast du Heils Patentschrift gelesen? Da ist das Ganze recht ausführlich erklärt, wenn auch in etwas schwer lesbarem Patentenglisch.
Nö, hab ich nicht. Ich wüsste auch grad nicht woher. Anscheinend hast du es ja gefunden. ~google~ dumm :) es tut mir leid... gefunden ;) Trotzdem vielen Dank für den Tipp
Okay... gelesen, 60% verstanden. Grundprinzip ist da. Nun meine "zweite" Frage. Kann man das nachbauen? Also quasi in ner Vorlesung? Was für eigenschaften müssen die einzelnen Platten haben? Was für eine Wechselspannung muss man anlegen? Hochfrequent? Hohe Spannung? Hoher Strom? Ich mag es nicht ausschließen, dass es in der Patentbeschreibung ist, aber die ist auf französisch und nein? :D Dazu müsste ich ne Freundin fragen, die glaub ich auf sowas keine Lust hast. Hat jemand erfahrung damit? Merci beacoup ;)
Marcel Hellwig schrieb: > Leider ist verdammt wenig über Oskar Heil bekannt (nicht mal genaues > > Geburtstdatum) Ein Anruf im Rathaus seines Geburtsortes Langwieden, und Du kannst evtl. sein Geburtsjahr 1908 um das genaue Datum ergänzen. Sein exaktes Sterbedatum entnimmst Du der Homepage des Ortes. > .. französisch und nein? :D Dazu müsste ich ne Freundin > fragen, die glaub ich auf sowas keine Lust hast. Dir ist die Zweideutigkeit Deines Statements bewußt?
tut mir leid über diese zweideutigkeit... man kennt das ja ;) passiert eben so :D Nein also btp: wie müssten diese Platten beschaffen sein und was für eine Spannung ist anzulegen. Nach dem motto, versuchs mal, will ich grade nicht gehen :D
Marcel Hellwig schrieb: > Nö, hab ich nicht. Ich wüsste auch grad nicht woher. Entschuldige, dass ich keinen Link mitgeliefert habe. Er ist in den Wikepdeia-Artikeln http://de.wikipedia.org/wiki/Oskar_Heil http://en.wikipedia.org/wiki/Oskar_Heil ganz unten bei den Einzelnachweisen bzw.References zu finden: http://v3.espacenet.com/publicationDetails/biblio?CC=GB&NR=439457 Da Wikipedia in solchen Fragen für mich immer eine der ersten Anlaufstellen ist, dachte ich, die hättest die Patentschrift längst gefunden, aber entweder nicht gelesen oder nicht verstanden ;-) > Ich mag es nicht ausschließen, dass es in der Patentbeschreibung ist, > aber die ist auf französisch und nein? Englisch ist nicht ganz so schwer (s.o.).
Bitte melde dich an um einen Beitrag zu schreiben. Anmeldung ist kostenlos und dauert nur eine Minute.
Bestehender Account
Schon ein Account bei Google/GoogleMail? Keine Anmeldung erforderlich!
Mit Google-Account einloggen
Mit Google-Account einloggen
Noch kein Account? Hier anmelden.
