Hallo, schönen abend ;) Ich interessiere mich sehr für fm-sender-und empfänger.. bin ich im web mehrfach auf diesen 1-transistor sender gestoßen und hab mich gefragt, wie DA die frequenqmodulation zustandekommt. bei der Frequenzmodulation wird ja die amplitude durch die frequenzänderung ausgedrückt, so frag ich mich, wie kann man diese frequenzänderung verstärken und abschwächen. ( ich habe etwas ahnung von schaltungstechnik, doch bruahc ich einen echten checker, der mir das wenn möglich recht ausführlich erklärt. Danke im vorraus =D
Das Kapazitive Mikrofon ist Teil des Schwingkreises. So erfolgt die Frequenzänderung, wenn man ins Mikrofon spricht.
Jackenkoffer schrieb: > Ich interessiere mich sehr für fm-sender-und empfänger.. bin ich im web > mehrfach auf diesen 1-transistor sender gestoßen und hab mich gefragt, > wie DA die frequenqmodulation zustandekommt. Durch Änderung der Kapazitäten im Transistor (Kapazitätsdiodeneffekt). Letztlich wird es eine gemischte FM mit AM-Anteil werden. Generell sind solche 1-Transistor-Sender mit freilaufendem Schwing- kreis nicht wirklich brauchbar, außer vielleicht als Mini-Wanze für einen Geheimdienst oder so, der sich um die Einhaltung von Gesetzen ohnehin nicht schert. Die Teile sind einfach säuisch handempfindlich, und die Oberwellenunterdrückung ist miserabel.
paul schrieb: > Das Kapazitive Mikrofon ist Teil des Schwingkreises. So erfolgt die > Frequenzänderung, wenn man ins Mikrofon spricht. Denke eher nicht, die Basis ist HF mässig geerdet. Die Frequenzmodulation kommt durch geringfügige Änderungen der Kapazität der CE-Strecke im Takt der Modulation zustande
und wozu ist die 4,7pF kapazität ?! hab persönlcih "mäßige" Erfahrung mit diesem sender, hat einmal funkiioniert, ein weieres mal bauen leider nicht ... also würde die frequenzänderung sich theoretisch verstärken, wenn ich eine varicap zwischen basis und emitter schalte ? MFG
Ein Teil der Energie des Schwingkreises wird durch diesen Kondensator auf den Emitterwiderstand übertragen und sorgt so für die nötige phasenrichtigen Mitkopplung.
Habe diese Schaltung auch schon paar mal gesehen. Wäre echt gut wenn einer die Schaltung kurz beschreiben könnte. Vorallem wie da durch die Antenne was abgestraht wird. Denn hier schaut das ein bisschen anders aus: http://www.elektronik-kompendium.de/sites/kom/0810171.htm Bei der Schaltung hängt einfach Draht am Schwingkreis als Antenne und das funktioniert?
Jackenkoffer schrieb: > also würde die frequenzänderung sich theoretisch verstärken, wenn ich > eine varicap zwischen basis und emitter schalte ? Kollektor und Basis, denn diese ist in Sperrichtung vorgespannt. whocares schrieb: > Wäre echt gut wenn > einer die Schaltung kurz beschreiben könnte. Es handelt sich um einen sogenannten Frequenzbesen. :-(
also bei mir klappts... gute 20-70 meter reichweite =) ich hab bei elko nachgekukkt, aber keine schaltung gefunden
Jackenkoffer schrieb: > gute 20-70 meter reichweite =) Mit dem Küchenradio. Mit einem empfindlichen Empfänger sicher auch ein paar Kilometer …
Jörg Wunsch schrieb: > Es handelt sich um einen sogenannten Frequenzbesen. :-( soll das ein Ausdruck für einen Sender sein der viele Oberwellen erzeugt? :D Ich wollte ja nur wissen wie das mit der Antenne funktioniert.
whocares schrieb: > soll das ein Ausdruck für einen Sender sein der viele Oberwellen > erzeugt? :D Nein, sondern für einen Sender, der so instabil ist, dass er einen ganzen Frequenzbereich zumüllt und damit die anderen Nutzer dort "rauskehrt". > Ich wollte ja nur wissen wie das mit der Antenne funktioniert. Wie bei jeder anderen Antenne auch: ihr wird eine HF-Spannung zugeführt, und die strahlt sie (im Rahmen ihrer Möglichkeiten) ab.
Jörg Wunsch schrieb: > Nein, sondern für einen Sender, der so instabil ist, dass er einen > ganzen Frequenzbereich zumüllt und damit die anderen Nutzer dort > "rauskehrt". Okay ;-) Jörg Wunsch schrieb: > Wie bei jeder anderen Antenne auch: ihr wird eine HF-Spannung > zugeführt, und die strahlt sie (im Rahmen ihrer Möglichkeiten) ab. Hast du vll einen Link Tipp wo das etwas genauer beschrieben wird? Lieg ich in der Annahme richtig das die Antenne die HF-Spannung durch die Kapazitive Kopplung der Antenne(in diesem Fall wohl ein Lambda/4 Drahtstück) zur Masse bekommt? Weil die Antenne ist ja nur 1polig mit der Schaltung verbunden.
ya schrieb: > Weil die Antenne ist ja nur 1polig mit > der Schaltung verbunden. Ein Monopol (Viertelwellenstrahler) ist stets nur einpolig mit der Schaltung verbunden. Der Gegenpol ist die Erdfläche (englisch: Groundplane), die mit der Schaltungsmasse verbunden ist. Im Zweifelsfalle entsteht diese Verbindung nur rein kapazitiv, was zwar den Wirkungsgrad gegenüber einer ordentlichen Erde verschlechtert, aber trotzdem noch zu einer Abstrahlung führt.
Hallo, so ganz praktisch: solch ein Sender spielte ausgezeichnet vor mittlerweile Jahrzehnten. Transistor dürfte ein GF131 gewesen sein, freitragend verdrahtet. Stromversorgung weiß ich nicht mehr, könnte Flachbatterie gewesen sein. Antenne eine Prüfschnur irgendwo festgeklemmt und der Sender hin freitragen in der Luft. "Gegengewicht"/Dipolhälfte war die NF-Zuleitung. Modulationsqualität war ausgezeichnet*. * ausgezeichnet heißt: es klang genauso, als wenn das damals schon recht alte Smaragd-Tonbandgerät direkt abgespielt wurde. ;-) Früher war das einfach die Frage: geht denn das? Mußte eben mal ausprobiert werden... Gruß aus Berlin Michael
@ Michael U. (amiga) Vor mehr als 40 Jahren hab ich sowas auch mal gebaut.Transistor war ein "Russe",Typ P 422 aus einem russ.Transistorradio "Alpinist".Die erstaunlich gute Modulationsqualität kann ich bestätigen.Die Reichweite war mehr als 1 Km (getestet mit einem Kofferradio "Stern Vagant").Als NF-Quelle diente ein Tonbandgerät "Uran" (tschechisch).
Wir haben damals in der Lehrausbildung das ganze Internat damit versorgt. Tagelang unser eigenes Radioprogramm gemacht. Sogar Rias2 auf 94,3 konnten wir damit im Gebäude platt machen. Nach Tagen fiel uns ein, dass auf dem Nachbargrundstück Polizei-und Feuerwache auch vielleicht Rias2 hören könnten. Dann haben wir die Sache schnell eingestellt.
Jörg Wunsch schrieb: > Mit dem Küchenradio. Mit einem empfindlichen Empfänger sicher auch > ein paar Kilometer … Hättest Du ein Beispiel für einen solchen Empfänger?
Ronny schrieb: >> Mit dem Küchenradio. Mit einem empfindlichen Empfänger sicher auch >> ein paar Kilometer … > > Hättest Du ein Beispiel für einen solchen Empfänger? Frag' doch mal bei der BNetzA nach. :-) Wenn du dich mal hier im Forum umsiehst, es gibt zwei oder drei Threads, in denen die derzeit benutzte Messtechnik der Frequenz- aufsichtsbehörde ein wenig dokumentiert ist.
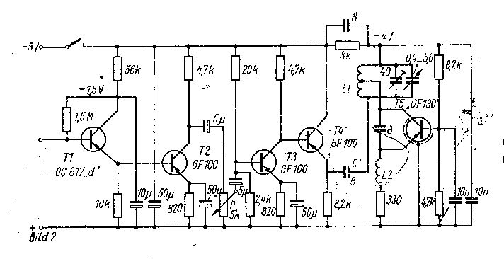
Hier mal ne FM-Senderschaltung(sogenanntes drahtloses Mkrofon) aus FUNKAMATEUR 12/1969. Der linke Teil ist eigentlich nur der Mikrofonvorverstärker. Im Beitrag wird erwähnt, dass der sich ändernde Innenwiderstand ausgenutzt wird, die Kapazität C`hat dadurch unterschiedlichen Einfluss auf den Oszillatorschwingkreis. Ich hatte damals diese Höllenmaschine allerdings ohne Vorverstärker aufgebaut, nur ein Tonbandgerät direkt angestöpselt. Auf meinem UKW-Kofferradio konnte ich in ca. 3km mindestens dreimal auf der Skala "meinen Sender" empfangen. Klasse..
Hier findet sich eine Fülle von Anregungen und auch zahlreiche Schaltungen zum Thema: http://www.adag.be/Elektronik/Minispione/Inhalt.html Es empfiehlt sich, den rot gedruckten Hinweis zu beachten ;-)
Bastler schrieb: > http://www.adag.be/Elektronik/Minispione/Inhalt.html Achja, Onkel Wahls lustige Taschenbücher waren eine nette Lektüre als Kind. Es muss wohl jeder mal Erfahrung mit solchen minimalst-Senderchen machen, die schon beim Anschauen ein paar MHz wandern ;-) Schade nur, dass er irgendwie den Anschluss an die moderne Technik verpasst hat, ein Buch über aktuelle Geheimdiensttechnik wäre sicher sehr spannend zu lesen.
Bitte melde dich an um einen Beitrag zu schreiben. Anmeldung ist kostenlos und dauert nur eine Minute.
Bestehender Account
Schon ein Account bei Google/GoogleMail? Keine Anmeldung erforderlich!
Mit Google-Account einloggen
Mit Google-Account einloggen
Noch kein Account? Hier anmelden.

