Ein Fluktuationsstrom schrotrauschender Natur wird in einen Hughes 4-fach Stromteiler geschickt... www.google.com/patents/US4973857 Current divider circuit - John B. Hughes der BEKANNTLICH*g* den hineingeschickten fluktuierenden Gesamtstrom von z.B. 2mA in 4 Ströme mit vorher definiertem Verhältnis teilen kann, z.B. Pfad 1 und 2 0,75mA, und Pfad 3 und 4 jeweils 0,25mA... UND DAS BEI VERÄNDERLICHEN Teilwiderständen! hier steigt der Nichtelektrotechniker schonmal zum ersten Mal aus, da ich mir kein 'hydrodynamisches Analogon' dazu ausmalen kann... Hier bei mir um die Ecke gibt es ein kleines Wasserkraftwerk... Ein Rohr von ca. 1,5m Druchmesser bei einer Fallhöhe von sagen wir 300m Höhe.. Falls ich das Patent richtig verstehe, tut die Schaltung etwas, was ungefähr dem folgenden entspräche: zur Vereinfachung sei angenommen dass der herunterfallende Wasserstrom in 4 gleiche Teile aufgeteilt werden soll... nehmen wir also an das Rohr teilt sich in 4 kleinere Rohre die die exakt gleiche Durchflußmenge bewältigen können... Falls nun aber plötzlich ein Rohr den Querschnitt um 2/3 vermindert, da die Impedanz aufgrund schlechter Kontaktqualität whatever zunimmt, so müßte jetzt an exakt dieser Stelle des Rohres dementsprechend die Spannung zunehmen, um durch den verminderten Querschnitt die exakt gleiche Wassermenge befördern zu können... der Punkt ist jetzt der, dass ja ein und derselbe große Hauptstrom aufgespaltet werden soll... was das Patent behauptet zu tun falls ich es soweit überhaupt verstehe... und hier beginnen so richtig die Verständnisschwierigkeiten... oder muss ich mir das so vorstellen, als ob jetzt etwas oberhalb des Stromteilers im Hauptrohr noch eine extra Hochgeschwindigkeits- bzw. Hochdruckspumpe angebracht wird, die mir einen Teil des herabströmenden Wassers 'auf Touren' bringt um für den verminderten Rohrquerschnitt zu kompensieren??? falls das so geht, entstehen natürliche hunderte Fragen nach dem genauen Vorgang dessen... aber noch interessanter ist die Überlegung nun, wie es um die aleatorischen Fluktuationen des vom Hauptstrom abgezweigten Teilstromes im um 2/3 verminderten Rohr nach dieser aktiven Pumpaktion durch den mosfet -oder was auch immer da schaltungstechnisch vor sich gehen mag- aussieht. wie im Titel schon angesprochen.. GEDANKENMODELL! bitte keine Anworten ala miss den Gesamstrom durchs Hauptohr und nimm 4 steuerbare Stromquellen... (und jede wohl noch mit einer Energieversorgung aus einem jeweils andren Kontintent) über erhellende Antworten wär ich wirklich dankbar!
So ganz nebenbei... ein Patent muss nicht funktionieren. Es beinhaltet im Wesentlichen eine Beanspruchung, einen Claim. Der kann aber voelliger Muell sein. Man muesste alles lesen...
Ich beschäftige mich nur mit Dingen ,Themen die mir nützlich sind. Manches theoretische was es so zum zerkauen gäbe schmeckt nicht und hat auch keinen Nährwert. Manches verhält sich auch wie Esoterik. Da sollte man daran glauben oder nicht ,aber nie versuchen hinter die Kulissen zu blicken....ist nämlich vergeudeten von Zeit in einem eh so kurzen Leben.;-) Wie komme ich zu dieser Ansicht? Habe ich beim aufstehen lernen müssen ,nachdem ich arg hingefallen war.
Sag mal muellst du jetzt das Forum voll? Hier Beitrag "passive stromteiler (emitter scaling)" hast du doch schon einmal nach so was gefragt. Die Antwort "Stromspiegel" bzw. "Current mirror" hat dir nicht gepasst, darum jetzt ein neuer Anlauf? Die Løsung ist eine Stromquelle pro Impedanz, fertig. Diese wird in gewissen Grenzen den Strom durch verschiedene Impedanzen treiben in dem sie, wie du richtig erkannt hast, die Spannung erhøht oder reduziert. Und diese Stromquellen lassen sich halt mich Stromspiegeln realisieren.
Vieleicht solltest du mit deinen Hochgeschindigkeits-Wasserpumpen und Reduzierstücken in Hydrauliker Forum gehen?
Spontan fällt mir Pascals Fassversuch ein, der ist auch konterintuitiv....
Bananen Joe schrieb: > Sag mal muellst du jetzt das Forum voll? > Hier Beitrag "passive stromteiler (emitter scaling)" hast du doch schon > einmal nach so was gefragt Auch hier: Beitrag "'Konstantstromquelle' mit extremen Schrotrauschfluktuationen" hat er schon gefragt. Und nach, wie vor werde ich nicht schlau daraus, was er eigentlich will. LG Christian
What the f... sind Schrotrauschfluktuationen? Ich glaub manche hören sich nur gern reden bzw. sehen sich gern schreiben... Wenn ich in einem pyroklastischen sulfatierungs Holokopter eine rechtsdrehende Retikulumreaktion auslöse, wird dann der polygonale Abbrationsfaktor in zirkulare Fehlströmungen umgewandelt, oder erhält sich durch die potkletnov´schen Theoreme die Gesamtströmung in linearen Abwandlungen der Gesamtenergie?
herbert schrieb: > Ich beschäftige mich nur mit Dingen ,Themen die mir nützlich sind. > Manches theoretische was es so zum zerkauen gäbe schmeckt nicht und hat > auch keinen Nährwert. > Manches verhält sich auch wie Esoterik. Da sollte man daran glauben oder > nicht ,aber nie versuchen hinter die Kulissen zu blicken....ist nämlich > vergeudeten von Zeit in einem eh so kurzen Leben.;-) > Wie komme ich zu dieser Ansicht? Habe ich beim aufstehen lernen müssen > ,nachdem ich arg hingefallen war. danke für den ehrlichen input... ich weiss schon dass DENKEN systematisch unterbunden wird. und einem die größte inkompetenz sowie korrumpierbarkeit den höchsten nährwert veschafft... in dieser mosaischen matrix
UR-Schmitt schrieb: > Vieleicht solltest du mit deinen Hochgeschindigkeits-Wasserpumpen und > Reduzierstücken in Hydrauliker Forum gehen? vielleicht solltest du einfach nur mitdenken wenn ich schon solch ein analogon zusammenbringe
Bananen Joe schrieb: > Sag mal muellst du jetzt das Forum voll? > Hier Beitrag "passive stromteiler (emitter scaling)" hast du doch schon > einmal nach so was gefragt. Die Antwort "Stromspiegel" bzw. "Current > mirror" hat dir nicht gepasst, darum jetzt ein neuer Anlauf? exakt! > Die Løsung ist eine Stromquelle pro Impedanz, fertig. NEIN ist es eben nicht! Es ist EIN Strom anteilsmäßig aufzuteilen... anstelle der euch so aufregenden Fluktuationen hätt ich vielleicht als Analogon schreiben sollen gefärbtes Wasser... und ich will das eine speziell gefärbte Wasser anteilsmäßig aufteilen. und es hilft mir frei wenig, wenn du die die Durchflußmenge des gefärbten Wassers bestimmst, und dieses durch 4 kleinere Ströme ersetzt, jeweils gepseist aus verschiedenen Quellen/Bächen.. ist das so schwer zu überzuckern? > Diese wird in > gewissen Grenzen den Strom durch verschiedene Impedanzen treiben in dem > sie, wie du richtig erkannt hast, die Spannung erhøht oder reduziert. > Und diese Stromquellen lassen sich halt mich Stromspiegeln realisieren.
UR-Schmitt schrieb: > Vieleicht solltest du mit deinen Hochgeschindigkeits-Wasserpumpen und > Reduzierstücken in Hydrauliker Forum gehen? sollte ich offenbar, um eine Antwort auf diese triviale Frage zu bekommen! hier jedenfalls rechne ich mit keiner kompetenten Antwort mehr!!!!
Stefan M. schrieb: > What the f... sind Schrotrauschfluktuationen? > Ich glaub manche hören sich nur gern reden bzw. sehen sich gern > schreiben... > > Wenn ich in einem pyroklastischen sulfatierungs Holokopter eine > rechtsdrehende Retikulumreaktion auslöse, wird dann der polygonale > Abbrationsfaktor in zirkulare Fehlströmungen umgewandelt, oder erhält > sich durch die potkletnov´schen Theoreme die Gesamtströmung in linearen > Abwandlungen der Gesamtenergie? ich soll mich gern reden hören? wer von uns beiden bröckelt so etwas heraus? > Wenn ich in einem pyroklastischen sulfatierungs Holokopter eine > rechtsdrehende Retikulumreaktion auslöse, wird dann der polygonale > Abbrationsfaktor in zirkulare Fehlströmungen umgewandelt, oder erhält > sich durch die potkletnov´schen Theoreme die Gesamtströmung in linearen > Abwandlungen der Gesamtenergie? dazu hätte ich die Zeit schon gar nicht
Hajo K. schrieb: > sollte ich offenbar, um eine Antwort auf diese triviale Frage zu > bekommen! > hier jedenfalls rechne ich mit keiner kompetenten Antwort mehr!!!! Was können wir dafür, das du an solchen trivialen Inhalten scheiterst. ;)
Nachtaktiver schrieb: > Hajo K. schrieb: >> sollte ich offenbar, um eine Antwort auf diese triviale Frage zu >> bekommen! >> hier jedenfalls rechne ich mit keiner kompetenten Antwort mehr!!!! > > Was können wir dafür, das du an solchen trivialen Inhalten scheiterst. > ;) na dann gib mal die antwort ... wie sieht es mit den fluktuationen im dünner gweordenen rohr aus? und ich frag eh schon nicht wie es damit aussieht währenddessen sich die impedanz verändert.... also raus mit der sprache oberschlaumeier
Mein Beitrag war schon a bisserl scherzhaft gemeint, wenngleich nicht ganz ohne Zynismus. Was ich sagen wollte: Du haust Deine Frage in´s Forum, alsob jeder gleich wüsste wovon Du sprichst! Wenn Du von Schrotrauschen und Hughes Stromteilern schreibst, solltest Du der Allgemeinheit ( dem Forum ) evtl. doch mal mitteilen, was das alles eigentlich ist. Ich weiß es bis jetzt nicht... und werde auch nicht danach googlen, um zu schauen ob ich eine Antwort auf Deine Frage basteln kann. Daher habe ich das Gefühl, dass solche Fragen nur ein Testballon sind, um mal zu schauen, wer hier eigentlich schon weiss wovon Du redest... evtl. habe ich da ja eine Bildungslücke, aber ich vermute, dass <<< 1% wissen, wovon Deine Frage handelt...
Man erkennt es bereits am sturen Dauerkleinschreiben. Das war vor 30 Jahren mal in, heute ist es out!
Schrotrauschen wird durch den Stromteiler zusätzlich erzeugt! In wie weit gibt sich eine Relavanz in deinem gedanklichem Experiment? Und warum kommst du zu uns mit einem Hydraulischem Analogon, wenn du direkt in der Stromwelt bleiben könntest. Jeder der Ahnung von Schrotrauschen und dem von dir verlinkten Patent hat steigt aus, wenn es um Wasserkraft geht, weil er davon soviel Ahnung hat wie der Hydrauliker von Schrotrauschen und dem Patent. Die Ellis fangen an zu lesen und hören dann auf und die Hydris fangen gar nicht erst an. Ich selbst stell mir Hydraulik immer als Spannung und Strom da, sehr zum Leidwesen der Maschinenbauer.
> zur Vereinfachung sei angenommen dass der herunterfallende > Wasserstrom in 4 gleiche Teile aufgeteilt werden soll... Schlechtes Beispiel! Nehmen wir mal an, das Wasser wird durch eine Drehschieberpumpe mit konstanter Drehzahl gefördert und Wasser sei nicht kompressibel. Der Gesamtvolumenstrom wäre dann konstant. Wird jetzt der Querschnitt von Rohr 1 verringert, erhöht sich der Druck vor dem Wasserteiler, bis der Wasserstrom erneut den Gesamtwiderstand der vier Rohre überwindet. Dadurch fließt durch die drei anderen Rohre jetzt mehr Wasser als zuvor, aber die Summe ist nach wie vor gleich.
Ich denk mit einem Fluxkompensator sollte es gehen. Der kann noch einiges mehr.
B e r n d W. schrieb: > Wird jetzt der Querschnitt von Rohr 1 verringert, erhöht sich der Druck > vor dem Wasserteiler, bis der Wasserstrom erneut den Gesamtwiderstand > der vier Rohre überwindet. Dadurch fließt durch die drei anderen Rohre > jetzt mehr Wasser als zuvor, aber die Summe ist nach wie vor gleich. Es geht ganz einfach: Das Produkt von Fließgeschwindigkeit mal Druck ist an jeder Stelle konstant.
> Es geht ganz einfach: Das Produkt von Fließgeschwindigkeit > mal Druck ist an jeder Stelle konstant. Hallo Falk Ich bin mir nicht sicher, ob das für diesen Fall hier gilt. Stell Dir jeweils eine Blende auf halber Strecke in jedem der vier Röhren vor. Die Strömungsgeschwindigkeit ist nur genau innerhalb der Blende höher, die Fließgeschwindigkeit vor und nach der Blende ist identisch, der Druck aber nicht.
>Es geht ganz einfach: Das Produkt von Fließgeschwindigkeit mal Druck >ist an jeder Stelle konstant. Sieh dir besser mal die Bernoulli-Gleichung an: http://de.wikipedia.org/wiki/Bernoullische_Energiegleichung
> Hallo Falk
Falscher Fehler, eigentlich wollte ich "Hallo Abdul K." schreiben.
Abdul K. schrieb: > Man erkennt es bereits am sturen Dauerkleinschreiben. Das war vor 30 > Jahren mal in, heute ist es out! in - out... wer diktierts grad??? bibi netanyahu ???
Ha schrieb: > Schrotrauschen wird durch den Stromteiler zusätzlich erzeugt! > In wie weit gibt sich eine Relavanz in deinem gedanklichem Experiment? > Und warum kommst du zu uns mit einem Hydraulischem Analogon, wenn du > direkt in der Stromwelt bleiben könntest. aber in einem bereich der gegenüber den +/-10% fluktuationsschwankungen vernachlaessigbar klein ist.... behaupte ich jetzt mal wider bessren wissens... ob überhaupt eine stromquelle in einem guß mit diesem großen rauschen erzeugt werden kann, ohne an einen halbleiterphysiker heranzutreten um ein extrem unsauberes bauteil zu erhalten, ist halt fraglich... (antwort darauf wär super übrigens... ) > Jeder der Ahnung von Schrotrauschen und dem von dir verlinkten Patent > hat steigt aus, wenn es um Wasserkraft geht, weil er davon soviel Ahnung > hat wie der Hydrauliker von Schrotrauschen und dem Patent. ich bade halt eher in wasser als in strom... insofern ist mir das halt am nächsten dann... unter der dynamischen natur des elektrischen stromes kann ich mir nicht sehr viel vorstellen... mit wasser kanns halt auch der laie nachvollziehen > Die Ellis fangen an zu lesen und hören dann auf und die Hydris fangen > gar nicht erst an. > > Ich selbst stell mir Hydraulik immer als Spannung und Strom da, sehr zum > Leidwesen der Maschinenbauer. ;-)
B e r n d W. schrieb: >> zur Vereinfachung sei angenommen dass der herunterfallende >> Wasserstrom in 4 gleiche Teile aufgeteilt werden soll... > Schlechtes Beispiel! > > Nehmen wir mal an, das Wasser wird durch eine Drehschieberpumpe mit > konstanter Drehzahl gefördert und Wasser sei nicht kompressibel. Der > Gesamtvolumenstrom wäre dann konstant. > > Wird jetzt der Querschnitt von Rohr 1 verringert, erhöht sich der Druck > vor dem Wasserteiler, bis der Wasserstrom erneut den Gesamtwiderstand > der vier Rohre überwindet. Dadurch fließt durch die drei anderen Rohre > jetzt mehr Wasser als zuvor, aber die Summe ist nach wie vor gleich. danke erstmal für die beteiligung am gedankenexperiment... dessen ziel es eigentlich ist eine spezifikation zu erstellen... mit der man sich dann an jemanden von der elektrotechnikfakultät wenden kann und sagen BAU MIR! und die spezifikation lässt schonmal keine diskussionen zu... wie z.b. die summe ist doch nach wie vor gleich etc. stell dir vor du musst in gewissen arealen eine bestimmte ladungsmenge durchtreiben.... sprich am ende der sich dynamisch aendernden rohrdurchmesser hast du für jedes ein extra wasserbecken... und der füllstand sollte in jedem dann exakt gleich hoch sein... und das wasser muss desselben ursprunges sein... darum gehts und das patent spricht von einem signalstrom, im gegensatz zu einem bloss versorgungsstrom... bei dem es egal ist, von wo her du ihn hinzubringst... danke auch fürs rauskopieren der schaltung... wenn mir jetzt noch jemand erklärte was das ding täte, bzw. ob der hier angesprochene signalstrom tatsächlich der analogie mit dem gefärbten wasser entspricht... dann wär ich eigentlich schon zufrieden... denn dann wäre es genau das was ich suchte...
Na Sowas schrieb: > Ich denk mit einem Fluxkompensator sollte es gehen. Der kann noch > einiges mehr. wie... unkreative einträge verhindern?
Hajo K. schrieb: > sollte ich offenbar, um eine Antwort auf diese triviale Frage zu > bekommen! > hier jedenfalls rechne ich mit keiner kompetenten Antwort mehr!!!! Was im Umkehrschluss heisst, daß du so inkompetent bist daß du dir die triviale Frage nicht mal selbst beantworten kannst. Hajo K. schrieb: > wie... unkreative einträge verhindern? Indem du deine geistigen Ergüsse für dich behältst? Cola und Popcorn
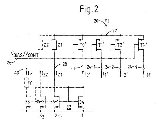
Das Patent beschreibt einen Stromteiler mit Mosfets. Da diese sehr genaue und stabile Größenverhältnisse W/L haben müssen, lässt sich das Prinzip praktisch nur auf einem IC anwenden. Durch die Entkopplung der Last mittels nachgeschalteten Stromspiegel(untere Transistoren) wird der Stromteiler der oberen Transistoren unabhängig von der Last. Das war es. Da alle Transistoren Rauschen addieren ist das SNR am Ausgang natürlich schlechter als das des Eingangsstrom. Nachtrag: Vergleiche mit Wasser in Röhren sind da völlig untauglich. Das einzig sinnvolle ist es Literatur über Mosfets zu studieren.
In einer einfachen Näherung kann man Strom und Spannung dem Fluss und dem Druck gleichsetzen. Sobald aber Felder eine Rolle spielen ist Ende mit dem Analogon. Strom fließt z.B. lieber am Rand eines Leiters, Wasser in der Mitte des Rohres. Stell dir mal Wechselwasser mit 50Hz schwappen vor ;)
Ha schrieb: > In einer einfachen Näherung kann man Strom und Spannung dem Fluss und > dem Druck gleichsetzen. > Sobald aber Felder eine Rolle spielen ist Ende mit dem Analogon. Strom > fließt z.B. lieber am Rand eines Leiters, Wasser in der Mitte des > Rohres. Stell dir mal Wechselwasser mit 50Hz schwappen vor ;) inkompressible vorstellen und weiter gehts
Helmut S. schrieb: > Das Patent beschreibt einen Stromteiler mit Mosfets. Da diese sehr > genaue und stabile Größenverhältnisse W/L haben müssen, lässt sich das > Prinzip praktisch nur auf einem IC anwenden. Durch die Entkopplung der > Last mittels nachgeschalteten Stromspiegel(untere Transistoren) wird der > Stromteiler der oberen Transistoren unabhängig von der Last. Das war es. > Da alle Transistoren Rauschen addieren ist das SNR am Ausgang natürlich > schlechter als das des Eingangsstrom. > > Nachtrag: Vergleiche mit Wasser in Röhren sind da völlig untauglich. Das > einzig sinnvolle ist es Literatur über Mosfets zu studieren. danke helmut... aber jetzt ohne von die funktionsweise nachvollziehen zu können, bin ich doch des lesens und wenigstens noch einiger syllogistischer figuren fähig. man lernt eben dass das geometrische verhältnis in mikrometer im analogen chipdesign direkt die SD impedanz des mosfets bestimmt... und diese geometrisch variiert dahingehend skaliert werden könne, um eben das gewüsnchte verhältnis zu ergeben. bloss steht im selben satz noch, dass identische transitoren parallel geschaltet werden könnten.. und obendrein beieht sich das patent nicht auf mosfets... da steht bipolar, FETs, etc. man kann alles nehmen das beispiel mit den 4 rohren hatte ich deshalb genommen, da es von ALD1107 einen matched quad baustein gibt.. der leider nur bis 12volt oder so geht .... aber egal.. es müssen ja eh keine mosfets sein... also im prinzip wenigstens müsste sich das diskret aufbauen lassen. die frage die sich mir jetzt auftut... ist das nur eine prinzipschaltung? das heisst gibt es noch jede menge bauteile drum rum..???? oder sind die paar p channel mosfets alles was nötig ist dazu?
Mit N gleich großen Transistoren geht das nur dann, wenn man entweder überall genau 1/N Aufteilung haben will oder man muss an einer Stelle mehrere parallel schalten, wenn man M/N haben will. Das Bild im Patent ist mehr als nur eine Prinzipschaltung sondern schon gleich eine praktikable Möglichkeit der Realisierung über das Verhältnis W/L. Dabei macht man bei allen Mosfets die Breite L gleich und stellt über die Länge W des Gates das Verhältnis W/L ein.
Helmut S. schrieb: > Mit N gleich großen Transistoren geht das nur dann, wenn man entweder > überall genau 1/N Aufteilung haben will das ist exakt was ich benötige.... es handelt sich um eine spezielle geometrische elektrodenanordnung, bei der gewährleistet sein muss, dass jedes areal unterm strich die exakt gleiche elektrizitätsmenge erhielt. stell dir z.b. ein quadrat mit 7cm kantenlänge vor, an den ecken und in der mitte jeweils eine ringelektrode, die in der mitte sei die kathode. der spezielle signalstrom soll jetzt geteilt werden auf die 4 aussenelektroden. > oder man muss an einer Stelle > mehrere parallel schalten, wenn man M/N haben will. Das Bild im Patent > ist mehr als nur eine Prinzipschaltung sondern schon gleich eine > praktikable Möglichkeit der Realisierung über das Verhältnis W/L. Dabei > macht man bei allen Mosfets die Breite L gleich und stellt über die > Länge W des Gates das Verhältnis W/L ein. das bild ist für den fachfremden jetzt weniger leicht zu verstehen... alles rechts von T0', also T1',T2' etc. ist uninteressant da es sich auf das teilen bei gleicher impedanz handelt... eben ein 'einfacher' stromspiegel ist nach fig.1 (prior art) mich hat also nur der linke teil davon, also current mirror circuit 32, zu interessieren... wobei ich dann aber sogleich feststellen muss, dass obige elektrodenplazierung damit gar nicht möglich ist... da die variable impedanz zwischen punkt 22 und source des mosfets liegt.... ich nun aber, wollte ich die 4 teilströme mit einer kathode aufnehmen, an den ausgang(drain) von z.b. 36-1 bis 36-4 die elektroden hängen müßte... was bestimmt nicht zulässig ist... korrekt?????
Bitte melde dich an um einen Beitrag zu schreiben. Anmeldung ist kostenlos und dauert nur eine Minute.
Bestehender Account
Schon ein Account bei Google/GoogleMail? Keine Anmeldung erforderlich!
Mit Google-Account einloggen
Mit Google-Account einloggen
Noch kein Account? Hier anmelden.
