Nabend, ich hätte da mal ein paar simple Fragen zu einer relativ einfachen Schaltung. Und zwar geht es gerade darum, ein neues Programm für einen älteren Controller zu schreiben - um das alte zu ersetzen. Der Controller läuft von P1.0 bis P1.7 direkt an die Bauteile/Schieberegister(?) HC373 und HC374 an die entsprechenden Pins. Also Q0 bis Q7 bzw. D0 bis D7. Frage 1: Sprechen wir hier von einer parallelen Einschiebung/Abfrage der Daten? (Weitere Fragen folgen, soll nach und nach gehen ..)
1 | Wenn Ja: |
2 | ---> Frage 2: Kann man den 373 und 374 auch seriell beschalten? |
3 | | |
4 | | |
5 | -- > Wenn Nein: |
6 | Frage 2a: Gab es damals schon diese Bauteile mit serieller Beschaltung? |
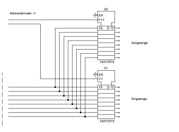
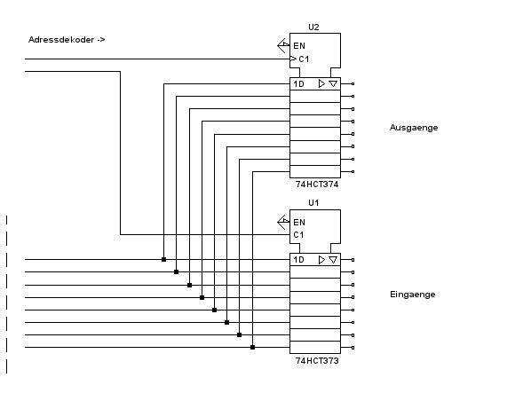
? Seriell, nein. Schau doch mal in ein Datenblatt. 373 vorzugsweise als "Ausgang" ,transparentes Latch. 374 vorzugsweise als "Eingang" ,flankengetriggert. erlaubt quasi einen Schnappschuss der anliegenden Daten.
>> an die entsprechenden Pins. Also Q0 bis Q7 bzw. D0 bis D7. > 373 vorzugsweise als "Ausgang" > 374 vorzugsweise als "Eingang" Sorry, anders herum! Zu lange her.
> Zu lange her.
Spaßeshalber, nicht nur angedeutet sondern in halbwegs korrekter
Darstellung, hadere aber noch mit Darstellungsformen (für Webseite,
simpel aber etwas aufwendig, mmh). Anyway, have fun.
Justus schrieb: > Frage 1: Sprechen wir hier von einer parallelen Einschiebung/Abfrage der > Daten? "Parallel" und "Einschieben" passt nun wirklich nicht zusammen. Da die Bausteine nur jeweils eine gemeinsame Leitung für die Datenübernahme haben, kann's ja wohl nur parallel passieren. > (Weitere Fragen folgen, soll nach und nach gehen ..) Tip: Die Scheibchentaktik ist hier im Forum nicht so beliebt
Bitte melde dich an um einen Beitrag zu schreiben. Anmeldung ist kostenlos und dauert nur eine Minute.
Bestehender Account
Schon ein Account bei Google/GoogleMail? Keine Anmeldung erforderlich!
Mit Google-Account einloggen
Mit Google-Account einloggen
Noch kein Account? Hier anmelden.

