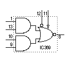
Im Dateianhang sind mehrere ICs mit Gattern zu sehen. Beim M5352 habe ich jedoch ein Problem. Die Anschlüsse 11 und 12 gehen hier in die Mitte des NOR-Gatters hinein. Anschluss 11 hat davor einen Schwarzen Punkt, Anschluss 12 einen weißen. Was sind das für Anschlüsse? Beim Schaltplan verwirrt mich das Zeichen ebenfalls (Siehe Bild 2). Hier gehen die beiden Anschlüsse als Kreis und als Pfeil von oben in das Symbol hinein.
Hier ist der komplette(?) Schaltplan, wo die Dinger verwendet werden. http://www.cs.ubc.ca/~hilpert/eec/calctd/Facit1123.pdf Da sieht man auch, dass das kein schwarzer Punkt, sondern ein Pfeil ist. Schlau werd ich allerdings auch nicht daraus. Ich finde da das Gatter nirgendwo in Benutzung.
Das können entweder Output enable sein oder (wahrscheinlicher) Expander-Eingänge. Mit den Eingängen und dem passenden Baustein (das sind KEINE DTL- oder RTL-Pegel!) ließen sich NANDs oder NORs mit mehr als 14 Pins aufbauen.
Die Pfeile symbolisieren die Emitter der Eingangs-/Ausganstransistoren nicht ganz 100%iger Ersatz für M5352 (als Beispiel für die speziellen Eingänge) http://www.panda-bg.com/datasheet/600-002225-TTL-74H53-TI.pdf Ersatz für M5304 http://www.unicornelectronics.com/ftp/Data%20Sheets/7460.pdf
Obi Wan schrieb: > Anschluss 11 hat davor einen Schwarzen Punkt, Dunkle Macht? > Anschluss 12 einen weißen. Weisse Macht? > Was sind das für Anschlüsse? Gruss Darth Vader
Hi >nicht ganz 100%iger Ersatz für M5352 (als Beispiel für die speziellen >Eingänge) Das 74er Equivalent ist der 7450. MfG Spess
Detlef Kunz schrieb: > Hier ist der komplette(?) Schaltplan, wo die Dinger verwendet werden. > ... > Ich finde da das Gatter nirgendwo in Benutzung. Also wird es da nun verwendet oder nicht? (es wird)
Detlef Kunz schrieb: > Ich finde da das Gatter nirgendwo in Benutzung. Seite 10 spess53 schrieb: > Das 74er Equivalent ist der 7450. Ok, das hailft mir schonmal weiter, danke. Helge A. schrieb: > oder (wahrscheinlicher) Expander-Eingänge. Dann scheinen es wohl Expandereingänge zu sein. Aber ich frage mich immer noch, was genau diese Expandereingänge bewirken?
Obi Wan schrieb: > Aber ich frage mich immer noch, was genau diese Expandereingänge > bewirken? => Datasheet SN7450.
A. K. schrieb: > => Datasheet SN7450. Ja, das habe ich auch schon gelesen, nur weiß ich nicht ob ichs richtig verstanden habe. Heißt das jetzt, dass die Eingänge X und X(neg.) (am Beispiel SN7450) einfach 2 weitere Eingänge vom OR-Gatter sind? Oder heißt es ganz einfach, dass die beiden Eingänge vom OR-Gatter negiert bzw. deaktiviert werden?
Obi Wan schrieb: > Heißt das jetzt, dass die Eingänge X und X(neg.) (am Beispiel SN7450) > einfach 2 weitere Eingänge vom OR-Gatter sind? Genau nicht. Diese Eingänge können nur dazu benutzt werden, einen Expander anzuschließen. Die Pegel sind weder TTL noch irgendeiner anderen Logikfamilie zuzuordnen. Ein Beispiel wäre der Anschluß eines SN7460 an die Expander-Eingänge des SN7450.
Obi Wan schrieb: > Oder heißt es ganz einfach, dass die beiden Eingänge vom OR-Gatter > negiert bzw. deaktiviert werden? Schaust Du Dir mal 5304 an. Dürfte der dazugehörigen Expander sein. rgds
6A66 schrieb: >> Oder heißt es ganz einfach, dass die beiden Eingänge vom OR-Gatter >> negiert bzw. deaktiviert werden? Nein, die ODER-Funktion wird um weitere UND-Funktion 5304 erweitert. rgds
Bitte melde dich an um einen Beitrag zu schreiben. Anmeldung ist kostenlos und dauert nur eine Minute.
Bestehender Account
Schon ein Account bei Google/GoogleMail? Keine Anmeldung erforderlich!
Mit Google-Account einloggen
Mit Google-Account einloggen
Noch kein Account? Hier anmelden.

