Hallo zusammen, ich habe folgendes Problem: Ich möchte die Stromaufnahme eines Verbrauchers auf einem Panalmeter anzeigen. Als Messspannungen habe ich 12,5 und -12V die einzel per Schalter angewählt werden können. Meine Platine verfügt aber noch über andere Spannungen und alle gehen auf einer Masse. Habe es zuerst mit folgendem Panalmeter versucht: http://www.conrad.de/ce/de/product/134384/Beckmann-Egle-EX2076-Digitales-Einbaumessgeraet-Panel-Meter-Einbaumasse-46-x-265-mm/?ref=detview1&rt=detview1&rb=1 Das Problem ist das ich nicht in der Masseleitung messen kann da ich dann nicht nur den Strom messe den ich will sondern irgendwelche Mischströme. Ich muss also vor dem Verbraucher messen was mit diesem Panalmeter allerdings nicht funktioniert. Ich habe auch schon nach anderen Panalmetern geschaut, jedoch habe ich keines gefunden das den Strom unabhängig der Stromrichtung misst. Ich hoffe ihr habt mein Problem verstanden und wisst rat. Viele Grüße, Ben
Ben Rot schrieb: > Panalmeter Dieses Wort solltest du dir dringenst nochmal genauer ansehen! > Ich möchte die Stromaufnahme eines Verbrauchers auf einem Panalmeter > anzeigen. Als Messspannungen habe ich 12,5 und -12V die einzel per > Schalter angewählt werden können Dein Problem ist, dass 1. High-Side messen willst, also in der Versorgungsleitung, und 2. dass du verschiedene Quellen messen möchtest. Du brauchst also für 1. eines der potentialfreien Module (EX2030..EX2034) und für 2. einen zweipoligen Umschalter, der die entsprechende Versorungsspannung über das Modul führt.
Danke für deine schnelle Rückmeldung. Das mit dem Wort Panelmeter tut mir Leid. Ich habe mir diese Modul EX2030-EX2034 auch schon angesehen aber ich finde diese Module nicht in einem Onlineshop oder ähnlichem. Kann es sein das die nicht mehr verkauft werden und wenn ja gibt es dafür Alternativen? Und das mit dem 2 poligen Umschalter ist mir noch nicht ganz klar, die Messspannungen können schon per Schalter angewählt werden, ich wusste nur nicht ob es ein Problem für das Panelmeter sein könnte wenn eine negative Spannung anliegt.
Ben Rot schrieb: > die Messspannungen können schon per Schalter angewählt werden Du willst aber keine Spannungen messen, sondern Ströme. Oder nicht? > Kann es sein das die nicht mehr verkauft werden und wenn ja gibt es > dafür Alternativen? Du kannst eines der potentialbezogenen Module nehmen und mit einer 9V-Batterie versorgen. Bei 4,5mW = 500uA Stromaufnahme hält die dann ca. 1000 Stunden ohne Schalter...
Okay, ein Potentialgebundenes besitze ich schon, konnte damit nur nicht in der Versorgungsleitung messen. Hatte mein Panelmeter EX2076 wie folgt angeschlossen: Externe Stromversorgung rote und schwarze Litze. Dann habe ich Highside die GelbeLitze und an der blauen den Verbraucher und diesen auf gnd allerdings zeigt das Modul nix an, nur eine 1 ganz links. Die Versuchsmessung habe ich bei 12V und eine 1,5K widerstand als Verbraucher durchgeführt. Ja entschuldige, ich möchte Ströme messen.
Ben Rot schrieb: > Ja entschuldige, ich möchte Ströme messen. Um was für Ströme gehts denn da? Wenns ein bisschen mehr Ampere sein dürfen, könnte die ACS Serie von Allegro brauchbar sein: http://www.allegromicro.com/en/Products/Current-Sensor-ICs.aspx
Es geht um Ströme zwischen 0-2 Ampere DC Kann ich mithilfe diesen ICs auch ein Anzeigemodul verwenden?
Ben Rot schrieb: > Kann ich mithilfe diesen ICs auch ein Anzeigemodul verwenden? Die ACS Sensoren liefern bei 0 Ampere eine Ausgangsspannung von Ub/2. Je nach Stromrichtung geht die Spannung dann darunter (0 > Uout < Ub/2) oder darüber (Ub/2 < Uout > 0). Du könntest nun z.b. per Opamp den Offset von Ub/2 abziehen und dann das ganze auf einem Panelmeter mit z.B. -1,999 V bis +1.999 V anzeigen. Du wirst allerdings um eine negative Betriebsspannung nicht herumkommen. Entweder speist du den ACS also zwischen -2,5V und 2,5V und schickst das direkt auf ein justierbares Panelmeter, oder du ziehst wie o.a. mittels Opamp den Offset ab und nutzt diesen auch gleich zur Kalibrierung. Jedenfalls bräuchte auch dieser eine negative (sowie eine positive) Versorgung.
Das hört sich schonmal Intressant an. Eine Möglichkeit ohne solche ICs siehst du nicht, oder?
Ben Rot schrieb: > Eine Möglichkeit ohne solche ICs > siehst du nicht, oder? Du willst ja unbedingt in der Highside messen, warum auch immer. Da sind isolierte Stromsensoren das einzige, was guten Gewissens funktioniert. Lothar hat ja auch schon einiges dazu gesagt. Klar kannst du mit viel Aufwand und R2R Opamps auch einen Shunt in die Highside legen, aber die Potentialdifferenzen werden dich sehr lange beschäftigen, und Skalierung und Offset musst du eh behandeln. Da ist so ein Allegro mit einem oder 2 Opamps in der Folgeschaltung das vorhersag- und überschaubarste - und eben vom Lastkreis bereits galvanisch getrennt.
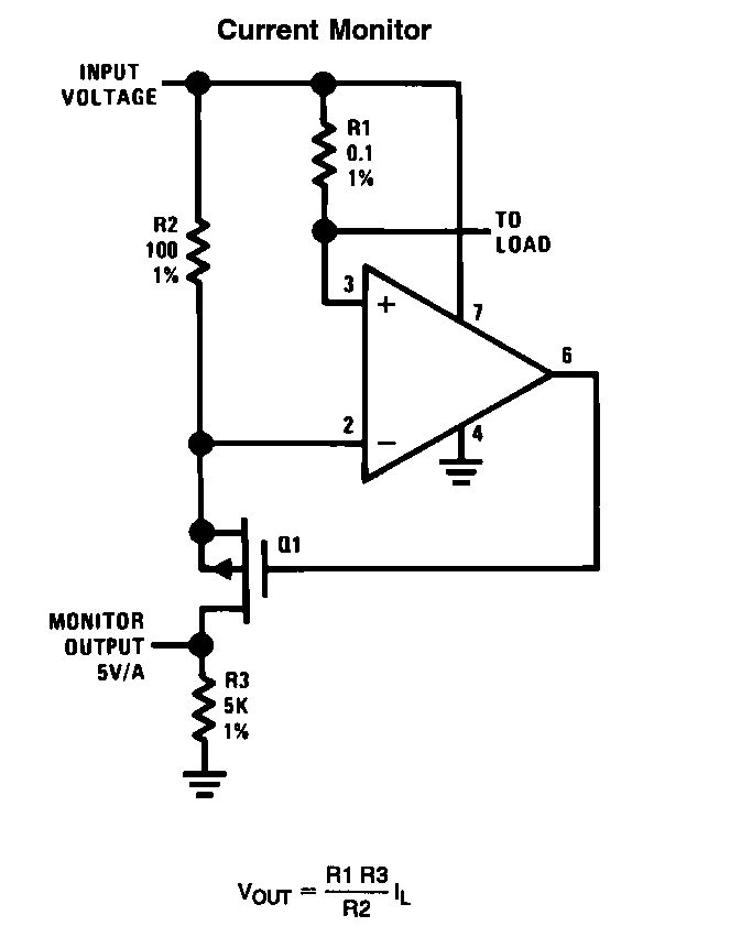
Die Spannungen in der Highside sind bei Dir ja nicht sehr hoch da kommt man mit OPV-Schaltungen gut zurecht. Wie mit der angehängten Beispielschaltung aus einen Datenblatt. Für höhere Spannungen gibt es z.B. den LTC6104. Die Messung ist dann einfach weil eine massebezogene Spannung herauskommt.
Ben Rot schrieb: > Ich möchte die Stromaufnahme eines Verbrauchers auf einem Panalmeter > anzeigen. Das ist normalerweise überhaupt kein Problem. Es gibt überall billige Panelmeter zu kaufen, die auch direkt Ströme messen können. Die meisten dieser Panelmeter benötigen allerdings eine galvanisch getrennte Stromversorgung. Stellt man diese z.B. durch eine zusätzliche Trafowicklung, einen DCDC-Wandler oder eine kleine Batterie zur Verfügung, ist es auch völlig egal, ob man den Strom in der Plus- oder Minusleitung misst. Gruss Harald
Nachtrag, mit dem LMP8601 kann man auch in der Highside bis -22V messen.
Okay, danke für die vielen Vorschläge, das mit dem Panelmeter und einer Stromversorgung die galvanisch getrennt ist hört sich sehr vielversprechend an.
Ben Rot schrieb: > Okay, danke für die vielen Vorschläge, das mit dem Panelmeter und einer > Stromversorgung die galvanisch getrennt ist hört sich sehr > vielversprechend an. Viele der oben gemachten Vorschläge mit OPV o.ä. braucht man vor allen, wenn das Stromsignal z.B. innerhalb eines Labornetzteils, weiterverarbeitet werden soll. Will man nur eine Anzeige, sind diese Schaltungen unnötig aufwändig und damit auch störanfällig. Eine galvanische Trennung hat den Vorteil, das man dabei kaum etwas falsch machen kann. Gruss Harald PS an alle: Irgendwie habe ich den Eindruck, das viele "Antworter" in diesem Forum möglichst aufwändige und teure Lösungen bevorzugen. Obwohl sich viele Probleme auch wesentlich einfacher lösen lassen. Aber vielleicht wäre das ja mal ein Thema für einen neuen Thread...
Bitte melde dich an um einen Beitrag zu schreiben. Anmeldung ist kostenlos und dauert nur eine Minute.
Bestehender Account
Schon ein Account bei Google/GoogleMail? Keine Anmeldung erforderlich!
Mit Google-Account einloggen
Mit Google-Account einloggen
Noch kein Account? Hier anmelden.

