Moin! Ich restauriere derzeit einen Atari 800XL, dessen Netzteil sehr fehleranfällig sein soll. Der Ausgangstransistor soll gerne mal an der C-E-Strecke kurzschließen und dann den Computer mit vollen, ungeregelten 10 V braten...wäre schade. Ich möchte das Gerät so original wie möglich lassen (mir ist klar, dass ich ein 5€ Schaltnetzteil in das Netzteil einbauen könnte) und überlege an den Platinenausgang einen L7805CV zu bauen. Eventuell noch einen guten Elko zum Glätten. Das Ganze als "second line of defense", falls der eigentliche Regler versagt. Geht das? Oder macht der 7805 Unfug, wenn er bereits eingangsseitig 5V bekommt? Danke!
Jürgen K. schrieb: > Oder macht der 7805 Unfug, wenn er bereits eingangsseitig 5V > bekommt? Nein, macht er nicht... er funktioniert einfach nicht. Der 7805 benötigt min. 6.5V, um Vo = 5V zu erzeugen.
> Geht das? Oder macht der 7805 Unfug, wenn er bereits eingangsseitig 5V > bekommt? Danke! Es ist immer wieder schade wenn Leute etwas verbessern wollen und weniger Ahnung haben wie dir urspruenglichen Entwickler. Seufz. Nein das geht nicht so. Das was du suchst, wenn ueberhaubt, heisst Crowbar. Olaf
Ich habe das so verstanden, dass der TO den 7805 als Sicherung nutzen will und zwar dann, wenn sein NT seine 10V ungeregelt raushaut (Schluss Längstransistor). Warum sollte dies nicht funktionieren? Gruss Frank
@ Mersin: Vielen Dank...stimmt geht nicht @ Olaf: Vielleicht werde ich mal so schlau wie Du. Glaub' ich aber nicht. Seufz... (aber danke für den Crowbar-Hinweis)
Frank Norbert Stein S. schrieb: > Ich habe das so verstanden, dass der TO den 7805 als Sicherung nutzen > will und zwar dann, wenn sein NT seine 10V ungeregelt raushaut (Schluss > Längstransistor). Kann man machen mit nem 7805, besser ist aber, wie schon gesagt wurde, eine Crowbar denn auch ein 7805 kann kaputt gehen.
Frank Norbert Stein S. schrieb: > Ich habe das so verstanden, dass der TO den 7805 als Sicherung nutzen > will und zwar dann, wenn sein NT seine 10V ungeregelt raushaut (Schluss > Längstransistor). > > Warum sollte dies nicht funktionieren? Weil aus dem 7805 keine 5V rauskommen, wenn das Netzteil korrekterweise bereits 5V liefert. Ich würde hier eher vorschlagen, eine Z-Diode einzusetzen, um den nachfolgenden Schaltungsteil zu schützen. Als Spannungsregler, um von 10V auf 5V zu kommen, ist das natürlich wenig effizient. Aber immerhin kommen die 10V nicht auf die 5V Schiene Deines kostbaren Retro-Computers ;)
Transistoren schließen manchmal ihre C-E Strecke kurz, wenn sie überhitzen. Jetzt schau Dir mal an, was im LM7805 innen drin ist: http://www.ti.com/lit/ds/symlink/lm7800.pdf Absatz 7.1, Transistor Q16 rechts oben. Der kann genau so kaputt gehen, deswegen enthält der Chip von TI einen thermischen Schutz. Wenn du einen thermischen Schutz zu deinem Netzteil hinzufügst, bist du auf dem richtigen weg. Es könnte im einfachsten Fall so ein Teil am Kühlkörper montiert sein: https://www.reichelt.de/temperatursicherung-10a-94-c-mts-94-p57704.html?&trstct=pol_15&nbc=1
Mersin schrieb: > Jürgen K. schrieb: >> Oder macht der 7805 Unfug, wenn er bereits eingangsseitig 5V >> bekommt? > > Nein, macht er nicht... er funktioniert einfach nicht. Genauer gesagt wird er sein bestes tun, so viel wie möglich von den eingangseitig vorhandenen 5V an seinen Ausgang weiter zu geben. Aber (abhängig vom Strom) werden das nur zwischen 3 und 3.5V sein. Dem 7805 macht das nichts aus. Aber der 800XL wird mit besagten 3.5V nicht so recht laufen wollen. Ein Crowbar-Schutz mit Thyristor, der die 5V Leitung bei Überspannung kurzschließt, ist die übliche Lösung. Damit das aber nicht in einem Wohnungsbrand endet, gehört da irgendwo auch eine Feinsicherung dazu. Der beste Platz ist vor dem 5V Spannungsregler. Notfalls geht auch hinter dem Regler (direkt vor der Crowbar). Und im allerschlimmsten Notfall auf der Primärseite des Netztrafos.
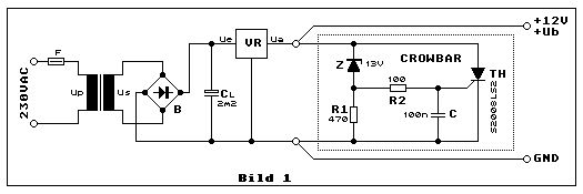
Danke für die Hinweise! So ein Thyristor-Crowbar ist funktional das, was ich wollte. Und so eine Schaltung wie angehängt (aus https://www.elektronik-kompendium.de/public/schaerer/crowbar.htm) oder auch von Udo dankenswerterweise zitiert, kriege ich auf Miniplatine ins gleiche Gehäuse ohne den Originalzustand wesentlich kaputt zu verändern. @Axel: Danke auch für den Hinweis mit der Sicherung :-)
Bitte melde dich an um einen Beitrag zu schreiben. Anmeldung ist kostenlos und dauert nur eine Minute.
Bestehender Account
Schon ein Account bei Google/GoogleMail? Keine Anmeldung erforderlich!
Mit Google-Account einloggen
Mit Google-Account einloggen
Noch kein Account? Hier anmelden.
