Hallo zusammen. Ich habe im Internet nach einer Schaltung gesucht, um von 12V zu 5V zu regeln, das klappt auch alles soweit, nur, wenn ich ein Servo anschließe und der Servo läuft, dann wird die LED schwach. Ich habe am 5V Ausgang noch eine LED mit angeschlossen und wenn ich dann noch ein Servo laufen lasse (über die 5V Leitung), dann wird meine LED Dunkel. Der Servo verbraucht ja schon etwas, gibt es eine Möglichkeit, das irgendwie auszugleichen mit Kondensatoren? Ich werde einige LEDS über Transistoren anschließen, diese ich dann mit Arduino ein oder ausschalte. Die Transistoren habe ich an die 5V Leitung vom Spannungsregler mit angeschlossen, da ich den Strom von dort hole, um die LEDs dann leuchten zu lassen. Mir gefällt es nur nicht, das meine LEDs dann dunkel werden, wenn ich einen Servo laufen lasse. Im Anhang habe ich einen Schaltplan von mir angehängt, so wie ich es verkabelt habe und hoffe, das die Schaltung soweit OK ist. Ich würde mich sehr freuen, wenn mir da wer Weiterhelfen kann. Mit freundlichen Grüßen
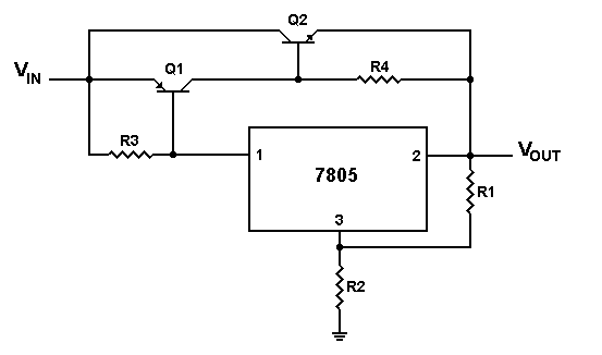
Chris F. schrieb: > das klappt auch alles soweit Ach wirklich? Bei Q1 sind Kollektor und Emitter vertauscht. Chris F. schrieb: > Mir gefällt es nur nicht, das meine LEDs dann dunkel werden, wenn ich > einen Servo laufen lasse. Dann schließ die LEDs doch an die 12V an, die mit über den Spannungsregler laufen zu lassen bringt genau gar nichts.
Das Problem ist vermutlich dass der spannungsregler zu schwach für den Motor ist. Schick mal die Daten des Motors. Eventuell reicht ein Kühlkörper damit alles läuft wie es soll, wahrscheinlich wirst du aber einen anderen spannungsregler bzw eine andere schaltung brauchen. Verstehst du eigentlich was in deiner schaltung welche Aufgabe hat? Ich vermute der Transistor über dem 7805 soll eben genau den höheren Strom ermöglichen, so wie du ihn zeichnest macht er dass aber nicht
Chris F. schrieb: > so wie ich es verkabelt habe Oje. Wie kommt man auf so was ? Chris F. schrieb: > wird die LED schwach Spannungsregler zu schwach ? LM323 ?
Elliot schrieb: > Bei Q1 sind Kollektor und Emitter vertauscht. Ähh, da ist alles vertauscht, Emitter an den Eingang (12V), Basis an den Spannungsregler-Eingang, Kollektor an den Ausgang.
Ich danke euch für die Antworten. Elliot schrieb: > Elliot schrieb: >> Bei Q1 sind Kollektor und Emitter vertauscht. > > Ähh, da ist alles vertauscht, Emitter an den Eingang (12V), Basis an den > Spannungsregler-Eingang, Kollektor an den Ausgang. Ohje, Sorry, ich habe auf die schnelle den Schaltplan erstellt und da nicht drauf geachtet. Angeschlossen habe ich Ihn Richtig und bekomme auch 5V am Ausgang raus. Das ist der Servo, den ich verwende: https://www.amazon.de/gp/product/B07H87592P/ref=ppx_yo_dt_b_search_asin_image?ie=UTF8&psc=1 Ich habe nach so einer Ähnlichen Schaltung gesucht, um von 12V zu 5V und bis zu 5 Amper aushalten soll. Gruss
Chris F. schrieb: > und bekomme auch 5V am Ausgang raus Das passiert auch in ein paar falschen Beschaltungen.
Chris F. schrieb: > Angeschlossen habe ich Ihn Richtig und bekomme auch 5V am Ausgang raus. Die 5V kommen auch heraus, wenn du den Transistor ganz weg lässt. Das sat noch gar nichts darüber aus, ob er richtig herum an geschlossen wurde. Kühlst du ihn und den Spannungsregler auch ausreichend? Bei 2A sind da immerhin schon rund 14 Watt zu verheizen. Damit kann man einen kleinen Lötkolben antreiben.
Stefan ⛄ F. schrieb: > Kühlst du ihn und den Spannungsregler auch ausreichend? > > Bei 2A sind da immerhin schon rund 14 Watt zu verheizen. Damit kann man > einen kleinen Lötkolben antreiben. Wenn man das vermeiden möchte, kann man die 40 Jahre alten Technik in ihren wohlverdienten Ruhestand schicken und einen kleinen Schaltregler verwenden. https://www.ebay.de/itm/262539360829
Danke euch. Ich habe meine Schaltung nochmal korrigiert, wie es im Anhang zusehen ist. 5 Amper werde ich mit Sicherheit nicht brauchen, aber man weiß ja nie, falls ich einiges da mal anschließen möchte. Zurzeit habe ich keinen Lüfter, der den Transistor und den Spannungsregler kühlt, sondern nur ein Kühlkörper, vorerst. Ich habe mir etwas zusammengebastelt, indem auch Schrittmotoren mit angeschlossen werden und die Stepper Treiber werden direkt mit 12V Versorgt und einige Teile, die ich sonst noch so verwende, brauchen nicht viel Strom, deshalb wollte ich bei meiner Schaltung einen Spannungsregler hinzufügen und keine Extra Step Down Regler kaufen. Es kostet ja nicht viel, aber würde gerne alles dann auf einer Schaltung haben. Edit: Muss der Collector nicht vor dem Widerstand? Ich habe eine Ähnliche Schaltung gefunden. Gruss
Chris F. schrieb: > Ich habe meine Schaltung nochmal korrigiert, wie es im Anhang zusehen > ist. Nee, der Transistor ist immer noch falsch gepolt. Ein Transistor leitet, wenn Strom durch die Basis-Emitter Strecke fließt. Und zwar in Pfeil-Richtung + --> -. Zu deiner Korrektur die du nach meiner Antwort hinzugefügt hast: > Edit: Muss der Collector nicht vor dem Widerstand? > Ich habe eine Ähnliche Schaltung gefunden. Na also, geht doch!
Ja, ich war heute etwas im Stress und habe auf die schnelle einen Schaltplan erstellt und da irgendwie nicht so drauf geachtet. Und vielen Dank. Dann werde ich die Schaltung so belassen, wie es jetzt ist und hoffe, das ich diesmal nichts übersehen habe. Sorry, das ist das Falsche Bild, da ist wohl die Netzlinie zusammen gekommen. Die Schaltung Neu ist das richtige. Gruss
Chris F. schrieb: > Die Schaltung Neu ist das richtige. Soll ich dir mal die Bedienungsanleitung von deinem Programm heraus suchen und dir vortanzen, wie man Bauteile spiegelt?
Chris F. schrieb: > Dann werde ich die Schaltung so belassen, wie es jetzt ist Uff, hoffentlich nicht. Chris F. schrieb: > das ich diesmal nichts übersehen habe. Doch. Bei 5V verbrät der Transistor 33 Watt. Da braucht es einen grossen Kühlkörper, wenn man nicht will, dass er überhitzt. Denn WENN er überhitzt, kommen glatte 12V an deine Servos und das werden sie nicht überleben. Immerhin liegt 7V/5A innerhalb seiner SOA, er geht also nicht gleich kaputt sondern erst bei Überhitzung.
Schon wieder falsch. Der Knotenpunkt muss weg und der 78L05 im TO92 Package sollte besser durch ein 7805 im TO220 Gehäuse ersetzt werden! Chris F. schrieb: > Sorry, das ist das Falsche Bild, da ist wohl die Netzlinie zusammen > gekommen. > Die Schaltung Neu ist das richtige. Alles gut.
Stefan ⛄ F. schrieb: > Chris F. schrieb: >> Die Schaltung Neu ist das richtige. > > Soll ich dir mal die Bedienungsanleitung von deinem Programm heraus > suchen und dir vortanzen, wie man Bauteile spiegelt? Nicht nötig, das weiß ich selbst, nur war das auf die schnelle hin gezeichnet. Ich verwende EasyEda und das ist für mich ausreichend. Den kleinen Schaltplan habe ich in Kicad mal schnell erstellt. MaWin schrieb: > Chris F. schrieb: >> Dann werde ich die Schaltung so belassen, wie es jetzt ist > > Uff, hoffentlich nicht. > > Chris F. schrieb: >> das ich diesmal nichts übersehen habe. > > Doch. > > Bei 5V verbrät der Transistor 33 Watt. Da braucht es einen grossen > Kühlkörper, wenn man nicht will, dass er überhitzt. Denn WENN er > überhitzt, kommen glatte 12V an deine Servos und das werden sie nicht > überleben. > > Immerhin liegt 7V/5A innerhalb seiner SOA, er geht also nicht gleich > kaputt sondern erst bei Überhitzung. Zurzeit verwende ich diesen Kühlkörper für den Spannungsregler: https://www.conrad.de/de/p/assmann-wsw-v6560w-strangkuehlkoerper-9-k-w-l-x-b-x-h-25-x-29-x-12-mm-to-220-183924.html Einen Kühlkörper für den Transistor habe ich noch nicht, da der Transistor etwas größer ist, passt der Kühlkörper nicht und muss noch einen besorgen. Ich werde es beobachten, wenn es zu Warm wird, dann werde ich zusätzlich noch einen kleinen Lüfter verwenden. Und vielen Dank für die Antworten. Gruss
Chris F. schrieb: > Einen Kühlkörper für den Transistor habe ich noch nicht Ohne Kühlkörper wird er nicht einmal 0,5A vertragen. Du brauchst aber sicher mehr als 1A, sonst hättest du den ganzen Aufwand nicht getrieben, stimmts? Wenn du den Transistor richtig herum einbaust, wird er funktionieren und direkt einschmelzen. Danach bekommen deine 5V Verbraucher eventuell die vollen angedrohten 12V ab. Viel Glück! Ich brauche keine Leiter. Für den einen Test kann ich ruhig einfach vom Dach springen. Dauert ja nicht lange.
Michael M. schrieb: > und der 78L05 Ein L7805 ist kein 78L05, sondern ein 7805 von ST. Übrigens muss er 250mA bei 6.3V aushalten, also 1.6Watt.
Mal ne Frage: Den Bypass-Strompfad gibt es, damit über dem Regler keine so hohe Verlustleistung entsteht (weniger Strom geht durch den IC)?
Die letzte Schaltung ist okay. Ist auch richtig einen pnp zu nehmen. Der Kühlkörper ist zu klein für 33W und der Regler muss auch gekühlt werden. Der Transistor bekommt da fast alles ab und es ist Quatsch nur den Regler zu kühlen. Guck mal in das Datenblatt von dem Regler oder das vom lm317. Da sind mehrere Schaltungen mit anga von Bauteilen wie es auf jeden Fall möglich ist. Wenn Du dafür Zeug bestellst zieh in Erwägung an Stelle von dem pnp ein mosfet zu nehmen. Z. B IRF9540 o. ä. Ist das eine stabile 12V Speisung?
Ich würde Regler und Transistor an den selben Kühlkörper montieren um den thermischen Überlast-Schutz nicht zu verlieren. Der Transistor muss elektrisch isoliert montiert werden.
Christian F. schrieb: > Wenn Du dafür Zeug bestellst zieh in Erwägung an Stelle von dem pnp ein > mosfet zu nehmen. Z. B IRF9540 o. ä. Dann wird die Schaltung doch wesentlich aufwändiger. Welchen Vorteil zieht man daraus?
Christian F. schrieb: > Wenn Du dafür Zeug bestellst zieh in Erwägung an Stelle von dem pnp ein > mosfet zu nehmen. Z. B IRF9540 o. ä. > > Ist das eine stabile 12V Speisung? Ich verwende einen 12V Schaltnetzteil mit 10A. Stefan ⛄ F. schrieb: > Ich würde Regler und Transistor an den selben Kühlkörper montieren um > den thermischen Überlast-Schutz nicht zu verlieren. Der Transistor muss > elektrisch isoliert montiert werden. Danke, könntest du mir einen Empfehlen?
Christian F. schrieb: > Der Kühlkörper ist zu klein für 33W und der Regler muss auch gekühlt werden. Alleine der Kühlkörper wird schon deutlich teurer als ein passender Step-Down Wandler.
Chris F. schrieb: > Danke, könntest du mir einen Empfehlen? https://www.conrad.de/de/p/tru-components-tc-a18-9b-montagematerial-set-fuer-halbleiter-l-x-b-18-mm-x-13-mm-passend-fuer-gehaeuseart-halbleiter-1587976.html und https://www.conrad.de/de/p/kerafol-kp12-4-2-g-waermeleitpaste-10-w-mk-4-2-g-temperatur-max-150-c-189069.html Was den Kühlkörper angeht müsste ich erstmal wissen, wie viel Strom da im Mittel fließen wird.
Stefan ⛄ F. schrieb: > Dann wird die Schaltung doch wesentlich aufwändiger. Welchen Vorteil > zieht man daraus? Die Schaltung wird nicht aufwändiger aber stimmt schon dass es nicht wirklich von Vorteil ist. Es soll ja einfach nur geheizt werden. Ich habe sowas auch schon lange nicht mehr für feste Ausgangsspannungen gebaut.
Bei meiner Schaltung werde ich 6 LEDs verwenden, sowie 2 Servos (5V) und 2 Schrittmotoren Nema 17, diese ich mit TMC2208 Treiber steuere (12V) und einen ESP32 DEV Kit C V4 (5V). Jetzt habe ich mir gedacht, das ich doch lieber einen geeigneten Step Down Regler hole, diese ich dann später auf meiner Platine drauf stecken kann. Die 6 LEDS werden ca. 120mAh brauchen. Bei dem Servo habe ich mal in das Datenblatt rein geschaut: https://pdf1.alldatasheet.com/datasheet-pdf/view/1131873/ETC2/MG996R.html Operating voltage: 4.8 V a 7.2 V Running Current 500 mA Stall Current 2.5 A (6V) Jetzt muss ich mal schauen, ob ich einen guten Step Down Regler finde, mit dem ich 6 LEDs, 2 Servos und den ESP32 DEV Kit C V4 mit Strom versorgen kann. Oder wäre es nicht besser, einen Regler, der von 5V zu 12V Konvertiert? 12V Brauche ich nur für 2 TMC2208 Treiber und sonst werde ich nur 5V brauchen. Daher würde ich dann einen 5V Schaltnetzteil holen, falls es sinn macht. Gruss
Christian F. schrieb: > Wenn Du dafür Zeug bestellst zieh in Erwägung an Stelle von dem pnp ein > mosfet zu nehmen. Z. B IRF9540 o. ä. Nö. Die Verlustleistung bleibt dieselbe, nur der Regler wird instabil.
Chris F. schrieb: > 12V Brauche ich nur für 2 TMC2208 Treiber und sonst werde ich nur 5V > brauchen. Immerhin hängen die beiden Schrittmotoren an den 12V.
Ja, wenn ich einen zusätzlichen kleinen Lüfter verwende, der die Kühlkörper zusätzlich Kühlt, dann sollte ja ein einfacher Kühlkörper reichen oder nicht? Die Servos laufen ja nicht durchgehend, sondern für 1-2 Sekunden, danach ein Paar Sekunden Pause usw. Gruss
Wenn es die einzige Sorge ist, dass die LED dunkler werden, dann nimm einfach zwei Regler. Einen für die LED. Einen für die Servo. Übrigens, deine 1N4004 freut sich furchtbar über die 5A.
Beitrag #6802834 wurde von einem Moderator gelöscht.
michael_ schrieb: > Wenn es die einzige Sorge ist, dass die LED dunkler werden, dann nimm > einfach zwei Regler. > Einen für die LED. > Einen für die Servo. > > Übrigens, deine 1N4004 freut sich furchtbar über die 5A. Da hast du allerdings Recht. In der Schaltung habe ich noch den 1N4004 drin. Ich habe hier noch größere Dioden z.B. 1N5406 - 3A oder welche mit 5A. Eine Diode habe ich in meiner Schaltung ja noch nicht drin, nur im Schaltplan. Werde aber natürlich eine größere Diode verwenden. Danke für den Hinweis. Das die LEDs minimal Dunkler werden, ist mir inzwischen egal und werde es einfach mal so belassen, wie es ist. Ich werde einfach mal beobachten, wieviel die angeschlossene Geräte verbrauchen und wie Warm der Spannungswandler und Transistor werden. Gruss
Chris F. schrieb: > Oder wäre es nicht besser, einen Regler, der von 5V zu 12V Konvertiert? Nein. Step-Up Wandler sind tendentiell weniger effizient und strahlen eher unerwünschte Radiowellen ab, als die Step-Down Wandler. Sie sind anspruchsvoller in Konstruktion und Anwendung. Chris F. schrieb: > Ja, wenn ich einen zusätzlichen kleinen Lüfter verwende, der die > Kühlkörper zusätzlich Kühlt, dann sollte ja ein einfacher Kühlkörper > reichen oder nicht? Die Frage erübrigt sich bei einem Schaltwandler. Abgesehen davon müssen auch Kühlkörper mit Lüfter passend dimensioniert werden. Die sind nicht zwangsläufig immer ausreichend. Außerdem will nicht jeder einen lauten Lüfter hören müssen. Frage mal die PC-Modder! > Die Servos laufen ja nicht durchgehend, > sondern für 1-2 Sekunden, danach ein Paar Sekunden Pause usw. Deswegen hatte ich nach der Mittleren Stromaufnahme gefragt, damit man den Kühl-Bedarf ausrechnen kann. Du kannst das natürlich gerne auch experimentell ermitteln, nur denke daran dass dein Heiz-Transistor auch für einen Kurzen Test gekühlt werden muss und dass er (ohne Kontakt zum 7805) keinen thermischen Überlastschutz hat. Wenn er zu heiß wird, riskierst zu 12V statt 5V am Ausgang. Chris F. schrieb: > Das die LEDs minimal Dunkler werden, ist mir inzwischen egal und werde > es einfach mal so belassen, wie es ist. Mir wäre das nicht egal, denn es ist ein eindeutiges Zeichen dafür, dass dein 5V Regler insgesamt überlastet ist. Was eigentlich nur sein kann, wenn dein zusätzlicher Transistor verpolt oder defekt ist. Vermutlich fließt der Strom bei dir nur durch den 7805, welcher ihn auf etwas mehr als 1A begrenzt, weswegen die 5V auf weniger absacken. Ob und wie lange die Elektronik dahinter (incl. Servos) mit schwankender Spannung unter 5V zuverlässig läuft, steht in den Sternen.
Stefan ⛄ F. schrieb: > die Elektronik dahinter (incl. Servos) mit schwankender Spannung unter > 5V zuverlässig läuft, steht in den Sternen. Also ich tippe auf Sternbild Schütze, Der Zerschiesst dir die Schaltung über kurz oder lang. ;-) Also der Tipp der anderen Poster ist schon berechtigt: 1.) Transistor Korrekt angeschlossen? 2.) PWM Wandler anstelle von Linearregler 3.) ev. Regler Doppelt nehmen 4.) Kräftiger Transistor 5.) Diode nicht weglassen sondern eine Kräftigere rein (So 10A) ein Servo gibt ja schon an dass er bis 2.5A ziehen kann, was eine Klare 3~4 fache Überlast deines Reglers darstellt. Das zeigt dir ja klar die LED an dass da ein Lastproblem auftritt. Ergo: du betreibst deine Linear-Reglerschaltung mit immer wiederkehrender Überlast. Kein Bauteil mag dass auf dauer. Als Hersteller von Halbleiter kann ich dir da nur sagen, Halbleiter die dauernd Überlastet werden können Durch-legieren, wenn sie das tun schließen sie plötzlich Kurz. Das ist dann Unschön! wird meist mit "Pang" quittiert.
Nun sind ja diese DCDC Wandler im Stil eines 7805 von Traco und Co. nicht gerade günstig. Ich finde diese Wandler im 10er Pack für Versuchsaufbauten recht brauchbar. Im 10-Tage Versand auch recht schnell da. https://de.aliexpress.com/item/1005001910573870.html Bei dem Preis kannst Du zur Not auch jedem Servo einen Regler spendieren. Einzige Sache, die bei diesen Wandlern nicht so schön ist: Es fehlt jegliche Eingangskapazität auf dem Modul selbst, so dass ich einen 100nF und einen kleinen Elko ist nächster Nähe vorsehen würde. Bei mehreren Reglern jedem einen 100nF spendieren und ein Elko zentral.
Harald schrieb: > Nun sind ja diese DCDC Wandler im Stil eines 7805 von Traco und Co. > nicht gerade günstig. Der TO kann sich auch einen von Würth leisten, nur darum geht es hier nicht.
Harald schrieb: > Bei dem Preis kannst Du zur Not auch jedem Servo einen Regler > spendieren. Was nützt ihm ein 1A Spannungswandler wenn der Servo 2,5A braucht? Interessanter sehe da die 3A China-Boards aus (https://www.amazon.de/Aideepen-Step-Down-Stromversorgungsmodul-einstellbares-Spannungsregler/dp/B08YRBS8TF). Aber obacht, die vertragen die versprochenen 3A nur kurzzeitig.
Stefan ⛄ F. schrieb: > Was nützt ihm ein 1A Spannungswandler wenn der Servo 2,5A braucht? Bitte um Entschuldigung, das hatte ich nicht gesehen. Ich war direkt von einem „Standardservo“ ausgegangen.
Hi, was haltet Ihr davon? https://solarbotics.com/product/17185/ Zitat: "...The LM1084IT-5.0 is a beast of a +5V voltage regulator! Spawning from the same family as the LM317 (sharing the same pinout), this regulator takes current limitations to a whole new level. Perfect for powering servos and handling the load they generate up to 5A!..." /Zitat Komme deswegen drauf, weil es Linear-Regler gibt, die mehr als nur 1A liefern können. Früher mal im TO2 Gehäuse. So sparte man sich den Extra-Transistor. Man montierte den Regler anstelle des Transistors direkt auf den Kühlkörper. Bild nur Beispiel. Der Vorteil: Bei fehlerhaftem Kühlkörperkontakt geht er ins Fold-Back. BTW: Kleine Grundlast ist bei den "Extended" vorteilhaft. ciao gustav
Ich verstehe nicht, warum du freiwillig so viel Energie verheizen willst. Ist dir kalt? Der eine zieht alle ungenutzten Ladegeräte aus der Steckdose um das Klima zu retten, doch du willst ohne Notwendigkeit "mal eben" 30 Watt verheizen. Greta sollte dir mal die Ohren heiß rubbeln!
Karl B. schrieb: > _A7815_TO2.jpg > > was haltet Ihr davon? > https://solarbotics.com/product/17185/ Das erinnert mich an das Ende der 70er Jahre des vorigen Jahrhunderts - wie die Zeit doch vergeht - das war vor über 40 Jahren.
Hi, TO arbeitet mit Linear-Regler. Das geht auch o h n e Zusatz-Transistor. Warum? Weil die Auswahl der Spannungsregler ICs nicht nur auf den 7805 begrenzt ist. Wenn TO nun damit arbeiten möchte, dann geht es auch einfacher ohne die Klimmzüge mit dem PNP Transistor. Der übrigens eine Grundlast braucht. Energie verbraten wird so wie so, ob mit oder ohne den Extra-PNP Das steht hier nicht zur Debatte. Abgesehen davon: Stefan ⛄ F. schrieb: >> Die Servos laufen ja nicht durchgehend, >> sondern für 1-2 Sekunden, danach ein Paar Sekunden Pause usw. > > Deswegen hatte ich nach der Mittleren Stromaufnahme gefragt SNT wäre evtl. Overkill ciao gustav
Karl B. schrieb: > Der Vorteil: > Bei fehlerhaftem Kühlkörperkontakt geht er ins Fold-Back. ?!? Du weisst nicht, was fold back ist, wirfst aber mit dem Fachbegriff um dich. Wozu ? Moderne Spannungsregler gehen bei Überhitzung (ca. ab 125 GradC) in Begrenzung, dieser Überhitzungsschutz heisst nicht fold back. Lies das Datenblatt zum uA723 was fold back ist.
Karl B. schrieb: > Weil die Auswahl der Spannungsregler ICs nicht nur auf den 7805 begrenzt > ist. Richtig.
Karl B. schrieb: > was haltet Ihr davon? > https://solarbotics.com/product/17185/ Maximum Power Dissipation: 30W. Das ist zu wenig. Karl B. schrieb: > SNT wäre evtl. Overkill Warum? Passende Schaltwandler-module kosten keine 2 Euro, dafür bekommt er nicht einmal den sonst nötigen Kühlkörper.
Chris F. schrieb: > Die Servos laufen ja nicht durchgehend, sondern für 1-2 Sekunden, danach > ein Paar Sekunden Pause usw. + vermutlich auch eher einzeln, wenn es auch prinzipiell zu einem gemeinsamen Betrieb kommen kann. Da würde ich an Deiner Stelle wirklich jedem Servo einen Step-Down spendieren - und bzgl. Anschluß diverser untersch. Lasten: Chris F. schrieb: > falls ich einiges da mal anschließen möchte. ...kann man das ebenfalls jeweils perfekt mit jeweils passendem Mini-Modul lösen. "Alles auf einer Platine" ist bzgl. Praktikabilität sowieso stark überschätzt (es klingt gut, was aber meist das einzige ist...). Auch ist ein "gesamt"-Konverter nicht unbedingt kleiner als es mehrere sind (das Gegenteil ist oft der Fall, kleine Module kann man unterbringen, wie und wo man will). Wolfgang schrieb: > Alleine der Kühlkörper wird schon deutlich teurer als ein passender > Step-Down Wandler. Und das kommt sowieso erschwerend hinzu. So kleine (oder sogar winzig zu nennende) Step-Down Module gibts für wenig Geld. Und weiß man um ihre Schwächen, sind sie nutzbar. (Stromrating wird gern übertrieben - man sollte sich jedes Modul genauestmöglich ansehen, evtl. sogar hier vorstellen, vor einer streng Anwendungs- also Einzel-Last-bezogenen Auswahl. Dazu kauft man halt nur welche, wo wenigstens gute Bilder dabei sind, wenn man nicht "Probekäufe" machen will (wollen die meisten recht ungern - verstehe ich auch). Allerdings, nach welcher Taktik man dabei auch vorgehen will: Es macht Sinn, sich damit zu beschäftigen. Unnötige Heizungen sind schon Luxus - und es geht ganz simpel anders. "Schwieriger" als einen Pfund-schweren Linearregler (und das für Leistungsanwendung, die absolut keine glatte Spannung verlangt) finde ich das nicht, und man lernt sowas schnell.)
Chris F. schrieb: >> Ist das eine stabile 12V Speisung? > > Ich verwende einen 12V Schaltnetzteil mit 10A. Und warum baust du dann eine eigene Schaltung mit ziemlichem Aufwand, die pro Ampere Stromentnahme 7 Watt auf einem Kühlkörper verheizt, statt für den oder die Servos ein fertiges 5V Schaltnetzteil mit 10 A zu kaufen? https://www.google.com/search?client=firefox-b-d&q=schaltnetzteil+5v+10a
Ich Danke euch. Josef L. schrieb: > Chris F. schrieb: >>> Ist das eine stabile 12V Speisung? >> >> Ich verwende einen 12V Schaltnetzteil mit 10A. > > Und warum baust du dann eine eigene Schaltung mit ziemlichem Aufwand, > die pro Ampere Stromentnahme 7 Watt auf einem Kühlkörper verheizt, statt > für den oder die Servos ein fertiges 5V Schaltnetzteil mit 10 A zu > kaufen? > > https://www.google.com/search?client=firefox-b-d&q=schaltnetzteil+5v+10a Ich verwende schon einen 12V Schaltnetzteil und ich möchte keine 2 Schaltnetzteile für meine Schaltung. Aber wenn das die einzige Lösung wäre, dann bleibt mir halt nichts anderes übrig, als einen 2ten Schaltnetzteil zu holen. Der Servo zieht sehr viel, gemessen habe ich Ihn und die Werte schwanken und das höchste war bei 3,45 Amper. Das sind nur einige Millisekunden, bis der Wert dann wieder fällt auf ca. 0,2 Amper und nach ein Paar Sekunden wieder über 3 Amper usw. Der Servo bewegt sich ja nicht die ganze Zeit, ich lasse ihn 2x hin und her bewegen, danach ein Paar Sekunden Pause. Gruss
Chris F. schrieb: > Ich verwende schon einen 12V Schaltnetzteil und ich möchte keine 2 > Schaltnetzteile für meine Schaltung. Ich meine auch nicht beide hintereinander, sondern nur das 5V-Netzteil, also direkt 230V~ auf 5V= mit 1 Gerät. Wenn du natürlich 12V= noch woanders brauchst, wäre das eine andere Sache. Wenn aber 5V= mit 5-10A, die 12V nur mit 0.1A benötigt werden, ist es extrem ineffektiv, die 5V aus den 12V zu machen. Eher aus 5V wieder 12V (Step-Up), oder eben 2 Netzteile. "Früher" hatte man halt 1 Trafo mit verschiedenen Wicklungen für verschiedene Spannungen (und Ströme). Aber von "früher" sind auch alle Schaltungen mit 7805 & Co., das sind nichts anderes als geregelte Heizwiderstände, sozusagen Energieeffizienzklasse D---
Chris F. schrieb: > das höchste war bei 3,45 Amper. Chris F. schrieb: > fällt auf ca. 0,2 Amper Chris F. schrieb: > nach ein Paar Sekunden wieder über 3 Amper Vielleicht muss man doch mal die Amper hoch skillen. Oder handelt es sich um die Amper, einen Fluss in Oberbayern?
Chris F. schrieb: > Ich verwende schon einen 12V Schaltnetzteil und ich möchte keine 2 > Schaltnetzteile für meine Schaltung. https://www.ebay.de/itm/124505224553 https://www.conrad.de/de/p/sunpower-technologies-sps-035-d1-dual-5v-dc-4a-12v-dc-2-5a-ac-dc-einbaunetzteil-4-a-35-w-5-v-dc-510383.html
Chris F. schrieb: > einen 12V Schaltnetzteil Chris F. schrieb: > als einen 2ten Schaltnetzteil zu holen. Chris F. schrieb: > Der Servo zieht sehr viel, gemessen habe ich Ihn Der Schaltnetzteil? Der Servo? Bei diesem Deutsch biegen sich mir die Zehennägel hoch.
MaWin schrieb: > Du weisst nicht, was fold back ist, wirfst aber mit dem Fachbegriff um > dich. Wozu ? > > Moderne Spannungsregler gehen bei Überhitzung (ca. ab 125 GradC) in > Begrenzung, dieser Überhitzungsschutz heisst nicht fold back. > > Lies das Datenblatt zum uA723 was fold back ist. Hi, beim im Bild gezeigten IC hatte ich bei Überschreiten des Ausgangsstromes kein weiteres "Verheizen" bemerkt, da die Stromaufnahme im Sinne des Fold back zurückgeht. Und sowas funktioniert bei den "großen" Ics auch bei fehlerhaftem Kühlkörperkontakt eher als bei den "kleinen". Die Temperaturbegrenzung muss gesondert betrachtet werden. Bevor diese bei den "großen" einsetzt, wirkt bei denen schon das Fold-Back-Prinzip. Lies Du erst einmal die Datenblätter und Laborinfos. Du wirst überrascht sein. Bei den Schaltnetzteilen hat man den Hiccupmode. Und da wird nichts verheizt mehr auch bei sattem Kurzschluss. In dem Punkte sind die SNTs den Linearreglern haushoch überlegen. Das stimmt. ciao gustav
Josef L. schrieb: > Wenn aber 5V= mit 5-10A, die 12V nur mit 0.1A benötigt werden Die NEMA17 Schrittmotoren wird wohl kaum mit 0.1A zufrieden sein. Chris F. schrieb: > 2 Schrittmotoren Nema 17, diese ich mit TMC2208 Treiber steuere (12V)
mitdenker schrieb: > Chris F. schrieb: >> einen 12V Schaltnetzteil > > Chris F. schrieb: >> als einen 2ten Schaltnetzteil zu holen. > > Chris F. schrieb: >> Der Servo zieht sehr viel, gemessen habe ich Ihn > > Der Schaltnetzteil? Der Servo? > Bei diesem Deutsch biegen sich mir die Zehennägel hoch. Echt? Dann wird es mal Zeit die Nägel zu schneiden. LEUTE, wenn solche DUMMEN Antworten kommen, lasst es doch einfach zu schreiben!!!! Ich finde es einfach DOOF, dass man hier als GAST schreiben kann. Das es immer Leute gibt, die sich verstecken und lieber als Gast ihr Senf dazu abgeben.
Chris F. schrieb: > LEUTE, wenn solche DUMMEN Antworten kommen, lasst es doch einfach zu > schreiben!!!! Darüber regst Du dich auf (kann ich verstehen), antwortest aber nicht auf Fragen/Anmerkungen (kann ich nicht verstehen).
Ja, Sorry. Mir ist die Lust vergangen, da es immer solche Leute gibt, die einen einfach nicht in Ruhe lassen. Ich weiß leider nicht, was bei Ihm im Leben schief gelaufen ist. Mit etwas anstand lässt man die Leute einfach machen oder gibt einen netten Hinweis darauf. Ich werde mir die Antworten noch mal durchlesen und mich dann nochmal Melden. Gruss
Stefan ⛄ F. schrieb: > Chris F. schrieb: >> Das die LEDs minimal Dunkler werden, ist mir inzwischen egal und werde >> es einfach mal so belassen, wie es ist. > > Mir wäre das nicht egal, denn es ist ein eindeutiges Zeichen dafür, dass > dein 5V Regler insgesamt überlastet ist. Was eigentlich nur sein kann, > wenn dein zusätzlicher Transistor verpolt oder defekt ist. Vermutlich > fließt der Strom bei dir nur durch den 7805, welcher ihn auf etwas mehr > als 1A begrenzt, weswegen die 5V auf weniger absacken. Ob und wie lange > die Elektronik dahinter (incl. Servos) mit schwankender Spannung unter > 5V zuverlässig läuft, steht in den Sternen. Ich habe die Schaltung eigentlich richtig aufgebaut, so wie ich es im Schaltplan gezeichnet habe. Oder einfach mal einen kleineren Servo verwenden, der etwas weniger verbraucht. Patrick L. schrieb: > Stefan ⛄ F. schrieb: > Also ich tippe auf Sternbild Schütze, > Der Zerschiesst dir die Schaltung über kurz oder lang. ;-) > > Also der Tipp der anderen Poster ist schon berechtigt: > 1.) Transistor Korrekt angeschlossen? > 2.) PWM Wandler anstelle von Linearregler > 3.) ev. Regler Doppelt nehmen > 4.) Kräftiger Transistor > 5.) Diode nicht weglassen sondern eine Kräftigere rein (So 10A) > > ein Servo gibt ja schon an dass er bis 2.5A ziehen kann, was eine Klare > 3~4 fache Überlast deines Reglers darstellt. > Das zeigt dir ja klar die LED an dass da ein Lastproblem auftritt. Ich habe die Schaltung eigentlich richtig aufgebaut, so wie ich es im Schaltplan gezeichnet habe. Ich habe hier noch einen Spannungswandler (L78S05CV) 2A, der leider nicht funktioniert, wenn ich den Transistor noch hinzu schalte. Stefan ⛄ F. schrieb: > Harald schrieb: >> Bei dem Preis kannst Du zur Not auch jedem Servo einen Regler >> spendieren. > > Was nützt ihm ein 1A Spannungswandler wenn der Servo 2,5A braucht? > > Interessanter sehe da die 3A China-Boards aus > (https://www.amazon.de/Aideepen-Step-Down-Stromversorgungsmodul-einstellbares-Spannungsregler/dp/B08YRBS8TF). > Aber obacht, die vertragen die versprochenen 3A nur kurzzeitig. So wie die Schaltung aufgebaut ist, sollten bis zu 5A kein Problem sein. Harald schrieb: > Chris F. schrieb: >> ich möchte keine 2 >> Schaltnetzteile für meine Schaltung. > > Weil? Ästhetik? Meine Schaltung kommt später in ein Gehäuse und würde gerne Platz sparen, deshalb wäre mir 1 Netzteil lieber. Gruss
Chris F. schrieb: > Ich habe hier noch einen Spannungswandler (L78S05CV) 2A, der leider > nicht funktioniert, wenn ich den Transistor noch hinzu schalte. Hi, laut Seite 21 im Dabla müsste es gehen. Karl B. schrieb: > BTW: > Kleine Grundlast ist bei den "Extended" vorteilhaft. Es ist eine Grundlast nötig. Ein Widerstand am Ausgang reicht. ciao gustav
Chris F. schrieb: > Meine Schaltung kommt später in ein Gehäuse und würde gerne Platz > sparen, deshalb wäre mir 1 Netzteil lieber. War mir prinzipiell klar, nur dachte ich z.B. an die Möglichkeit, gleich große Module mit Abstandshaltern übereinanderzusetzen und seitlich einen Lüfter dazu. Macht man das bspw. mit dreien, und stapelt dazwischen die Abstandshalter, ist eine Erweiterung auf vier oder fünf (später) kein großes Ding. (Das geht halt bis <= Ausgangsleistung(max) des 12V Netzteils multipliziert mit Wirkungsgrad der Step-Down - bei synchronen Step-Down auch gern deutlich oberhalb 90% - und mit so einem Linearregler ist die Ausnutzung des 12V-Netzteils ebfs. miesest, und Du redetest ja von "später noch mehr dran hängen können". Inwieweit das vorteilhaft oder gar unverzichtbar ist, kann man natürlich ohne die P_max des 12V NT (und nicht Deine zAbsichten was Du da dranhängen werden willst) zu kennen schlecht sagen, aber vorteilhafter ist es bestimmt, einen Linearregler stärker zu machen ist eher ... na ja.) Hätte ich besser ganz genau dazusagen sollen. Chris F. schrieb: > Ich finde es einfach DOOF, dass man hier als GAST schreiben kann. Auch Gäste können es ernst meinen, helfen zu wollen. Aber ich sehe recht deutlich, was Du meinst.
Chris F. schrieb: > Meine Schaltung kommt später in ein Gehäuse und würde gerne Platz > sparen, Aber das ist doch gerade eines der Hauptvorteile eines SNT gegenüber Linearnetzteilen.
Ah, ich glaube Du denkst bei SNT ausschließlich an ACDC und nicht an DCDC (Module) auf der Platine, richtig?
Wie wäre es mit diesen Modulen https://de.aliexpress.com/item/1005002639123831.html Die bringen auch mal kurzzeitig 3A, wobei dann die Spannungsqualität sicherlich nicht mehr besonders hoch ist, das dürfte dem Servo aber egal sein. Sehr kurze Spitzen von über 3A kann auch ein Kondensator abfedern. Pro Servo ein Modul verwenden.
Chris F. schrieb: > Ich habe hier noch einen Spannungswandler (L78S05CV) 2A, der leider > nicht funktioniert, wenn ich den Transistor noch hinzu schalte. Ja du hast im Prinzip ja eins Spannungsfolger aufgebaut, Diese entlastet den L78S05CV so weit das er nicht mehr regeln kann. Dazu müsstest du die Schaltung etwas anpassen, weil der L78S05CV anders reagiert als der 78L05 ich hab jetzt aber die Datenblätter nicht im Kopf, da müsstest du mal nachsehen. Mir ist allerdings die Schaltung dann (Siehe Bild Quelle: Grafik: N1HFX) bekannt um den LM zu Puffern. Wobei R1 und R2 nur benötigt werden wenn man auch die Spannung anpassen will.
1 | R1 Entfällt |
2 | R2 0 Ohm |
3 | R3 10 Ohm ¼ Watt |
4 | R4 1 Ohm 1/2 Watt |
5 | Q1 MJE34 oder ähnlicher PNP-Schalttransistor |
6 | Q2 2N3055 oder ähnlicher NPN-Schaltransistor. |
Wobei wenn du die Schaltung gem. der Appnote aufbaust, ist es ja egal welchen 7805 Typ du verwendest, der muss ja dann nur den Basisstrom des Transistors bringen. Wenn er aber zu Kräftig ist regelt er nicht mehr richtig, weil der LM7805 ja den Spannungsabfall "merken" muss und wen der Transistor dies nicht an den LM weiterleitet regelt der bei Lastveränderungen nur schwer, träge oder gar nicht mehr.
Harald schrieb: > Chris F. schrieb: >> Meine Schaltung kommt später in ein Gehäuse und würde gerne Platz >> sparen, > > Aber das ist doch gerade eines der Hauptvorteile eines SNT gegenüber > Linearnetzteilen. Danke, ich werde mir das mal ansehen. Fritz schrieb: > Chris F. schrieb: >> Ich finde es einfach DOOF, dass man hier als GAST schreiben kann. > > Auch Gäste können es ernst meinen, helfen zu wollen. Aber ich > sehe recht deutlich, was Du meinst. Ja, das stimmt schon. Fritz schrieb: > Chris F. schrieb: >> Meine Schaltung kommt später in ein Gehäuse und würde gerne Platz >> sparen, deshalb wäre mir 1 Netzteil lieber. > > War mir prinzipiell klar, nur dachte ich z.B. an die Möglichkeit, > gleich große Module mit Abstandshaltern übereinanderzusetzen und > seitlich einen Lüfter dazu. Macht man das bspw. mit dreien, und > stapelt dazwischen die Abstandshalter, ist eine Erweiterung auf > vier oder fünf (später) kein großes Ding. Ich werde nur max. 2 Servos anschließen, sowie 6 LEDS und einen ESP32 Controller, die über 5V laufen. Ich denke, mehr kommt da nicht dazu außer noch 2 Schrittmotortreiber, die dann über 12V versorgt werden. Harald schrieb: > Wie wäre es mit diesen Modulen > https://de.aliexpress.com/item/1005002639123831.html > > Die bringen auch mal kurzzeitig 3A, wobei dann die Spannungsqualität > sicherlich nicht mehr besonders hoch ist, das dürfte dem Servo aber egal > sein. Sehr kurze Spitzen von über 3A kann auch ein Kondensator abfedern. > Pro Servo ein Modul verwenden. Vielen Dank. Das wäre auch eine Möglichkeit. Ich habe zwar schon einiges bestellt für den Regler, aber wenn die Module dafür ausreicht, dann werde ich 3 Stück verwenden (2x für die 2 Servos und 1x für die LEDs und den ESP32 Controller). Ich werde dann auf meiner Platine ein Stecksystem machen um die Module dann da drauf stecken zu können, mit Stiftleiste/Buchsenleiste. Patrick L. schrieb: > Chris F. schrieb: >> Ich habe hier noch einen Spannungswandler (L78S05CV) 2A, der leider >> nicht funktioniert, wenn ich den Transistor noch hinzu schalte. > > Ja du hast im Prinzip ja eins Spannungsfolger aufgebaut, > Diese entlastet den L78S05CV so weit das er nicht mehr regeln kann. > Dazu müsstest du die Schaltung etwas anpassen, weil der L78S05CV anders > reagiert als der 78L05 ich hab jetzt aber die Datenblätter nicht im > Kopf, da müsstest du mal nachsehen. > Mir ist allerdings die Schaltung dann (Siehe Bild Quelle: Grafik: N1HFX) > bekannt um den LM zu Puffern. Wobei R1 und R2 nur benötigt werden wenn > man auch die Spannung anpassen will. >
1 | > R1 Entfällt |
2 | > R2 0 Ohm |
3 | > R3 10 Ohm ¼ Watt |
4 | > R4 1 Ohm 1/2 Watt |
5 | > Q1 MJE34 oder ähnlicher PNP-Schalttransistor |
6 | > Q2 2N3055 oder ähnlicher NPN-Schaltransistor. |
7 | > |
> Wobei wenn du die Schaltung gem. der Appnote aufbaust, ist es ja egal > welchen 7805 Typ du verwendest, der muss ja dann nur den Basisstrom des > Transistors bringen. Wenn er aber zu Kräftig ist regelt er nicht mehr > richtig, weil der LM7805 ja den Spannungsabfall "merken" muss und wen > der Transistor dies nicht an den LM weiterleitet regelt der bei > Lastveränderungen nur schwer, träge oder gar nicht mehr. Ich danke Dir für die Mühe und werde mir das mal abspeichern, aber sind da keine Kondensatoren notwendig? Und wäre es nicht besser mehrere Regler zu verwenden (2x für die 2 Servos und 1x für die LEDs und den ESP32 Controller)? Gruss
Chris F. schrieb: > aber sind > da keine Kondensatoren notwendig? Doch aber ja "Selbstverständlich" SORRY natürlich braucht es die. Laut angaben sollte die Schaltung bis 10A machen(120Watt Verlustleistung) Habe das jetzt aber nicht verifiziert. > Und wäre es nicht besser mehrere Regler zu verwenden ? Denke der kann alles Versorgen ohne ernsthaft in die "Knie" zu gehen. Kühlkörper nicht vergessen 120Watt wären dann eine Menge "Holz"! Diese Schaltung wird gerne bei Amateurfunker verwendet, da sie nicht wie ein Switcher-Netzteil die KW stört.
Patrick L. schrieb: > Chris F. schrieb: >> aber sind >> da keine Kondensatoren notwendig? > > Doch aber ja "Selbstverständlich" SORRY natürlich braucht es die. > Laut angaben sollte die Schaltung bis 10A machen(120Watt > Verlustleistung) > Habe das jetzt aber nicht verifiziert. >> Und wäre es nicht besser mehrere Regler zu verwenden ? > Denke der kann alles Versorgen ohne ernsthaft in die "Knie" zu gehen. > Kühlkörper nicht vergessen 120Watt wären dann eine Menge "Holz"! > > Diese Schaltung wird gerne bei Amateurfunker verwendet, da sie nicht wie > ein Switcher-Netzteil die KW stört. Vielen Dank. Im Anhang habe ich mal eine Schaltung beigefügt, wäre das so in etwa OK? Gruss
Chris F. schrieb: > 12V Brauche ich nur für 2 TMC2208 Treiber Nochmal zu deinen Steppern. Ich weiß ja nicht, welche Spannung deine Motoren haben, ich hoffe ja mal nicht, dass Du bei 12V Systemspannng auch 12V Stepper genommen hast. Falls Du doch schon 12V Stepper gekauft hast würde ich dann eher für 24V Systemspannung plädieren. Es sei denn die Stepper müssen weder schnell noch dynamisch sein.
Harald schrieb: > Sehr kurze Spitzen von über 3A kann auch ein Kondensator abfedern. > Pro Servo ein Modul verwenden. Der Servo hat keine "sehr kurzen Spitzen" bei der Stromaufnahme. Die Stromaufnahme steigt heftig an, wenn er blockiert wird (und natürlich kurz auch beim Anlaufen). Da kommt es auf die Mechanik an, was für Belastungen zu erwarten sind und wie lange die anhalten.
Chris F. schrieb: > Im Anhang habe ich mal eine Schaltung beigefügt, wäre das so in etwa OK? Ahh nein, C1 ist am falschen Ort. Der macht dir den Regler dann Ultraträge und beginnt bei Laständerung zu wellen. Platziere den auf der anderen Seite von R3 gegen GND.
Chris F. schrieb: > Ich habe die Schaltung eigentlich richtig aufgebaut Warum funktioniert sie dann nicht? Ich empfehle Messen statt Raten.
Wolfgang schrieb: > Der Servo hat keine "sehr kurzen Spitzen" bei der Stromaufnahme. Ich hatte mir beim Schreiben schon gedacht, dass ein Kommentar in diese Richtung kommen wird. Stromversorgungen für Servos sind meiner Meinung nach immer etwas schwierig in der Auslegung. Die Frage ist ja, wie Du schon geschrieben hast, wie die tatsächliche Belastung aussieht. Oben stand etwas von 3,xA. Wie sind denn die zustande gekommen bei dieser Servogröße? Festgehalten? Man könnte jetzt 5A Module raussuchen oder designen, ließe sich sogar mit modernen Schaltreglern sehr klein hinbekommen. Aber reichen dann 5A? Oder besser 8A? Oder ein zentrales Netzteil mit 20A, falls mal alles gleichzeitig blockiert? Ich würde an seiner Stelle mal mit den 5V 3A Modulen starten und sehen, wo man damit landet. Es sei denn er kann alle Betriebsbedingungen vorher exakt definieren. Dann kann man besser planen.
Patrick L. schrieb: > Chris F. schrieb: >> Im Anhang habe ich mal eine Schaltung beigefügt, wäre das so in etwa OK? > > Ahh nein, C1 ist am falschen Ort. > Der macht dir den Regler dann Ultraträge und beginnt bei Laständerung zu > wellen. > Platziere den auf der anderen Seite von R3 gegen GND. Ich danke Dir für den Hinweis und habe es soeben korrigiert. Harald schrieb: > Chris F. schrieb: >> 12V Brauche ich nur für 2 TMC2208 Treiber > > Nochmal zu deinen Steppern. Ich weiß ja nicht, welche Spannung deine > Motoren haben, ich hoffe ja mal nicht, dass Du bei 12V Systemspannng > auch 12V Stepper genommen hast. Falls Du doch schon 12V Stepper gekauft > hast würde ich dann eher für 24V Systemspannung plädieren. Es sei denn > die Stepper müssen weder schnell noch dynamisch sein. Vielen Dank. Bei den TMC2208 Treibern kann ich zwischen 4.75 und 36V wählen. Für meine Schaltung genügt 12V und da ich noch einen 12V Schaltnetzteil hier rum liegen habe, werde ich es auch verwenden. Stefan ⛄ F. schrieb: > Chris F. schrieb: >> Ich habe die Schaltung eigentlich richtig aufgebaut > > Warum funktioniert sie dann nicht? Ich empfehle Messen statt Raten. Es funktioniert ja, nur muss ich mal schauen, woher die 3,xA her kommen. Gruss
Chris F. schrieb: > Es funktioniert ja, nur muss ich mal schauen, > woher die 3,xA her kommen. Ich kann dir nicht folgen. Dein letzter Kommentar zur Funktion war der: Chris F. schrieb: > Das die LEDs minimal Dunkler werden, ist mir inzwischen egal und werde > es einfach mal so belassen, wie es ist. Dass heißt, dein 5V Linear Regler liefert keine stabilen 5V obwohl sowohl das Netzteil als auch der Regler für 5A ausgelegt sind und der Servo deutlich weniger Strom aufnimmt. Also für mich ist das eindeutig kaputt! Die Schaltung hat einen erheblichen Fehler.
Ich weiß, das die Inbetriebnahme dieser analogen Netzteilschaltung die ursprüngliche Frage war. Allerdings wäre es doch mal Zeit, den TE mal von diesem Heizmonster aus den 70ern endgültig abzubringen. Das alles passt doch weder in die Zeit noch zur folgenden Aussage. Chris F. schrieb: > Meine Schaltung kommt später in ein Gehäuse und würde gerne Platz > sparen,
Stefan ⛄ F. schrieb: > Chris F. schrieb: >> Es funktioniert ja, nur muss ich mal schauen, >> woher die 3,xA her kommen. > > Ich kann dir nicht folgen. Dein letzter Kommentar zur Funktion war der: > > Chris F. schrieb: >> Das die LEDs minimal Dunkler werden, ist mir inzwischen egal und werde >> es einfach mal so belassen, wie es ist. > > Dass heißt, dein 5V Linear Regler liefert keine stabilen 5V obwohl > sowohl das Netzteil als auch der Regler für 5A ausgelegt sind und der > Servo deutlich weniger Strom aufnimmt. > > Also für mich ist das eindeutig kaputt! Die Schaltung hat einen > erheblichen Fehler. Ich habe die Schaltung nochmals neu aufgebaut auf einem Breadboard, nun werden die LEDs jetzt nicht mehr Dunkel, wenn ich den Servo starte. Also hatte ich irgendwo einen Fehler, den ich übersehen hatte. Gruss
Chris F. schrieb: > Also hatte ich irgendwo einen Fehler, den ich übersehen hatte. Aha, dachte ich mir. Schön dass es jetzt klappt. Viel Spaß!
dein Problem, Chris F., bei diese Schaltung liegt in der Versorgungsarchitektur. Steuerelektronik und gesteuerte Aktuatoren werden nie an die gleihe Versorgungslinie angeschlossen. Der Prozessor braucht störsignalfreie stabilisierte Spannung. Der Servo braucht viel Strom und erzeugt Störungen, dabei braucht er nicht wirklich Stabilisierung, ausser ein gesundes Elko mit mindestens 1000µF per verbrauchtes Amper und zusätzlich ein paar Entstörkerkos 100nF, so nahe am Motor wie nur möglich. Normalerweise der Servo wird direkt an die 12V angeschlossen, und die Steuerelektronik hinter der 5V StabIC. Wenn der 12V zu viel ist für den Servo, regle den 12V Netzteil runter auf 7.5-8V. Der 5VStab kann auch von dort seinen 5V erzeugen, dabei verbratet er auch wesentlich weniger auch. Wenn den Netzteil nicht öffnen willst, und der Servo mit PWM gesteuert wird, sinke den PWM Füllfaktor runter, damit er mit dem 12V auch arbeiten kann. Du brauchst kein zweites Netzteil.
Harald schrieb: > Man könnte jetzt 5A Module raussuchen oder designen, ließe sich sogar > mit modernen Schaltreglern sehr klein hinbekommen. Aber reichen dann 5A? > Oder besser 8A? Der Strom ist durch den Ohmschen Widerstand der Spule gegrenzt. Mehr als das Ohmsche Gesetz zulässt, kann nicht fließen. Besser wäre eine Ansteuerung, die den Blockierzustand erkennt und den Strom abdreht, da der Zustand auf Dauer wahrscheinlich zu thermischen Problemen führt (oder es ist eine thermische Sicherung drin). edd schrieb: > Wenn der 12V zu viel ist für den Servo, regle den 12V Netzteil runter > auf 7.5-8V. Und womit sollen die Schrittmotoren laufen? Die brauchen die Spannung vielleicht, auch wenn darüber bisher noch nichts verraten wurde.
edd schrieb: > Wenn der 12V zu viel ist für den Servo, regle den 12V Netzteil runter > auf 7.5-8V. Und womit sollen die Schrittmotoren laufen? Die brauchen die Spannung vielleicht, auch wenn darüber bisher noch nichts verraten wurde. hallo, die Schrittmotoren gehen laut Amazon Produktbeschreibung mit 7.5V max, wie ich sehe. Hast Du die jetzt auf der 12V Leitung oder auf 5V nach dem Linearregler?
edd schrieb: > die Schrittmotoren gehen laut Amazon Produktbeschreibung mit 7.5V max, > wie ich sehe. Hast Du die jetzt auf der 12V Leitung oder auf 5V nach dem > Linearregler? Du scheinst dich noch nicht so viel mit richtigem Schrittmotor-Betrieb beschäftigt zu haben. Für einen 7,5V Motor wäre selbst 12V eigentlich noch zu wenig, besser 24V.
Wolfgang schrieb: > Der Strom ist durch den Ohmschen Widerstand der Spule gegrenzt. Mehr als > das Ohmsche Gesetz zulässt, kann nicht fließen. Das ist mir klar, ich kenne seine Servos nicht und kann daher nur raten. Die genannten Werte waren einfach mal aus der Luft gegriffen. Ein kurzschlussfestes Einzelnetzteil vor jedem Servo hätte genau den Effekt und die Logikversorgung extra. Meine Meinung ist, das für das verlinkte Servo 15W absolut sollten.
Harald schrieb: > Du scheinst dich noch nicht so viel mit richtigem Schrittmotor-Betrieb > beschäftigt zu haben. Für einen 7,5V Motor wäre selbst 12V eigentlich > noch zu wenig, besser 24V. Kommt drauf an, ob man sie mit Stromregelung oder spannungsgesteuert verwendet. TMC2208 ist aber ein Stromregler. Mit nur 3.5V mehr als rms-Motornennspannung kommt der natürlich nur auf gringe Dtehzahlen
Da hast Du natürlich Recht, MaWin. Aber den Treiberbaustein hatte er ja genannt.
Ich danke euch für die Antworte. edd schrieb: > edd schrieb: >> Wenn der 12V zu viel ist für den Servo, regle den 12V Netzteil runter >> auf 7.5-8V. > > Und womit sollen die Schrittmotoren laufen? Die brauchen die Spannung > vielleicht, auch wenn darüber bisher noch nichts verraten wurde. > > hallo, > die Schrittmotoren gehen laut Amazon Produktbeschreibung mit 7.5V max, > wie ich sehe. Hast Du die jetzt auf der 12V Leitung oder auf 5V nach dem > Linearregler? Den Schrittmotor habe ich an meinem TMC2208 Treiber angeschlossen und der Treiber bekommt direkt 12V. Für meine Zwecke reicht das und ich brauche keine hohe Drehzahl. Der Schrittmotor läuft auch so wie es soll. Für die Steuerung des Schrittmotors verwende ich 2 Libraries: - TMCStepper - AccelStepper
Bitte melde dich an um einen Beitrag zu schreiben. Anmeldung ist kostenlos und dauert nur eine Minute.
Bestehender Account
Schon ein Account bei Google/GoogleMail? Keine Anmeldung erforderlich!
Mit Google-Account einloggen
Mit Google-Account einloggen
Noch kein Account? Hier anmelden.












