Hallo Leute, hat einer von euch einen Schaltplan für das EAV Dermatron von der Firma Pitterling Bj. um 1980? Vielen Dank im voraus
Hallo, hat vielleicht einer zu dem EAV Dermatron eine Bedienungsanleitung?
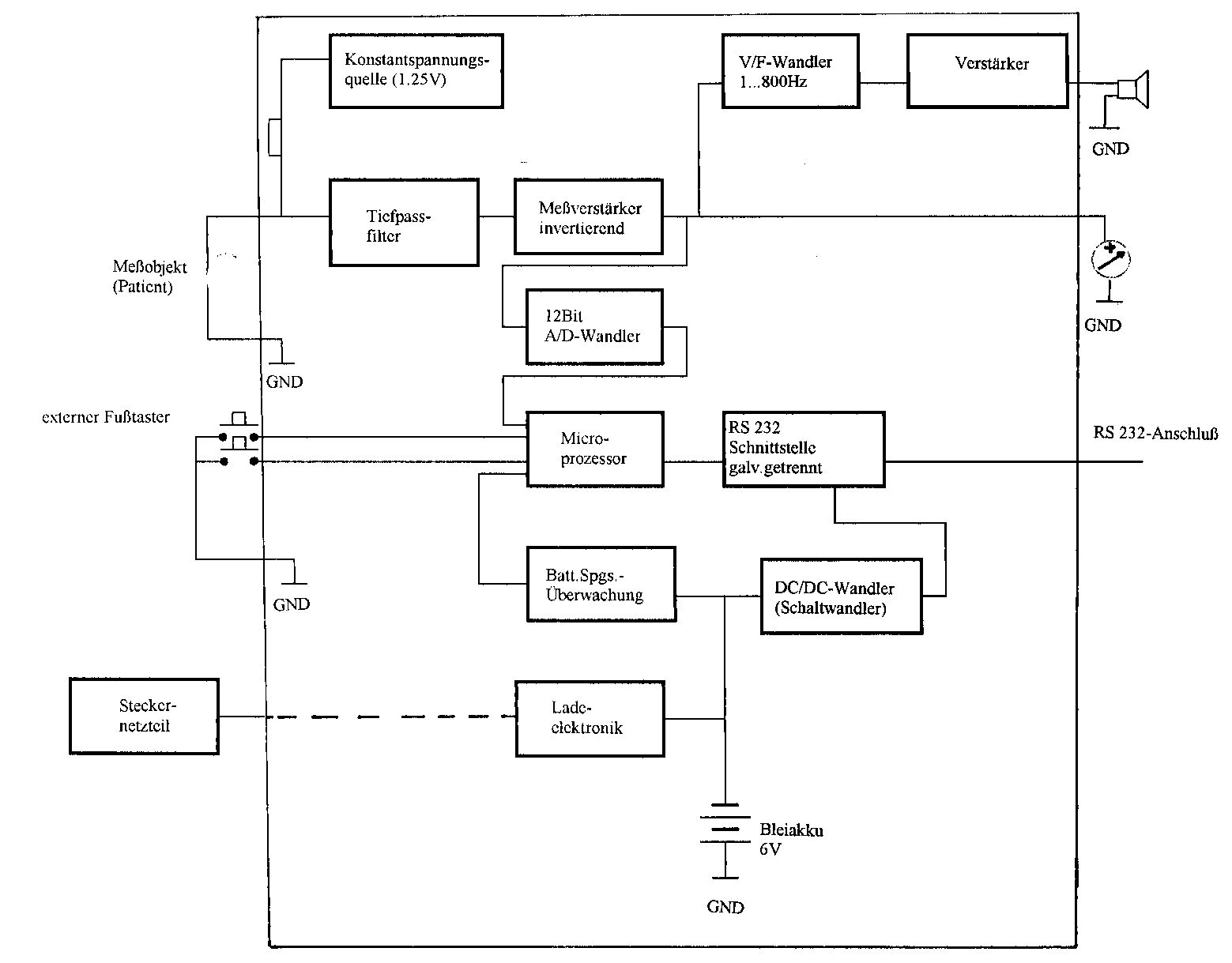
Hier ist eine kleine, allgemeine Beschreibung. Wenn jemand eine genauere Bedienungsanleitung hat bin ich auch daran interessiert. Danke.
Hier habe Ich noch eine Datei über das Funktionsprinzip der Elektroakupunktur nach Voll.An einer Bedienungsanleitung wäre Ich auch interessiert.
Hallo, ich habe die Bedienungsanleitung die Ihr sucht.
Mein Gott... " Kirlianfotographie ", siehe Buch " Psi ", Scherzverlag) Mir wird so schlecht... Weiterzulesen wäre schlecht für mein Karma. Was hat das Ding gekostet ?????
Welches Ding meinst Du? Die Bedienungsanleitung hat 0€ gekostet.
Hallo, hier noch ein Heft zum Dermatron-Zubehör
Hallo, hat wirklich keiner einen solchen Schaltplan? wäre auch interessiert an einem schaltplan für dieses EAV Gerät oder andere. Gruß Klaus
Hallo Klaus, den Schaltplan wirst du wohl niemals bekommen, weil sich einfach keiner traut den Schaltplan hier hochzuladen. Wohl Angst wegen Anzeige und so. Wenn ich ihn hätte würde ich ihn dir hochladen, weil ich es scheiße finde das diese Firmen ihre Schaltpläne so geheim halten. MfG
und zu viel Geld machen die auch mit den Geräten. Dafür ist einfach zu wenig drinne in diesen Geräten um den Preis gerecht zu werden.
Hallo, hat wirklich keiner einen Schaltplan für Ihn?
Ist denn das mit dem Schaltplan noch aktuell? Die Frage ist ja 2 Jahre alt. Im Elternhaus steht ein ganzer Ordner über das Dermatron - ob da ein Schaltplan dabei ist weiß ich nicht. Bevor ich mich auf die Suche mache möchte ich schon gern wissen, ob das noch jemanden interessiert.
EAV == Erste Allgemeine Verunsicherung SCNR mfg mf
Hallo Neutron, handelt es sich um das Dermatron, das hier abgebildet wurde? Ich hätte auf alle fälle Interesse an dem Ordner, auch wenn es sich nur um Kursunterlagen handeln sollte. Wie könnten wir eventuell in Kontakt treten? MfG
Hallo, biete ein Dermatron ST Gerät von der Fa. Pitterling Electronics zum Verkauf an. Sowie diverse andere Testgeräte. Dunkelfeldmikroskop. Viele Testsätze. Bicom 2000 Gerät. Bei Interesse bitte E-mail an Naturhexe@gmx.net
Hallo Neutron, den Schaltplan suche ich immer noch. Steht das Angebot mit dem Ordner den noch? MfG Hans Werner
Leider habe ich keinen Schaltplan gefunden. Mein Vater hatte die Firma Pitterling angeschrieben, mit der Bitte, ihm einen zu schicken, was abgelehnt wurde: Betriebsgeheimnis. Gerät und Ordner habe ich inzwischen abgegeben.
Suche auch einen Schaltplan oder Infos zu dem Gerät.
Hallo, ich bin auf der Suche nach einer Bedienungsanleitung oder/und Tips zum Einrichten und Betreiben des Dermatron ST mit touchscreen nach Pitterling. Wer hat Erfahrung oder kann Kontakt vermitteln? Danke für Rückmeldung!
Hallo Einen Schaltplan für das Dermatron habe ich leider auch nicht. Aber ich habe ein Dermatron ST mit Touchscreen. Dazu gehört ein Schränkchen mit Testampullen die direkt über den Touchscreen ansteuerbar sind ohne sie zu entnehmen. Dafür habe ich eine Bedienungsanleitung. Ich habe das Gerät schon länger nicht in Gebrauch und bin gerade dabei es zu verkaufen.
Ich bin im Besitz einer Betriebsanleitung für das Gerät... mfg khw
Hallo, sind zwar schon etwas älter die Einträge, aber evtl. ist ja noch jemand da, der dazu was hat. Ich würde auch eine Bedienungsanleitung für ein Pitterling Dermatron ST brauchen. Wär super, wenn wer was hätte :-) Danke :-) mfg
Hallo, ich bräuchte auch eine Bedienungsanleitung für das Dermatron St. Kann da jemand helfen?
ich bin im besitz einer betriebsanleitung. EAV-Dermatron. Elektroakupunktur nach Dr, Voll 22 Seiten cwepner@web.de
Hah, witzig! Bei der Firma hab ich gearbeitet, allerdings im Wesentlichen als Software-Entwickler. Das war so von 1982 ... 1985. Zuerst in der Akademiestr., dann in der Lindwurmstr. Schaltpläne oder irgendwelche Unterlagen hab ich keine. Natürlich gab es Schaltpläne, die waren auch alle (zu meiner Zeit) schön von Hand gezeichnet. Von mir war die Software auf dem Apple II und die Graphikkarte mit Lichtgriffel. Oh Mann, ist das lang her...
Hättet ihr zu Beginn des Threads angefangen den Schaltplan zu reversen, wärt ihr vor 10 Jahren schon damit fertig gewesen.
Es ist erstaunlich wie viele Leute Interesse an so einer Schwindelelektronik haben. Kann das mal einer erklären?
Cyblord -. schrieb: > Es ist erstaunlich wie viele Leute Interesse an so einer > Schwindelelektronik haben. Kann das mal einer erklären? Vorweg: Ich hab absolut nichts mehr mit der Firma zu tun. Das war meine erste Anstellung. Ich bin sicherlich kein Esoteriker und trink auch keinen Fencheltee mit Ingwerkeksen. Man kann das einfach in zwei Bereiche aufteilen: Der erste ist Akkupunktur, zusammen mit den ganzen Akkupunktur-Punkten. Der zweite Teil ist Homöopatie. Das mit der Akkupunktur und deren Wirksamkeit wird zumindest von einigen anerkannt. Mit der EAV (= Elektroakkupunktur nach Dr. Voll) werden die Punkte rausgemessen (deutliche Änderung im Leitwert) und dann elektisch stimmuliert (statt eine Nadel reinzustecken und die zu drehen). Also wer mit der Akkupunktur zurechtkommt, wird den Teil auch akzeptieren können. Diesen Punkt bekommt man als kompletter Laie (ich) mit 5 Minuten Übung hin. Reproduzierbar. So, jetzt kommt der verschwurbelte Teil. Wird aber von Heilpraktikern anerkannt. Wie man das für sich einsortieren will, bleibt jeden selbst überlassen. In den Stromkreis des Messgriffels wird eine Nosode (https://de.wikipedia.org/wiki/Nosode) eingefügt. D.h. Aluscheibe mit Sacklöchern in die eine oder mehrere Ampullen gestellt werden. Der Leitwert ändert sich dann irgendwie und die Änderung kann am Instrument abgelsesen werden. Der Messgriffel war so konstruiert, dass die Messkraft immer gleich war. Wie gesagt, irgendwie hat das funktioniert und letztendlich war es mir egal. Ich hab Software für die Patientenverwaltung geschrieben. Bin also raus. :-))
Hallo, kann mir jemand den Schaltplan + Bedienungsanleitung für EAV Dermatron von der Firma Pitterling als PDF / Link bereitstellen. Dafür wäre ich Euch sehr dankbar. Das Gerät wurde 1980 gebaut.
Tam A. schrieb: > Hallo, kann mir jemand den Schaltplan + Bedienungsanleitung für > EAV > Dermatron von der Firma Pitterling als PDF / Link bereitstellen. Dafür > wäre ich Euch sehr dankbar. Das Gerät wurde 1980 gebaut. Schau mal hier: https://de.scribd.com/doc/227121677/Instrucciones-Dermatron
Hi friends I am Dr Ravindra from India Does any one can provide me dermatron st's Accessoires & it's repair user manual, eav courses teaching materials... Does any one interested to work with me to produce eav+ bioreasonanz+ high tech Advanced multidisciplinary multidimensional Globally Synchronized Scientific Vedantic Yogic successful Health research model for diagnosis, prognosis, preventive, therapeutic Protocols without any side effects both for doctors & patients based on the eav Plz contact me on my WhatsApp # 00 91 98251 35559 & email ID dr_ravindra99@rediffmail.com Thanks Regards Dr Ravindra
Bitte melde dich an um einen Beitrag zu schreiben. Anmeldung ist kostenlos und dauert nur eine Minute.
  
  Bestehender Account
  
  
  
  Schon ein Account bei Google/GoogleMail? Keine Anmeldung erforderlich!
Mit Google-Account einloggen
Mit Google-Account einloggen
  Noch kein Account? Hier anmelden.



 Thread beobachten
 Thread beobachten Seitenaufteilung abschalten
 Seitenaufteilung abschalten