Hallo, hat von euch schon mal jemand eine ESD Pistole aufgeschraubt? Mich würde interessieren, welches Schaltelement hier verbaut wird. Soweit ich den Markt recherchiert habe, kann es eigentlich nur ein Vakuum-Relais sein, oder? Auf eBay hab ich welche von Kilovac, Siemens und ITT Jennings gefunden. Übliche Typen findet man mit 10 bis 25kV. Wie verhalten sich solche Relais beim Einschalten? Gibt es hier einen Lichtbogen? Wie wirkt sich der auf die Anstigszeit des ESD-Impulses aus? Wie hier Beitrag "ESD Pistole Selbstbau" schon mal vermerkt wurde, gibt es kein Open Source Projekt, das so eine ESD Pistole beschreibt. In Zeiten von 3D-Druck sollte sich hier doch um 150 bis 300€ Hardwarekosten was machen lassen. LG, Karl
Karl Z. schrieb: > Soweit ich den Markt recherchiert habe, kann es eigentlich nur ein > Vakuum-Relais sein, oder? Ich kenne so etwas als Lecksucher für Glasapparaturen. Darin ist eine Zündspule und ein kleiner Speicherkondensator enthalten. Als schneller Schalter, der den geladenen Kondensator in die Primärwicklung des Zündübertragers entlädt, dient ein handelsüblicher Überspannungs-Gasableiter, wie er u.a auch in Telefonanlagen Verwendung findet. Alternativ gibt es z.B. bei STM so genannte FLIC (Fire Lighter Integrated Circuit), also Gasanzünder-ICs, bei denen es sich im Prinzip um leistungstarke Diac mit Durchbruchspannungen über 200V handelt. Ein anderer scneller Hochspannungsschalter, der seit wohl bald 100 Jahren in der KFZ-Technik bekannt ist, ist die Vorfunkenstrecke. Die Vofunkenstrecke wird direkt an der Zündkerze in das Zündkabel eingeschleift und ermöglicht es, dass trotz nasser oder verrußter Kerzen ein Zündfunken zustande kommen kann, weil sich das Zündkabel ohne den Leckstrom auf sehr hohe Spannung aufladen kann, bis die Vorfunkenstrecke zündet.
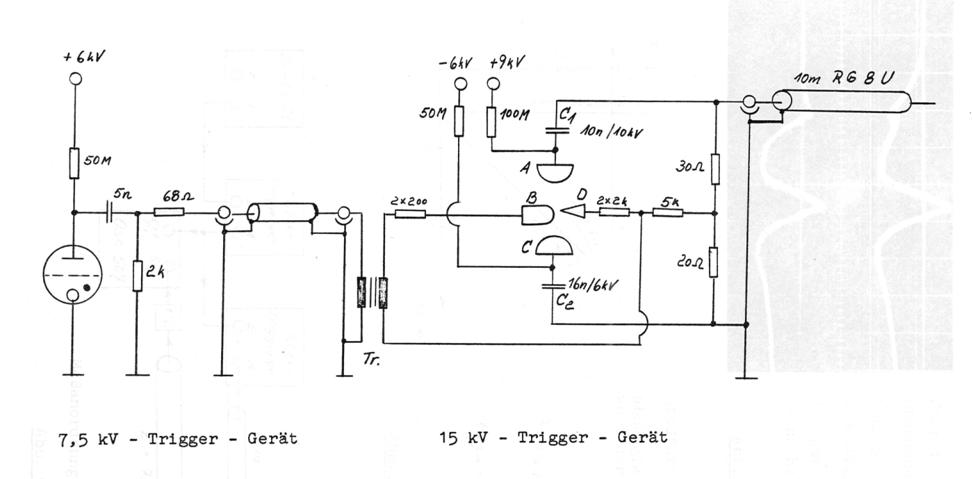
Hp M. schrieb: > Ein anderer scneller Hochspannungsschalter, der seit wohl bald 100 > Jahren in der KFZ-Technik bekannt ist, ist die Vorfunkenstrecke. > Die Vofunkenstrecke wird direkt an der Zündkerze in das Zündkabel > eingeschleift und ermöglicht es, dass trotz nasser oder verrußter Kerzen > ein Zündfunken zustande kommen kann, weil sich das Zündkabel ohne den > Leckstrom auf sehr hohe Spannung aufladen kann, bis die Vorfunkenstrecke > zündet. Danke für den Tipp. Das geht wohl in Richtung steuerbare Funkenstrecke. Bei den Recherchen ist mir sowas aus den 60er Jahren untergekommen. Könnte gut sein, dass sowas noch besser Zünden kann, als ein Relais. Weiß jemand mehr?
Bitte melde dich an um einen Beitrag zu schreiben. Anmeldung ist kostenlos und dauert nur eine Minute.
Bestehender Account
Schon ein Account bei Google/GoogleMail? Keine Anmeldung erforderlich!
Mit Google-Account einloggen
Mit Google-Account einloggen
Noch kein Account? Hier anmelden.


