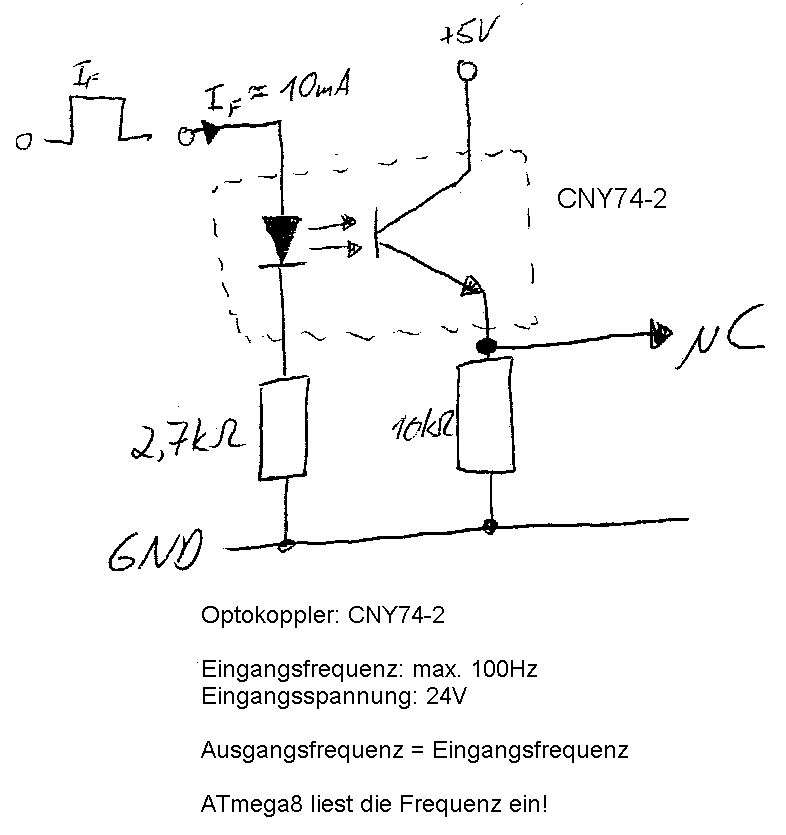
Hallo, ich benutze einen induktiven 24V-Sensor, der als Drehzahlsensor agiert. Wenn dieser Sensor durchschaltet, liegt eine Gleichspannung von 24V am Schaltausgang an. Mit einem ATmega möchte ich diesen Schaltzustand erfassen, aber 24V verträgt der Pin des µC's nicht. Kann ich, wie im angehängten Bild zu sehen ist, so den Eingang des µC's beschalten? Ich habe keine Erfahrung mit Optokopplern und bin mir etwas unsicher. Der Optokoppler hat ein CTR von 100, ist das wichtig für die Dimensionierung der Schaltung? Mit dem 2,7kOhm-Widerstand stelle ich doch den Strom auf der "Eingangsseite" ein, oder? Wie verhält der sich dann am Transistor? Habe den Widerstand 10kOhm nicht berechnet, sondern nehme an, dass dieser als Pull-Down dient? Gruß, Fritz
Mir ist auf die Schnelle ein Fehler unterlaufen. Die GND-Leitung muss (bei mir) getrennt werden, anbei das neue Bild! Sorry...
Sollte schon so passen, die Frage ist nur ob der Sensor genügend Strom liefern kann.
Hi, da ich gerade eine ähnliche Aufgabe umsetzen will (mehrere 24V Eingänge potenzialfrei mit einem Arduino loggen) hätte ich eine kurze Frage bzgl. einer kleinen Erweiterung der Schaltung: Wenn ich den Schaltzustand der einzelnen Eingänge zusätzlich noch per LED anzeigen will, würdet ihr das in Reihe zur CNY74 Diode machen und den 2k7 Widerstand entsprechend anpassen, oder jeweils parallel dazu nochmal separat abgreifen? Danke im Voraus...
Bitte melde dich an um einen Beitrag zu schreiben. Anmeldung ist kostenlos und dauert nur eine Minute.
Bestehender Account
Schon ein Account bei Google/GoogleMail? Keine Anmeldung erforderlich!
Mit Google-Account einloggen
Mit Google-Account einloggen
Noch kein Account? Hier anmelden.

