Hallo, suche eine einfache Schaltung um eine Bicolor LED (3 PINs entweder mit Common Cathode oder Common Anode) an den Ausgang eines ATtiny13 anzuschließen. Ich möchte nur einen Ausgang belegen. Tristate Ausgang: High: grün an Low: rot an Open: beide LEDs aus Gruß Harald
Hi bitteschön. [Edit] Ups. Das war so nicht gedacht. Sorry. Matthias
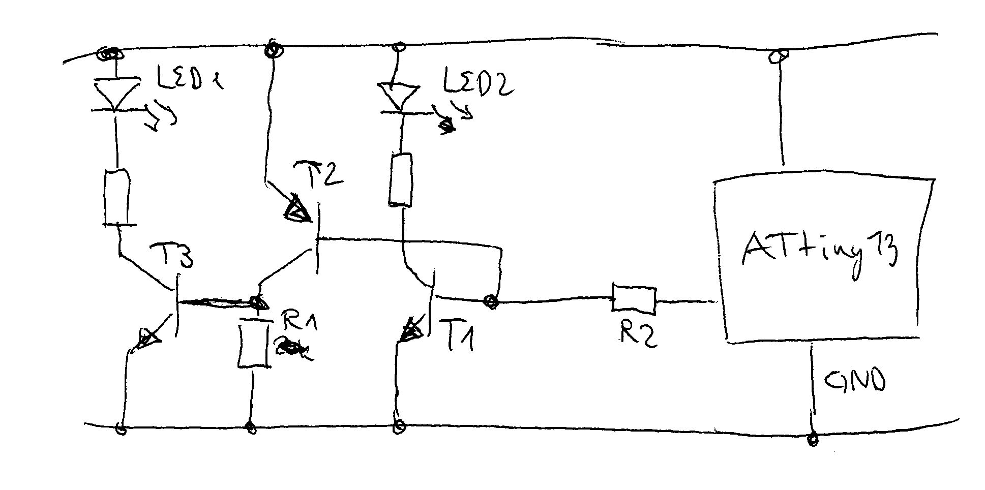
Hi Matthias, danke für die Schaltung. Nur glaube ich wird es so einfach nicht funktionieren. Über LED1 fließt immer ein Strom über den Widerstand auf die Basis des Transistors. LED2 wird immer an sein. Gruß Harald
Die Schaltung in der Anlage sollte funktionieren. Jedoch ist es eine Batterieanwendung und sind Bipolartransistoren zwecks Energieverbrauch nicht optimal. Bei den Bicolor-LEDs handelt es sich um stromsparende mit nur 1mA. Ich könnte den Strombedarf der Transistoren mittels Darlington-Schaltung verringern, dann benötige ich aber wahrscheinlich 6 Transistoren. Gibt es vielleicht eine einfachere Schaltung, die mit MOSFET Transistoren funktioniert. Gruß Harald
Hi alles eine Sache der Dimensionierung. Je nach Vcc wird man evtl. noch ein (Z)-Diode in Reihe zum Basisvorwiderstand brauchen damit dieser im Falle von High-Z nicht durchsteuert. Auch ein Widerstand parallel zur Basis-Emitterstrecke kann helfen. Den Basisstrom der durch den Transistor fließt kann man in Relation zum LED-Strom vernachlässigen wenn man den Transistor nicht gnadenlos übersteuert. Matthias
Hallo Matthias, nunja, die rote LED benötigt etwa 1mA während die grüne bereits bei 0.3mA zu leuchten beginnt. Das könnte man bei deiner Schaltung vielleicht ausnutzen. Die rote LED sollte dann wohl besser D1 sein. Hast Du die Schaltung schon ausprobiert? Gruß Harald
Hi hab sie eben mal ins LTSpice eingehackt. Funktioniert soweit eigentlich ganz brauchbar. Wie ich aber vermutet habe brauchts zumindest einen Basis-Emitterwiderstand am NPN. Du hast natürlich immer den Reststrom durch die eine LED in den Transistor. Ich hab die Simulationsdatei mal angehängt. Kannst ja etwas spielen. http://ltspice.linear.com/software/LTspiceIV.exe Matthias
@Harald St In deiner Schaltung baust du einen wunderbaren Kurzschluss über die BE-Dioden von T2 und T1... weiterhin schaltet durch den Basisstrom T2 durch und T3 wird auch mitgeröstet. Gruß, Christian
Ups. Stimmt. Denke ich werde die Schaltung von Matthias nachbauen. In der Simulation funktioniert das tatsächlich. Gruß Harald
@Matthias, ich habe die Dioden jetzt entfernt. Scheint in der Spice Simulation immer noch zu funktionieren. Willst Du deine Schaltung eigentlich zum Patent anmelden? Gruß Harald
Hi Patent? Das ist jetzt nicht wirklich ein absolut genialer Einfall und bestimmt auch nicht patentwürdig. Matthias
Hi, ich meinte damit nur, dass ich darauf nie gekommen wäre. Danke für die Hilfe. Könntest Du noch den Thread "ATtiny13 - Spannung über ADC messen und gleichzeitig IC Shutdown steuern" anschauen. Ist noch so ein kniffliges Problem. Gruß Harald
Hi Bei den Strömen und einer LED mit gemeinsamer Kathode reichen zwei Widerstände. Eine Anode über Widerstand an VCC, die andere über Widerstand an Masse. Ausgang L eine Farbe, ASusgang H andere Farbe. PIN als Eingang: LEDs aus. MfG Spess
Hi, wenn du die ander anode über widerstand an Masse anschließst, dann wird die LED doch in der falschen Richtung betrieben. Da kann doch kein Strom fließen. Oder habe ich etwas falsch verstanden. Gruß Harald
Hi Zeichne das mal und denk nochmal darüber nach. Matthias
Hi OK. Kommando zurück. Denkfehler. MfG Spess
Bitte melde dich an um einen Beitrag zu schreiben. Anmeldung ist kostenlos und dauert nur eine Minute.
Bestehender Account
Schon ein Account bei Google/GoogleMail? Keine Anmeldung erforderlich!
Mit Google-Account einloggen
Mit Google-Account einloggen
Noch kein Account? Hier anmelden.

