Moin! Ich habe mir mal wieder ein neues Projekt vorgenommen. Eine Schaltung soll Anrufe entgegennehmen können und per DTMF Steuerbar sein, und dann entsprechend Sounds ausgeben. Der Digital- und "Nicht-Telefon-Teil" ist kein Problem, entweder mit nem AVR, DTMF-Decoder dran (oder per Software dekodieren), zum ausgeben entweder ein MP3-IC oder direkt PCM Ausgabe. Als Speicher noch ne MMC dran. Soweit alles kein Problem, mit den genannten Komponenten hab ich bereits erfolgreich gearbeitet, nur von Telefon-Elektrik hab ich kaum Ahnung. Datenblätter von ISDN-Chips hab ich mir schon angesehen, aber das ist mir einfach zu aufwendig (ISDN hat wohl nicht einer mal eben an einem Nachmittag zusammengebastelt :-)). Ich habe also die Kenntnisse bis zu einem Line-Out und einem Line-In der Schaltung, dann ist Schluss. Wie kann ich die beiden mit einem a/b Pärchen eines analogen Telefonanschlusses koppeln ? Und irgendwie muss ja noch abgehoben und das Klingeln erkannt werden ? Wär super wenn mir da jemand helfen könnte! Stefan P.S. Ich weiß das sowas mit dem öffentlichen Telefonnetz nicht erlaubt ist, macht auch nix, weil das Teil nur mit den hausinternen Telefonen telefonieren soll.
Bei ELEKTOR gabs ab und zu solche Projekte. Daraus kannst du wunderbar entnehmen, wie du deine Schaltung mit dem Telefonnetz verbindest. Gruß
Weil für eine saubere Aufschaltung oft Spezialkomponenten nötig sind, könntest du auch den Eingangsteil eines alten elektronischen Telefons oder Anrufbeantworter benutzen. Oder auch Modem.
Moin Moin! Schonmal daran gedacht gleich ein altes Voice-Modem dafür wiederzubeleben? Ich hab damit mal ne ganz nette Fernsteuerung gebastelt. Man kann die Kiste anrufen und dann per DTMF diverse Schaltaufgaben auslösen. Töne erzeugen kann das Modem selbst, DTMF erkennt es auch und man kann Ihm Daten zum abspielen übergeben. Ich hab ein altes ELSA Modem dafür genommen und nen PIC als Rechenknecht. bye Frank
Hallo, ich habe einen ähnlichen Kenntnisstand wie von Stefan beschrieben, und ich würde mich auch für ein einfaches "Kochrezept" interessieren - zum besseren Verständnis ohne Modem: Also wie kocht man einfache Gerichte wie - Rufton erkennen - abheben / auflegen? - was hören (außer DTMF - z.B. Audio per D/A-Wandler einlesen) - was sagen (per PWM oder MP3 wie oben beschrieben)
vielleicht solltete Ihr mal unter dem Wort "telefonhybrid" im Netz suchen. Das sind Geräte wie sie im Radio und Fernsehen für "call-in-Shows" benutzt werden. Das Kreiskrankenhaus Elmshorn hat da eine Seite zu. Die machen scheinbar OP-Radio, wo der Patient sich die Musik für seine OP aussuchen kann... ;)
Hallo Frank, klingt interessant, die Geschichte mit dem Modem. Kannst Du da etwas genauere Infos geben?
@Frank: Ja, mit einem VocieModem habe ich schon rumprobiert, hat eigentlich auch ganz gut geklappt mit der DTMF Auswertung. Habe es auch geschafft das Ding in den Voice-Aufnahmemodus zu versetzten, so dass Daten rauskommen, allerdings sind die Daten im ADPCM Format und ich wusste nicht wie ich dass am Rechner abspielen soll (ihne einen WaveHeader zu haben). Naja, aber die ganze Sache ist auch nicht sehr kompakt, das ganze sollte halt doch nur ein kleines Platinchen sein. Zurück zum "a/b Adapter": Ein bischen was habe ich durch ewiges googeln rausfinden können, aber sehr ergibig ist das nicht. Entweder die Sache ist zu einfach dass wenig drüber schreiben, oder ist ist zu kompliziert, oder es interessiert keinen :-) ? Naja, jedenfalls scheint man da was mit nem 1:1 NF Übertrager machen zu können, das Problem ist die Echokompensierung, da brauchts nen Übertrager der an der einen Wicklung eine Mittelanzapfung hat. Ist die Frage ob ich eine Echokompensierung brauche, da ja empfangsseitig nur DTMF ausgewertet werden soll. Wär ja egal wenn die gesendete Sprache ebenfalls an den DTMF Decoder gelänge. Hier hab ich ne Seite mit einigen Beispielschaltung gefunden, sind aber aller nur "komische Brocken": http://www.epanorama.net/links/telephone.html Ich denk ich werd einfach mal am Steckbrett einwenig rumprobieren nachdem ich mir einen NF Übertrager besorgt habe... Achja, bei Elektor hab ich auch etwas rumgeschaut, aber da hab ich nur Schaltungen gefunden die die Rufspannung auswerten oder die induktiv von einem Telefon ein Gespräch abnehmen. Naja, immerhin etwas :-) Bis denn, Stefan
Einen a/b-Adapter zum Anschluss analoger Geräte an einen s0-Bus (ISDN) kauft man, den baut man nicht selbst. Das liegt einerseits an den nur schwer zu beschaffenden dafür erforderlichen Bauteilen und andererseits an dem deutlich mehr als erheblichen Programmieraufwand - ISDN-Protokolle implementiert man nicht mal eben so. Da die Verwendung von ISDN zur Telephonie im Privatbereich auch eher rückgängig ist (DSL sei Dank), dürfte die Möglichkeit, mit einem analogen Anschluss klarzukommen, ziemlich ausreichend sein.
Danke für den Hinweis, aber was hat das mit dem Thread zu tun ? Nix für ungut, Stefan
Grundsätzlich reicht es aus die Leitung mit nem 600 Ohm Widerstand und nem Relaiskontakt dran zu befriedigen. Im einfachsten Fall koppelt man die Nutzsignale einfach per Kondensator ein und aus. Wenn man sich die Datenblätter von den Modemchipherstellern mal reinzieht hat man auch schon Hinweise darauf wie es professionell gemacht wird. Experimente sollte man immer nur an einer Nebenstellenanlage machen weil es ziemlich teuer werden kann wenn man seinen Anschluss geMUPt hat (MUP = Methode des Unbekümmerten Probierens). Die Telekomiker verstehen da keinen Spass. Aber wenn man ein Modem und/oder einen ISDN TA nimmt, dann ist man schon auf der sicheren Seite. bye Frank
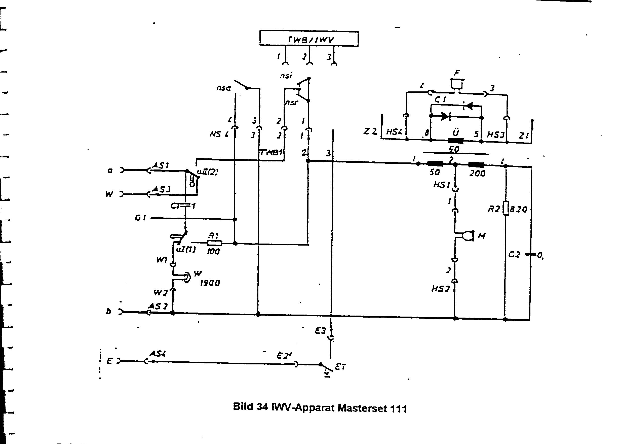
Hallo Stefan Im Anhang ein Schaltbild eines Telefons. Relevant sind die Anschlüsse a und b. In Ruhe liegen 24 bis 60V= an. Rufstrom ist 24 bis 60V~ an a und b, dadurch läutet W (Wecker). Durch abheben des Hörers Kontakt "u" wird w abgeschaltet und eine Gleichstromschleife mit ca 600 Ohm gebildet. Dadurch wird der Rufstrom abgeschaltet. Mehr ist bei analog nicht. In Modems und modernen Apparaten ist der Aufwand so gross da die mechanischen Komponenten durch elektronische ersetzt wurden, Impulswahl durch Tonwahl usw. Hubert
Sieht aus wie ein 711 oder nen 01Lx Telefon :-) Die Signale am besten auskoppeln, wegen der Spannung.
Wenn auch etwas spät: Ich bezog mich auf das hier: > Zurück zum "a/b Adapter": > Ein bischen was habe ich durch ewiges googeln rausfinden > können, aber sehr ergibig ist das nicht. Entweder die > Sache ist zu einfach dass wenig drüber schreiben, oder > ist ist zu kompliziert, oder es interessiert keinen :-) ?
Bitte melde dich an um einen Beitrag zu schreiben. Anmeldung ist kostenlos und dauert nur eine Minute.
  
  Bestehender Account
  
  
  
  Schon ein Account bei Google/GoogleMail? Keine Anmeldung erforderlich!
Mit Google-Account einloggen
Mit Google-Account einloggen
  Noch kein Account? Hier anmelden.
