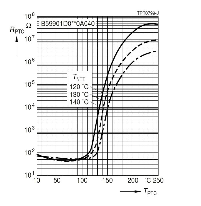
Warum hat der PTC so eine komische Kennlinie? Ein Minimum bei ca. 70°C und ein Maximum bei ca 235°C. Nur zwischen diesen beiden Temperaturen ist PTC-Verhalten. Außerhalb ist NTC-Verhalten.
Kann und muss doch auch gar nicht ideal/linear verlaufen. Siehe auch: http://de.wikipedia.org/wiki/Kaltleiter Gruss Krugman
Wichtig ist zu wissen, für welche Anwendung ein PTC gedacht ist. Er wird eben nicht zum Messen einer Temperatur eingesetzt, sondern als Überstromsicherung und dafür ist's akzeptabel.
Ein PTC ist ein geänderter NTC. In bestimmten Bereichen verhält sich dieser auch noch so wie ein NTC. Beim PTC ist hauptsächlich der Bereich mit der steilen Kurve interessant. Hier hat er auch eine sehr hohe Empfindlichkeit.
@Schwurbl: PTCs werden schon für die Temperaturmessung eingesetzt. Die hohe Empfindlichkeit ist hierfür ideal. Der Messbereich ist jedoch eingeschränkt. Damit kann man z.B. ein billiges Fieberthermometer mit einer hohen Empfindlichkeit bei vergleichsweiser geringen AD Auflösung erstellen.
@Mark: Hm, stimmt, interessanter Ansatz, werde ich gleich verinnerlichen!
@ Peter X. Bei Überlastsicherungen ist eine solche Kennlinie zwingend notwendig, damit sich der PTC bei Überlast nicht bis zur "Kernschmelze" aufheizt. Der PTC soll ja bis zur Nennstrombelastung möglichst niederohmig bleiben, um wenig Verluste zu produzieren. Bei Überlast soll er dagegen möglichst hochohmig werden, ohne sich dabei übermäßig aufheizen zu müssen. Jörg
Bitte melde dich an um einen Beitrag zu schreiben. Anmeldung ist kostenlos und dauert nur eine Minute.
Bestehender Account
Schon ein Account bei Google/GoogleMail? Keine Anmeldung erforderlich!
Mit Google-Account einloggen
Mit Google-Account einloggen
Noch kein Account? Hier anmelden.
