Hallo Leute, ich würde gern den Strom messen der durch die 12V meines kleinen Bastelnetzteils fliesst. Dazu habe ich in die 12V Schiene einen 0.12Ohm 5W Widerstand eingebaut. Nun muss ich die Spannung die an diesem Abfällt ja verstärken um sie mit dem ADC meines Atmega8 messen zu können. Da ich ne Menge LM358N OpAmps hier rumliegen habe würde ich gerne einen davon dazu verwenden. Ich denke ich muss diesen als Differenzverstäker beschalten.Da ich noch nie mit OpAmps gearbeitet habe bekomme ich es nicht hin die Widerstände zu dimensionieren. Könnte mir jemand von euch hilfestellung geben? Der Maximale Strom liegt bei 2A und der ADC nutzt 5.00V als Referenzspannung. MfG Florian
Wo hast du den Shunt eingebaut? Wenn du ihn gegen Masse gelegt hast, dann kannst du auch einfach einen nicht-invertierenden Verstärker nehmen. Dieser lässt sich sehr einfach berechnen. Ansonsten kannst du dir die Sache vereinfachen, indem du alle Widerstände beim Differenzverstärker gleich wählst (z. B. 1kOhm) und dahinter einen Invertierenden bzw. nicht-invertierenden Verstärker hängst.
Du könntest aus den 5V mittels Spannungsteiler dem ADC auch eine Referenzspannung mitgeben, die den 2A entsprechen (hier also 0.24V). Dann musst du dich nicht mit Kompensationen am OP rumschlagen und was es noch so da gibt ;)
Guten Morgen, der Shunt ist wie folgt eingebaut: VCC 12V->Shunt->Last->GND Das Problem ist das ich noch andere Werte aufnehme welche von 0-5V laufen weshalb ich nicht einfach die Referenzspannung ändern kann. Das mit der "Doppelverstärker" wäre eine möglichkeit. Der Lm358 hat ja 2 OpAmps eingebaut. Wenn ich das richtig verstehe, würde der Diff.verstärker den Bezugspunk ändern so das ich die Spannung gegen GND messen kann und der nicht Inv.verstärker verstärkt mir dann das Signal oder? Danke schon mal fbeek
Die Untergrenze der Referenzspannung beim Mega8 beträgt 2 V, also wäre 0,24 V Vref ohnehin ein Holzweg.
Die Eingänge vom LM358 können keine Signale verarbeiten, die nahe (oder direkt) an +Vcc liegen, da muss mindestens 1,5V Abstand nach unten sein. Stichwort: 'Input Common-Mode Voltage Range' Highside-Messung geht so nicht. Low-Side Messung wäre möglich.
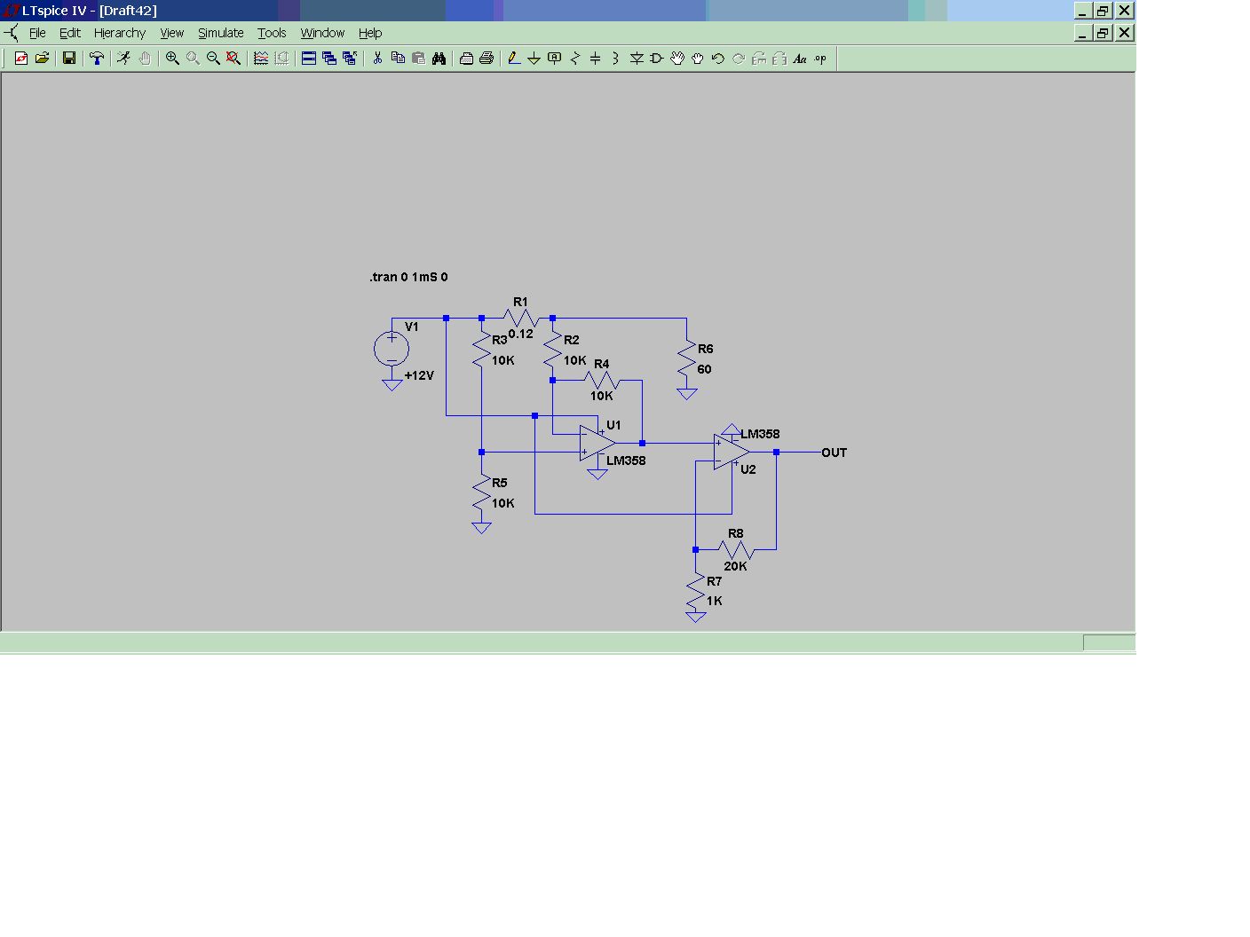
Also, ich habe mal eine kleine Spice Simulation gemacht. Dabei hab ich einen Differenzverstärker und einen nicht Invertierenden Verstärker benutzt. Alle der Diff.ver. hat eine Verstärkung von 10 und der andere eine von 2. Damit würde meine zu messende Spannung von 200mV bis 4.5 V bei einem Strom durch den Shunt von 59mA bis 1,96A. So genau muss es ja nicht sein. Ich will den Verbrauch nur abschätzen können. Flo
Es gibt eine einfache Schaltung zu dem Thema. Ich habs jetzt gerade nicht da, aber prinzipiell müste es die gleiche wie die Innenschaltung des INA138 sein. (Siehe Deckblatt) => http://focus.ti.com/lit/ds/symlink/ina138.pdf Der Baustein währ ideal für sowas. Aber das kann man auch mit normalen OPV nachbilden (358)... entsprechen mit ein paar Nachteilen. Da du nur 12V hast könnte es gehen. Du müstest VCC für den OPV VOR deinem 12V Spannungsregler abgreifen soferns einen gibt. (max 32V) Oder du nimmst einen "OverTheTop" OPV. Wobei sich die Frage stellt wie deine Schaltung überhaupt aussieht. Weil so kann man nicht sagen wo und wie man so eine Schaltung integrieren kann/soll. Aber grundsätzlich kann man sagen das Highside-Strommessung bei relativ niedrigen Spannungen noch mit "Bastelkiste" machbar ist.
Ok also vor dem Shunt sitzt ein 78S12 welcher aus einem 19V Notebook Netzteil (Ich weiss das ist verschwendung aber geht im moment nicht anders) gespeist wird. Ich soll den Opamp also mit den 19V speisen um die Signale überhaupt erst bearbeiten zu können. Das heisst sagen wir ich betreibe den OpAmp mit 19V dann kann ich Eingangssignale bis 17,5 Volt verarbeiten wenn ich richtig verstehe oder?
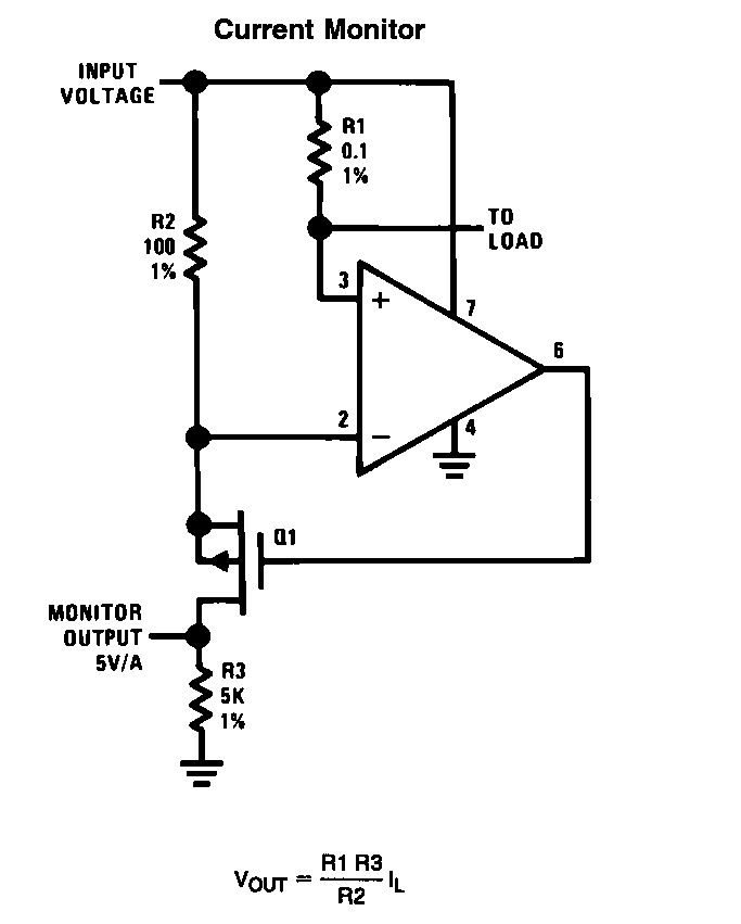
Zur Messung in der Highside verwendet man meist die angehängte Schaltung. Im Datenblatt des LM358 könnte eine ähnliche Schaltung sein.
Hallo, da war "derwarze" etwas schneller. Anbei trotzdem meine Version der Schaltung. Ich bin jedoch auch der Meinung, dass ein LM358 nicht der richtige OPV ist. (wegen :Stichwort: 'Input Common-Mode Voltage Range'). TL082 o.ä. tut es aber (evt. auch MC1458). Durch den Einsatz eines 5K Potis als R11 lässt die Schaltung sich dann auch prima abgleichen. Gruss Klaus
fbeek schrieb: > Ok also vor dem Shunt sitzt ein 78S12 welcher aus einem 19V Notebook Theoretisch... müstest du den Shunt sogar vor den Spannungsregler setzen. Weil dir an dem Shunt entsprechend Spannung abfällt und nicht ausgeregelt werden kann. Aber ich denke bei dir wirds nicht so genau gehen. > betreibe den OpAmp mit 19V dann kann ich Eingangssignale bis 17,5 Volt > verarbeiten wenn ich richtig verstehe oder? So kann man das grob stehen lassen. Das Problem ist aber auch der "untere" Bereich. Id. Regel können nur Rail2Rail OPVs den kompletten Bereich nutzen. Es könnte sein das der 358 nicht ganz auf 0V runterkommt. (Abhängig von der Last am Ausgang des OPV). Da ein Transistor damit angesteuert wird, müste es trotzdem Funktionieren. Könnte aber bei falsche Dimensionierung ein Problem verursachen. derWarze schrieb: > Zur Messung in der Highside verwendet man meist die angehängte > Schaltung. > Im Datenblatt des LM358 könnte eine ähnliche Schaltung sein. Das is die Variante mit dem FET. Mann muss wie gesagt auf VCC aufpassen. Das kann so nicht jeder OPV. Meines Wissens nach kann das zb. der 741, 301 aber die neueren 358, 324 nicht. (aus der Bastlerkistenfraktion)
Ok ich habe nun mal diese Version simuliert und dann komm ich bis auf 2.4 V bei 2 Amp und 0,2V bei ca. 60 mA. Aber das kann ich ja immernoch anheben mit den 2ten OpAmp der im Gehäuse sitzt. Du hast natürlich recht mit der Regelung da habe ich geschlafen :-). Kennt einer das B gegenstück zum 2n3904?
fbeek schrieb: > Aber das kann ich ja immernoch > anheben mit den 2ten OpAmp der im Gehäuse sitzt. Wieso anheben? Du must nur die Widerstände endsprechend anpassen. Dann bekommst du was du haben willst.
>Theoretisch... müstest du den Shunt sogar vor den Spannungsregler >setzen. Weil dir an dem Shunt entsprechend Spannung abfällt und nicht >ausgeregelt werden kann. Aber ich denke bei dir wirds nicht so genau >gehen. ... eher nicht. eine gute Idee wäre aber die Versorgung des OPV vor dem Spannungsregler abzunehmen und den Shunt hinter den Regler zu setzen. Gruss K
Stimmt, sorry mein Fehler. Ich werde es dann so machen. Hat einer ne Idee was man mit dem freien OpAmp noch machen könnte? Der muss ja nicht brachliegen?
Klaus De lisson schrieb: > ... eher nicht. > eine gute Idee wäre aber die Versorgung des OPV vor dem Spannungsregler > abzunehmen und den Shunt hinter den Regler zu setzen. Deswegen hab ich ja ursprünglich geschrieben das es bei seiner Schaltung ohne Probleme funktionieren könnte, wenn er VOR dem Regler VCC abgreift. Da er den Shunt ja nach dem Regler hat. Aber da wusten wir ja noch nicht was für einer das ist. Hätt ja auch einer mit seperaten Feedback sein können (>=4 Beinchen) Ich habs halt der Ordnunghalber mal erwähnt. Solange Rshunt so klein ist, machts fast nix aus. Aber er sollte schon wissen das bei 2A dann nur noch 11,76V rauskommen.
So wie in der angehaengten Schaltung kannst du deine Strommessung machen. Der ersdte Verstaerker U1 bildet die differenz die am 0.12 Ohm Widerstand abfaellt gegen 0 ab. Der 2. Verstaerker macht daraus deine 5V fuer den ADC. Da der LM358 nicht bis an die Versorgung kann ist der 1. OP hier nur als 1x Verstaerker beschaltet. Dadurch liegen beide Eingange auf UB/2 . Dafuer muss dann der 2. OP deine noetige Verstaerkung bis 5V aufbringen. Allerdings sei gesagt das er nicht bis auf 0V runterkommt.
Hab schon mal einen Stromspiegel mit dem LM358 gemacht. Wie schon erwähnt, braucht der LM358 eine Versorgungsspannung, die 1.5V über den Eingangssignalen liegt. Deshalb hatte ich den 2. OPV als Rechteckgenerator beschaltet und habe damit DIE EIGENE Versorgungsspannung über eine Verdopplerschaltung auf ca. 20V erhöht. Einfacher gehts aber sicher mit nem R2R Verstärker.
Helmut Lenzen schrieb: > Allerdings sei gesagt das er nicht bis auf 0V runterkommt. Eben. Das Problem hat er mit der obrigen Schaltung (3 Varianten) nicht.. und er spart sich einen OPV (den man dann für andere Zwecke benutzen kann) Dieses Schaltungsschema is eher die Bastelkistenversion (für Normalsterblich erhältliche Bausteine) für höhere Spannungen.
Differenzverstärker hat gegenüber Stromspiegel einen Nachteil: 1% Toleranz bei den Spannungsteilern verursacht einen Fehler von 1% von 12V, also 120mV. Also einen Fehler von +-1A in der Messung.
Hallo, ich habe die Schaltung von Klaus de Lissen nun nachgebaut. Aber wie Rechne die Werte nun in eine Ampere Angabe um? MfG Flo
Er hat zwar die Formel hingeschrieben, aber da sind noch ein paar Unstimmigkeiten drin. Die Spannungen an R1 und R3 sind gleich groß, also fließt durch R3 der Strom Iout * R1 / R3. Dieser Strom fließt auch durch R11 (vorausgesetzt du nimmst die Spannung an R11 hochohmig ab). Damit wird die Spannung an R11 zu
1 | U_R11 = R11 * Iout * R1 / R3. |
Mit der vorliegenden Dimensionierung also 1V pro Ampere Ausgangsstrom.
Mit dem angegebenen TL082 funktioniert die Schaltung allerdings nur, wenn die Versorgungsspannung V+ des Opamps mindestens 2V größer als +IN ist. Möchtest du den Opamp direkt an +IN betreiben, muss es einer mit Rail-to-Rail-Input sein.
@Yalu X. .. das glaube ich nicht. tl082 kann am eingang bis +UB. gruss k
Klaus De lisson schrieb: > .. das glaube ich nicht. tl082 kann am eingang bis +UB. Geht - ja. Aber vom Hersteller nicht garantiert. Kann also auch mal ein Exemplar nicht funktionieren.
Klaus De lisson schrieb: > .. das glaube ich nicht. tl082 kann am eingang bis +UB. Ja, da hätte ich wohl vorher mal ins Datenblatt schauen sollen ;-) Garantiert sind zwar nur ±11V Eingangsspannung bei ±15V Versorgungs- spannung, aber das Schematic sieht so aus, als ob die +15V nur dann nicht erreicht würden, wenn die Eingangs-FETs extrem verkrüppelt sind, was sicher äußerst selten der Fall ist. Trotzdem würde ich, wenn ich die Schaltung verkaufen wollte, mit einem Rail-to-Rail-Input, bei dem am besten noch ein paar 100mV Over-the-Top garantiert sind, ruhiger schlafen.
Also wie gesagt... die alten 741, 301 etc können das Prinzipiell. Ausserhalb der Spezifikationen, aber es geht. Daszu steht was auf den ELKO-Seiten. Sehr interessant uns Ausführlich. => http://www.elektronik-kompendium.de/public/schaerer/i_sens.htm Oder halt dann sowas... => http://www.linear.com/pc/productDetail.jsp?navId=H0,C1,C1154,C1009,C1099,P1566 Da gibts von den LTs ein paar nette "Over the Top" OPVs die einiges vertragen am Eingang.
http://www.diodes.com/zetex/_pdfs/3.0/appnotes/apps/an32.pdf Die Schaltung lässt sich auch mit Einzeltransistoren realisieren, ist dann nicht ganz so genau...
Bitte melde dich an um einen Beitrag zu schreiben. Anmeldung ist kostenlos und dauert nur eine Minute.
Bestehender Account
Schon ein Account bei Google/GoogleMail? Keine Anmeldung erforderlich!
Mit Google-Account einloggen
Mit Google-Account einloggen
Noch kein Account? Hier anmelden.


