Hallo, ich möchte gerne aus etwa 35 V eine Spannung von -15V erzeugen und habe mich von daher mit der Variante des invertierenden Reglers beschäftigt. Im Artikel hier auf der Seite gibt es ja dreierlei Varianten mit externem Transistor, aber soweit ich das sehe haben alle 3 das Problem dass die Eingangsspannung + Ausgangsspannung nicht größer als 40V werden darf. Gibts da noch eine weitere Variante mit der das möglich wäre? Und was ich nicht verstehe: während bei der Schaltung ohne externen Transistor der Rückführungsspannungsteiler gegen Mass geht, ist bei allen Varianten mit externem Transistor der Rückführungsspannungsteiler gegen die Eingangsspannung geschaltet. Das bedeutet dass bei allen Schaltungen die Ausgangsspannung im selben Maße wie die Eingangsspannung schwankt. Ich habe testweise die Schaltungen so aufgebaut dass ich gegen Masse schalte und bei allen ist die Abhähngigkeit von der Eingangsspannung weg und die Schaltungen funktionieren auch. Auch energetisch betrachtet sieht es für mich so aus als ob die Lösung gegen Masse besser wäre, weil ja die Versorgungsspannung höher liegt als die Masse und zusätzliche Verluste entstehen wenn man gegen ein höheres Potential schaltet. Wo hab ich da einen Denkfehler? Oder hat das noch andere Auswirkungen die ich nicht verstanden habe?
Danke für den Hinweis. Ich würde aber gerne den 34063 einsetzen weil ich den schon hier habe und die HV Version vom LM2575 gibts bei Reichelt nicht, ich komme also nicht so leicht ran. Aber es gibt doch bestimmt eine einfache Möglichkeit mit externer Beschaltung des MC34063 ohne gleich einen Trafo einbauen zu müssen... Zu der Thematik mit der Rückführung an die Eingangsspannung statt zur Masse hat niemand eine Idee?
M. Engelhard schrieb: > den schon hier habe und die HV Version vom LM2575 gibts bei Reichelt > nicht, ich komme also nicht so leicht ran. Scheuklappen wegschmeissen. Es gibt TME, Darisus, ...
M. Engelhard schrieb: > Und was ich nicht verstehe: während bei der Schaltung ohne externen > Transistor der Rückführungsspannungsteiler gegen Mass geht, ist bei > allen Varianten mit externem Transistor der Rückführungsspannungsteiler > gegen die Eingangsspannung geschaltet. Wo findet ich diese Variante? Ich bin ihr noch nicht begegnet und kann mit das bei einem MC34063A auch kaum vorstellen, da der Komparator dann verkehrt herum regelt (grösserer Betrag der Ausgangsspannung wird als geringer wahgenommen). Das wäre m.E. nur beim vollständigeren Kollegen µA78S40 möglich, dessen Komparator mit vertauschten Eingängen betrieben werden kann. Allerdings kann man beim µA78S40 auch ohne Abhängigkeit von Vin eine Beschaltung des Komparators bauen, in der der Minuspol des Reglers an GND liegt und er damit bis zu seiner Maximalspannung betrieben werden kann. Siehe Datasheet und AN920. Und ja: Reichelt hat den µA78S40.
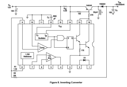
Bei TME hab ich auch schon bestellt und bin auch sehr zufrieden gewesen, aber wegen einem Teil für 1 Euro will ich jetzt nicht extra bestellen. Außerdem habe ich jetzt schon so viel mit dem MC34063 gemacht, dass ich nicht schon wieder von vorne anfangen will. Die beiden Varianten des Spannungsteilers gegen Masse und gegen Eingangsspannung sind hier: http://www.mikrocontroller.net/articles/MC34063 Varainte 1 geht gegen Masse, die Varianten 2, 3 und 4 gegen die Eingangsspannung. Angeblich steht das so auch alles in den Datenblättern.
M. Engelhard schrieb: > Die beiden Varianten des Spannungsteilers gegen Masse und gegen > Eingangsspannung sind hier: Yep, die kenne ich, aber die bringen dich keinen Millimeter weiter. Denn die Gesamtspannung über dem Regler ist in diesen Varianten mit oder ohne externem Transistor die betragsmässige Summe der beiden Spannungen, also 35V rein + 15V raus = 50V = viel zu viel. Du könntest ihn beispielsweise extern zu einen 78S40 aufbohren, d.h. dem internen Komparator einen externen Komparator mit externer Referenzspannung vorschalten. Alternativ kannst du auf die Spule eine zweite Wicklung drauflegen.
Ja das hab ich auch gemerkt dass das zu viel wird. Allerdings erst nachdem der erste kaputt war und ich dann mal genauer nachgedacht habe warum und die Vce gemessen habe wurde mir klar was da passiert ist. Soweit ich das sehe ergibt sich Vce im Sperrzustand sogar aus Vin + Vout + Vf der Diode. Wenn ich aber jetzt einen zusätzlichen externen OP-Amp benutze ändert das doch aber nichts an der Vce Spannung die ja das Problem ist. Eine extra Wicklung auf der Spule würde die Situation glaube ich auch nicht lösen. Man könnte dann die Spannung an der "Primärwicklung" reduzieren, aber da müsste ich dann ja auf 3V runter dass ich in der Summe nicht über 40V komme. Ich denke nicht dass das hinhaut. Irgendwie müsste man den Steuerausgang vom IC vom externen Transistor abkoppeln. Oder mit nem MOS schalten. Ich bin nur noch nicht drauf gekommen wie am besten dass die Spannung nicht mehr auf den IC zurück wirkt...
M. Engelhard schrieb: > Wenn ich aber jetzt einen zusätzlichen externen OP-Amp benutze ändert > das doch aber nichts an der Vce Spannung die ja das Problem ist. Die Vce-Spannung eines externen Transistors ist das Problem ebendieses Transistors, nicht des Reglers. Das Problem ist die Spannung zwischen den Versorgungpins des Reglers, wenn des Minuspol des Reglers an Vout liegt. Mit einem externen Komparator (nicht OPV!) lässt sich die Schaltung des 78S40 mit externem Schalttransistor verwenden, der Minuspol vom Regler liegt dabei an GND und nicht an Vout und die Spannung über dem Regler ist Vin. > Eine extra Wicklung auf der Spule würde die Situation glaube ich > auch nicht lösen. Hast recht. > Irgendwie müsste man den Steuerausgang vom IC vom externen Transistor > abkoppeln. Das Problem ist nicht der Ausgang sondern der Referenzkomparator, der keine negativen Eingangsspannungen verkraftet und beim MC34063A mit einem Bein fest an der Referenz hängt. Wie man das anders macht steht im ON Datasheet vom µA78S40 Seite 6: http://lc.fie.umich.mx/~ifranco/DATASHEET/control_fuentes_conmutadas/78s40.pdf Die Einzigen, die da negative Spannungen abkriegen, sind der externe Transistor und die Diode, und da werden sich welche mit genug Spannungsfestigkeit wohl finden lassen. Der dort verwendete Komparator lässt sich auch auslagern, wenn's unbedingt der MC34063A sein soll. PS: Falls das nicht klar ist: Der MC34063A und der µA78S40 sind funktionell identisch, nur sind beim µA mehr Anschlüsse rausgeführt und der Komparator ist nicht intern mit der Referenz verbunden.
Eine weitere Variante besteht vielleicht darin, den MC mit einer niedrigeren Versorgungsspannung zu betreiben und nur den externen Schalttransistor mit der vollen Spannung zu beaufschlagen. Allerdings fällt dann die Strombegrenzung weg und es wird mindestens beim Anfahren zur Spulensättigung und zu entsprechend hohem Strom führen. Das ist also nur geeignet, wenn die Eingangsspannung selbst schon strombegrenzt ist. Und wenn der Transistor hinreichend dimensioniert ist, um diese Phase zu überleben.
Die Unterschiede zwischen dem µA78S40 und dem MC34063 hab ich schon in dem ON Application Note gesehen. Trotzdem glaube ich dass das alles nicht funktionieren wird wie du es beschreibst, weil ich aus http://www.mikrocontroller.net/articles/MC34063 die Varianten 2 und 3 schon aufgebaut habe um sicher zu gehen und da hat der Pin 8 vom MC34063 (DRC) immer die gleiche Spannung gegenüber Pin 4 (GND) wie der Ausgangstransistor Vce wenn ich die Schaltung ohne externen Transistor betreibe und ich denke nicht dass da mehr als 40 V sein dürfen. Das Problem hätte ich dann bei beiden Vorschlägen von dir mit externem Komparator und mit Extra Versorgungsspannung fürn MC.
M. Engelhard schrieb: > (GND) wie der Ausgangstransistor Vce wenn ich die Schaltung ohne > externen Transistor betreibe Ohne externen Transistor geht es in dieser Variante nicht. Habe ich auch nicht behauptet. Ich bezog mich stets auf die im oben verlinkten Datasheet des 78S40 beschriebene Variante mit externem Transistor, nicht auf die Schaltungen aus dem Wiki-Artikel. Die Versionen im Wiki sind durchweg nicht einsetzbar.
Ja dass es ohne externen Transistor nicht geht glaub ich. Und dass der Komparator keine negative Spannung sehen darf auch. Aber trotzdem habe ich an der Basis vom externen Transistor (Vin + Vout) gegen GND gemessen und diese Spannung liegt auch an den Reglerpins an. Die Beschaltung des Reglers ist in der Abb.8 von der 78S40 Spec. genauso wie bei Variante 2 des MC. Solange ich da eine zu hohe Spannung habe glaube ich brauche ich mich noch garnicht weiter um die Lösung mit dem Komparator bemühen. Ich kann auch mal ein Oszibild von verschiedenen Spannungen an IC-Pins machen wenn du es dir nicht vorstellen kannst.
M. Engelhard schrieb: > Ja dass es ohne externen Transistor nicht geht glaub ich. Und dass der > Komparator keine negative Spannung sehen darf auch. Aber trotzdem habe > ich an der Basis vom externen Transistor (Vin + Vout) gegen GND gemessen Wenn du es in der Schaltung auf S.6 des ON Datasheets vom 78S40 schaffst, an der Basis des Schalttransistors um die -15V zu messen, dann hast du es geschafft, über die Basis-Emitter-Strecke eines Bipolartransistors in Durchlassrichtung 50V zu legen. Gratulation! An der Basis dürfen exakt zwei Pegel anliegen: V(Emitter) und V(Emitter)-0,7V. Und V(Emitter) ist V(in)-V(Rsc).
M. Engelhard schrieb: > Die Beschaltung des Reglers ist in der Abb.8 von der 78S40 Spec. > genauso wie bei Variante 2 des MC. Wenn du es schaffst, den MC34063A so zu beschalten wie den µA78S40 in der Abb8 auch S.6 des ON Datasheets, dann musst du mir mal erzählen, wie du es zuwege gebrachst hast, die chipinterne Verbindung zwischen dem Komparator und der Referenzspannung aufzutrennen. Neben allerlei anderen Unterschieden liegt in sämtlichen Inverter-Varianten des Wikis der GND-Pin des Reglers auf Vout, in der von mir zitierten Version aber auf GND.
Damit klar ist, von welcher Schaltung hier die Rede ist. Und das ist die angeblich gleiche aus dem Wiki: http://www.mikrocontroller.net/articles/MC34063#Invertierende_Schaltungsvariante_2_mit_externem_Transistor_gem.C3.A4.C3.9F_Datenblatt
Sorry, das hab ich im Eifer des Gefechts unterschlagen, ich wollte schreiben "die Beschaltung mit dem externen Transistor". Die beiden Kollektoren des Regelers sind in beiden Fällen über Widerstände an die Basis des externen Transistors geführt, an den Kollektoren des externen kommt die Spule gegen Masse, die Diode in Längsrichtung, die dann auf den Ausgangselko geht. Bei beiden identisch. Im Anhang ist ein Oszillogramm der Schlatungsvariante 2. Gemessen von Pin1 nach Pin4. Also Kollektoren des Reglers zu GND des Reglers. Als Eingangsspannung habe ich 15V, als Ausgangsspannung 12V. Macht in Summe 27V die man auch zwischen den beiden Pins messen kann. Die Schaltung funktioniert.
Worauf willst du mit diesem Bild raus? Ich weiss, dass die Schaltung aus dem Wiki funktioniert, nur hat sie eben bei 35V rein -15V raus ein kleines Problem mit der Höhe der Spannung. Wie du selbst schon festgestellt hast. Und ist damit für deine Anwendung schlicht und einfach ungeeignet. NB: Es ist bei der Schaltung aus dem Wiki nicht wirklich wichtig, ob der Spannungsteiler gegen Vin oder gegen GND (der Schaltung, nicht des ICs) teilt. Es ändert sich der Teiler, aber nicht die Funktion. Sind nun eigentlich noch irgendwelche Frage offen?
Der Grund für die Beschaltung des Spannungsteilers gegen Vin steht im Wiki doch explizit drin: "Da bei LCDs die Kontrastspannung als Bezugspunkt die positive Betriebsspannung besitzt, ist es auch sinnvoll die Regelung des MC34063 nicht an GND sondern an die positive Betriebsspannung anzuschließen. Dadurch ist die Kontrastspannung auch bei Betriebsspannungsschwankungen konstant." Das bezieht sich also explizit auf die Umgebung, für die Benedikt diese Schaltungen aufgebaut hatte. Für andere Rahmenbedingungen ist das so nicht sinnvoll.
Welche Frage noch offen ist? Die aus dem ersten Post :-) Mit welcher externen Schaltung verhindere ich, dass der MC mehr als 40V abkriegt und somit kaputt geht.
M. Engelhard schrieb: > Mit welcher externen Schaltung verhindere ich, dass der MC mehr als 40V > abkriegt und somit kaputt geht. Der Aufwand ist zu hoch, der Wirkungsgrad geht ein Stück runter. Da rentiert sich ein fertiger DCDC Wandler eher. (Du musst Betriebsspannung für den 34063 reduzieren, Überstromschutz und Ausgangsschaltung ummodeln. Schade um die Zeit.)
Du brauchst -15V. Also hast Du vermutlich auch +15V. Nehm halt die für den MC... Oder nen Flyback damit aufbauen - mußt halt einen Übertrager wickeln.
Was mit dem Wirkungsgrad ist, ist mir eigenentlich egal, da das was sonst noch so im Aufbau eh nur dazu gut ist Strom zu verbraten. Ob davon nun ein wenig mehr oder weniger im Spannungsregler abfällt stört mich nicht. Eingangsspannung ist noch immer bis zu 35 V. Flyback? Schön und gut, aber ich kanns mir nicht vorstellen dass das nicht einfacher geht. Z.B. mit einer externen MOSFET Schaltung, oder mit mehrstufigen Transistorschaltungen extern am MC.
Bitte melde dich an um einen Beitrag zu schreiben. Anmeldung ist kostenlos und dauert nur eine Minute.
Bestehender Account
Schon ein Account bei Google/GoogleMail? Keine Anmeldung erforderlich!
Mit Google-Account einloggen
Mit Google-Account einloggen
Noch kein Account? Hier anmelden.

