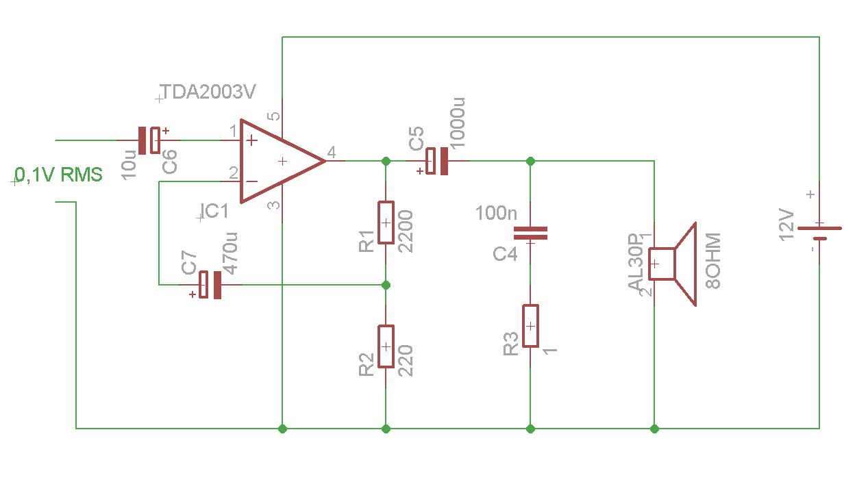
Hallo! Ich suche eine Möglichkeit eine digitale Lautstärkeregelung in eine Schaltung zu integrieren. Da ich zwar gelernter Kommunikationselektroniker bin, jedoch schon lange nichts mehr auf diesem Gebiet gemacht habe hätte ich gerne eure sachkundige Hilfe erbeten. Folgendes Problem: Bei der Arbeit haben wir ein Radio, was jedoch aufgrund von vielen Abnehmern jeweils über einen 100 Ohm Übertrager die Signale an die Endstelle liefert. Der Grund: Baut einer der Kollegen einen Kurzschluss ist nicht das gesamte Radio betroffen. Da das Signal also sehr hochomig ist kommen die einzelnen Arbeitsplätze nicht um einen Verstärker umher. Deswegen wird für jeden Arbeitsplatz einen solchen benötigt. Da ich gerne bastle und immer wieder ein neues Projekt suche möchte ich dies nicht wie "üblich" normal über ein Poti machen - sondern nach Möglichkeit über einen µC, welcher evtl. auch noch die Lautstärke über LEDs anzeigt. Die Schaltung im Anhang habe ich im Internet gefunden (kleine Änderung: eigentlich ist R2 2,2 Ohm und R1 220 Ohm). Das würde aber viel zu laut werden bei einer Verstärkung von 100. Deswegen die Änderung. Meine Idee um das geplante umzusetzen: Ersetze R2 durch mehrere Widerstände, die jeweils über den Atmega (je nach Lautstärke) gegen Masse geschaltet werden. Bedeutet: für sehr leise würde ein 10k (oberer Anschluß) an den Ausgang vom µC (unterer Anschluß) angeschlossen werden und dieser auf LOW gesteuert werden. Für lautere Einstellungen eben ein etwas kleinerer Widerstand über einen anderen Port. (Deswegen auch die Änderung von R1 um Faktor 10 nach oben um den Ground-Strom von Seite des µCs zu schaffen.) Die Frage ist: Würde das funktionieren oder mache ich einen Denkfehler?
AlexL1980 schrieb: > Meine Idee um das geplante umzusetzen: Ersetze R2 durch mehrere > Widerstände, die jeweils über den Atmega (je nach Lautstärke) gegen > Masse geschaltet werden. Geht nur, wenn der ATMEGA dieselbe Betriebsspannung wie der TDA2030 benutzt. Fällt also aus. Würde auch ziemlich rumsen beim Umschalten. Schau Dir mal den PGA2311 an oder auch den PGA2310. Alternative wäre ein Fotowiderstand und eine diesen beleuchtende LED, die der ATMEGA über PWM und Tiefpass ansteuert.
Knut Ballhause schrieb: > Geht nur, wenn der ATMEGA dieselbe Betriebsspannung wie der TDA2030 > benutzt. Fällt also aus. Würde auch ziemlich rumsen beim Umschalten. > Schau Dir mal den PGA2311 an oder auch den PGA2310. Alternative wäre ein > Fotowiderstand und eine diesen beleuchtende LED, die der ATMEGA über PWM > und Tiefpass ansteuert. öhm... erinnert mich an einen Optokoppler. Ist aber schon lange her... Sind das 2 Bauteile oder gibt es das in einem Gehäuse? Wieso ein Tiefpass?
"Optokopper" mit LDR wird man kaum noch finden (schon RhoS). Da wird man also selber kombinieren müssen. Wenn man die PWM Frequenz hoch genug Wählt sollte man auch ohne Tiefpass auskommen, sonst hört man ggf. das PWM Signal doch etwas.
Idee:
1 | .---+---R3---< PWM vom µC (Je mehr Spannung, desto leiser) |
2 | | | (Maximallautstärke durch R2 begrenzt) |
3 | C | |
4 | | | .---+--------------. |
5 | GND | | | | |
6 | | |--' | +5V | |
7 | | |<-. R2 ^ | |
8 | |______|--| | __|___ | |
9 | | | | | | |
10 | INPUT ---C---R1--+---+---| - | | |
11 | | |---+---C---+---LS--GND |
12 | .---| + | | |
13 | | |______| R |
14 | | | | |
15 | GND | C |
16 | V | |
17 | -5V GND |
Oder wie auf dem Bild. Gruß Jobst
Schau mal im Beitrag: Digitalpoti Im ersten Drittel ist da auch eine sehr interessante LDR Lösung zu sehen.
Ich wollte eigentlich eine Schaltung mit einer Spannungsquelle verwirklichen (Single Supply). Geht das auch mit einem NMosfet?
Hallo, Wie wäre es mit einem ATXmega? Die haben AD und DA Wandler bis 1 MS pro s. Der Schaltungsaufwand sinkt dadurch enorm. Gruß Olaf
Olaf Dreyer schrieb: > Wie wäre es mit einem ATXmega? > Die haben AD und DA Wandler bis 1 MS pro s. > Der Schaltungsaufwand sinkt dadurch enorm. Naja, die Qualität auch. ADC und DAC des XMega rauschen doch ziemlich. AlexL1980 schrieb: > Ich wollte eigentlich eine Schaltung mit einer Spannungsquelle > verwirklichen (Single Supply). Geht das auch mit einem NMosfet? Single Supply für einen TDA2030 ist eher nicht so toll, da Du dann auch mehr (große) Bauelemente brauchst. Die Sache mit dem LDR ist sowohl für einfache, als auch für duale Spannungsversorgung tauglich, da der LDR völlig entkoppelt im Signalzweig liegt.
Der Chip benutzt genau das Prinzip welches ich vor 15 Jahren für meine Diplomarbeit verwendet hatte. Damals hatte ich aber ein TTL/CMOS-Grab verwendet. Die NF-Eigenschaften sind sogar noch ein wenig besser. Eine gute Empfehlung. Gruß Olaf
Ich habe noch eine Frage zum LDR: Gibt es den mit LED in einem gekapselten Gehäuse? Anonsten habe ich immer störende Umgebungslichteinstrahlungen wenn ich die Schaltung ohne Gehäuse einsetzen möchte.
einfach Schrumpfschlach drum machen. Schon öfters so in Limitern gesehen.
AlexL1980 schrieb: > Ersetze R2 durch mehrere > Widerstände, die jeweils über den Atmega (je nach Lautstärke) gegen > Masse geschaltet werden. Knut Ballhause schrieb: > Würde auch ziemlich rumsen beim Umschalten. Damits beim Umschalten nicht Rumst, kann man ja mit einem zusätzlichen Portpin den Eingang "muten", während geschltet wird. Wenn man nur hart nach GND zieht und das Eingangssignal tasächlich <1Vpp ist, könnte es gehen. Also Eingang->R->PortpinMute->Kondensator->Amping Dem NMOS, der da hinterm Portpin im Mega nach Masse zieht, ist die "verkehrte Polung" seines Kanals erstmal egal. Bei zu negativer Spannung greift eben die Schutzdiode(und die Bodydiode des NMOS). mfg mf
Bitte melde dich an um einen Beitrag zu schreiben. Anmeldung ist kostenlos und dauert nur eine Minute.
Bestehender Account
Schon ein Account bei Google/GoogleMail? Keine Anmeldung erforderlich!
Mit Google-Account einloggen
Mit Google-Account einloggen
Noch kein Account? Hier anmelden.

