Hallo Leute! Ich habe eine DUO-LED, bei der ich es gerne hätte, dass wenn ein NPN-Transistor durchsteuert, die eine LED leuchtet und, wenn er zu ist, eben die andere. Gibt es da eine schaltungstechnische Lösung? Ich kritzel hier schon die ganze Zeit auf dem Papier herum, aber ich bekomme nichts gescheites hin.
Ich glaube, das geht nicht. Was ist denn die einfachste Lösung?
ich würde es wie bei einer push pull stufe versuchen. also den einen Pin mit einem PNP den Anderen Pin mit einem NPN-Transistor schalten. http://www.mikrocontroller.net/attachment/40879/ONE_PIN_LED.JPG die Taktquelle ist dein AVR Sollte gehen.
Hansen schrieb: > DUO-LED Welche? Hat sie 2 Beine und es leuchtet je nach Polarität die eine oder die andere, oder hat sie 3 Beine mit gemeinsamer Anode oder Kathode? Gruß Dietrich
Dietrich L. schrieb: > Welche? Hat sie 2 Beine und es leuchtet je nach Polarität die eine oder > die andere, oder hat sie 3 Beine mit gemeinsamer Anode oder Kathode? Das ist mir eigentlich egal, habe mir noch keine ausgesucht. Würde halt nur gerne zwei Farben in einer LED haben, die mir dann anzeigt, ob durchgesteuert oder nicht.
Rabe schrieb: > ich würde es wie bei einer push pull stufe versuchen. OK, das sieht ja schonmal ganz gut aus! Danke!
Rabe schrieb: > http://www.mikrocontroller.net/attachment/40879/ON... Die Schaltung hat den Nachteil, dass es beim Umschalten einen unkontrollierten Querstrom gibt. @Hansen: schau mal bei Google mit "Duo-Led". Da gibt es auch einige Ansätze - allerdings ohne Qualitätsgarantie :-( Gruß Dietrich
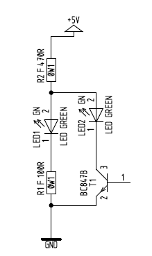
Daniel V. schrieb: > So vielleicht? Sorry, war natürlich Käse. Im Anhang die korrigierte Schaltung. Bei den Widerstandsdimensionierungen muss man ein bisschen spielen, bis die LED1 tatsächlich ausgeht (oder nicht mehr wahrnehmbar ist).
@ Dietrich L. (dietrichl) >> http://www.mikrocontroller.net/attachment/40879/ON... >Die Schaltung hat den Nachteil, dass es beim Umschalten einen >unkontrollierten Querstrom gibt. Die Schaltung ist auch schlecht. Mit der richtigen Schaltung braucht es nix weiter als EINEN Widerstand und ggf. ein paar Dioden. Siehe Anhang. Der Trick besteht darin, dass die Summe der Flußspannungen mindestens 0,5V größer als die Betriebsspannung ist. Reichen dazu die LEDs nicht aus, schaltet man einfach Dioden in Reihe. Low Current LEDs oder Ultrahelle kann jeder normale Logikausgang direkt ansteuern. Geht der Logikausgang auf Tristate, sind beide LEDs aus. Einfach und stromsparend.
Falk Brunner schrieb: > Die Schaltung ist auch schlecht. Mit der richtigen Schaltung braucht es > nix weiter als EINEN Widerstand und ggf. ein paar Dioden. Siehe Anhang. > > Der Trick besteht darin, dass die Summe der Flußspannungen mindestens > 0,5V größer als die Betriebsspannung ist. Reichen dazu die LEDs > nicht aus, schaltet man einfach Dioden in Reihe. Low Current LEDs oder > Ultrahelle kann jeder normale Logikausgang direkt ansteuern. Geht der > Logikausgang auf Tristate, sind beide LEDs aus. Einfach und > stromsparend. Allerdings war im Eingangspost die Rede von einer Duo LED. Wie soll man die Schaltung mit einer Duo LED aufbauen? Wo die doch gemeinsame Anode / Kathode haben ? Bei SMD LED ist das natürlich wieder was anderes. Bei PLCC4 LED sind ja meist Anode und Kathode pro LED einzeln herausgeführt.
@ Manuel Z. (vophatec) >Allerdings war im Eingangspost die Rede von einer Duo LED. Ja, aber es wurde keine Duo-LED genannt. "Das ist mir eigentlich egal, habe mir noch keine ausgesucht. Würde halt nur gerne zwei Farben in einer LED haben, die mir dann anzeigt, ob durchgesteuert oder nicht." Beitrag "Re: Tipp zu Schaltung gesucht: OR von 2 LEDs mit einem Transistor"
Bitte melde dich an um einen Beitrag zu schreiben. Anmeldung ist kostenlos und dauert nur eine Minute.
Bestehender Account
Schon ein Account bei Google/GoogleMail? Keine Anmeldung erforderlich!
Mit Google-Account einloggen
Mit Google-Account einloggen
Noch kein Account? Hier anmelden.

