Hallo Leute, ich habe ein Problem. Eine Messelektronik soll einen schnellen Impuls (200ns) erfassen (Ampitude). Die Abtastfrequenz ist jedoch zu langsam. Also soll der Impuls etwas "verlängert werden" von 200ns auf ca. 5µs damit er sicher erfasst wird. Habe gedacht ich schalte einen Peak Detector davor (siehe Scaltung(en)), jedoch benötigen die min. 2-3µs Impulslänge, damit die Amplitute stimmt (<1% Error). Als Anlage verschiedene Schaltungen. An was kann das liegen? - Schaltung, - OPV (Bandbreite, Anstiegszeit), - Diode, - ??? Habe extra schnelle Diode (STTH1R02) und OPV (LT1364) genommen? Hat jemand eine Idee? Oder Lösung (Peak-Detector, S&H mit Entladung). Ein µC mit schnellem ADC mit DAC soll nicht eingesetzt werden. Der Peak Detector soll den bipolaren +Peak (max. +10V) und -Peak (min. -10V) erkennen. Danke!
@ Analog Looser (Gast) >Habe gedacht ich schalte einen Peak Detector davor (siehe Scaltung(en)), >jedoch benötigen die min. 2-3µs Impulslänge, damit die Amplitute stimmt >(<1% Error). OPV zu langsam Speicherkondensator zu groß. >- Diode, Eher nicht, ne 1N4148 ist mehr als schnell genug (trr=4ns). >Habe extra schnelle Diode (STTH1R02) und OPV (LT1364) genommen? Der OPV sieht OK aus, die Diode scheint eine HV-Diode zu sein. Warum? 1N4148 reicht locker und hat weniger Kapazität. >Der Peak Detector soll den bipolaren +Peak (max. +10V) und -Peak (min. >-10V) erkennen. Huh, ganz schön viel! Da braucht man doch keinen OPV mehr, einfach nur ne Diode. Den Spannungsverlust kann man rausrechnen. Denn bei 10V ist der OPV an seiner Grenze bezüglich Slew rate, wobei 1kV/us schon recht viel ist, macht 200V/200ns, sollte theoretisch reichen.
Hmm, es kann sein, dass der OPV in der anderen Polarität Probleme bekommt, weil dann die Rückkopplung durch die Diode getrennt ist. Hier braucht man ein Diode vom Ausgang (Anode) zum -Eingang (Kathode), um die Übersteuerung zu verhindern.
Zuerst schlägt die Zeit ein, bis der Eingang aus der Übersteuerung kommt. Dann liefert der OP (nach Datenblatt) bis zu 50mA in C1, bis der aufgeladen ist. Bei nur 12V und noch einer Diode in Reihe eher einiges weniger. Der Strom dafür dürfte hauptsächlich aus C3-C4 kommen, die sind "nach Gefühl" besser 1uF low ESR. C1-C3-C4 brauchen eine kurze Verbindung zueinander.
Zuerst einmal vielen Dank für die fachlich guten Beiträge! Hätte nicht gedacht, dass sich soviele qualitativ der Sache annehmen! >Huh, ganz schön viel! Da braucht man doch keinen OPV mehr, einfach nur >ne Diode. Den Spannungsverlust kann man rausrechnen. Manchmal sieht man vor lauter Bäume den Wald nicht mehr, ich denke bei der Applikation kann man Peaks, die kleiner 1V sind, vernachläßigen. Daher dürften Dioden wohl ausreichen. Die Durchlaßspannung kann man ja über einen Addierer (OPV+baugleiche Diode) einigermaßen temperaturkompensieren. Zuerst versuche ich eine Diode mit weniger Kapazität und C1 auf 1nF zu verkleinern, da der Stromfluß in den 200ns, bis der Kondensator aufgeladen ist, nicht ohne ist. Hat jedoch bisher zu keiner großen Veränderung geführt, daher C3 und C4 auf jeden Fall vergrößern.
Sofern man mit der Auswertung einigermaßen schnell ist, kann man den Kondensator noch weiter verkleinern: für 200 ns Pulse sind 10-50pF eine realistische Größe. Die zeit bis zur Auswertung sollte nur nicht zu lang werden - sonst halt eine 2. Stufe dahinter - die kann dann langsamer werden.
Es gibt doch beliebig schnelle Peakdetektoren... Ich koennte als Billigteilzb den LT5505 empfehlen. Der macht 3GHz oder so. Uebrigens fast ab DC, dort hat er dann eben keine 50 Ohm mehr. Man muss einfach einen 1uF als Koppelkondenser verwenden. Die Videobandbreite ist 4MHz.
> Es gibt doch beliebig schnelle Peakdetektoren... Ich koennte als > Billigteilzb den LT5505 empfehlen. Habe ich mir auch mal angeschaut, scheinen aber nicht geeignet zu sein. Lasse mich aber gerne eines Besseren belehren! Ich denke, diese "Peakdetektoren" sind aber für eine andere Anwendungsart (RF) bestimmt. - nicht bipolar - nicht für +/- 10V geeignet d.h. erfordern eine zusätzliche Signalanpassung.
Die http://www.dse-faq.elektronik-kompendium.de/dse-faq.htm#F.30.2 nennt
1 | LT1715 |
2 | in --+-----|+\ 1N5711 dieser Widerstand verhindert overshoot |
3 | | | >--|>|--2k--+--+--+-- out |
4 | 50R +--|-/ | | | |
5 | | | | 1nF 1M Widerstand bestimmt decay Zeit |
6 | | +-----------------+ | | |
7 | GND -+-----------------------+--+-- |
Echter Spitzenwert, muß zurückgesetzt werden, geht aber bis 100kHz besser als 0.1%:
1 | in --------|+\ OPA624 |
2 | | >--+--|>|-----+----------|+\ |
3 | +--|-/ | BAS70 | | >--+-- Peak |
4 | | +--|<|--+ 220nF +--|-/ | |
5 | | | | | | |
6 | +----------------+--(--10k--+--------+ |
7 | | |
8 | GND ------------------------+ |
200ns sind also nicht ganz so einfach. Man könnte je nach geforderter Präzision auch sagen: Unerreichbar.
Wie wärs denn mit der Lösung im Anhang? Nicht so genau wie ein OPV, aber besser als eine Diode allein, weil deren Flussspannung teilweise kompensiert wird.
@ArnoR Danke für deine Schaltung! Werde es so machen (siehe Anlage). Ich verstehe jedoch nicht ganz, warum sich die Durchflussspannungen teilweise kompensieren (Kollektorschaltung)? Ist die Beschaltung für -Peak so korrekt?
Analog Looser schrieb: > Ich verstehe jedoch nicht ganz, warum sich die Durchflussspannungen > teilweise kompensieren (Kollektorschaltung)? Stell dich mal auf das Potential am Emitter. Der Eingang (Basis) liegt immer um Ube tiefer und der Ausgang liegt um Uf tiefer. Und wenn Ube~Uf, dann hebt sich das gegenseitig auf. > Ist die Beschaltung für -Peak so korrekt? Scheint so. Was allerdings nicht geht, sind die 10nF, damit sind die Zeitkonstanten für 200ns zu groß. Das sieht man doch gut in meinem Bild.
> Was allerdings nicht geht, sind die 10nF, damit sind die Zeitkonstanten > für 200ns zu groß. Das sieht man doch gut in meinem Bild. Ja ist mir klar, habe ich vergessen im Schaltplan zu ändern. Danke für den Hinweis und für die Erklärung!
Analog Looser schrieb: > Ist die Beschaltung für -Peak so korrekt? Ähh, du kannst die Schaltung nicht für beide Polaritäten parallel schalten, weil sonst beim eigentlich inaktiven Transistor jeweils die Kollektor-Basis-Diode leitend wird. Und selbst wenn man da eine (Schottky-) Diode in die Kollektorleitung legt, muss der Eingang immer noch den Strom durch die 220R aufnehmen.
ArnoR schrieb: > Analog Looser schrieb: >> Ist die Beschaltung für -Peak so korrekt? > > Ähh, du kannst die Schaltung nicht für beide Polaritäten parallel > schalten, weil sonst beim eigentlich inaktiven Transistor jeweils die > Kollektor-Basis-Diode leitend wird. Und selbst wenn man da eine > (Schottky-) Diode in die Kollektorleitung legt, muss der Eingang immer > noch den Strom durch die 220R aufnehmen. Die Kollektoren dürfen dann halt nicht auf Masse, sondern auf die jeweils gegenüber liegende Betriebsspannung. Bei 200 Ohm gibt es hier ein Problem mit der verbratenen Leistung der Transistoren. Außerdem sehe ich noch das Problem, dass die Bias-Ströme der OpAmps den Kondensator bis über den Peak hinaus aufladen, nur gebremst durch 220k. Den einen oder den andren, aber ohne mir die OpAmps genauer angeschaut zu haben. Wie soll der Peak den wieder zurück gestzt werden? Welchen Innenwiderstand hat denn die Signalquelle? Die muß ja z. B. auch die Kapazitäten der Transistoren (wirklich BC328?) umladen. Gruß
Joachim schrieb: > Die Kollektoren dürfen dann halt nicht auf Masse, sondern auf die > jeweils gegenüber liegende Betriebsspannung. Bei 200 Ohm gibt es hier > ein Problem mit der verbratenen Leistung der Transistoren. Genau. Man könnte den Strom und die Speicherkapazität kleiner machen, nur bekommt man dann ein zunehmendes Problem mit der Ladung, die die Diode an der Rückflanke wieder aus dem Speicherkondensator saugt. > Außerdem sehe ich noch das Problem, dass die Bias-Ströme der OpAmps den > Kondensator bis über den Peak hinaus aufladen, nur gebremst durch 220k. > Den einen oder den andren, aber ohne mir die OpAmps genauer angeschaut > zu haben. Nun, ab dem Speicherkondensator ist das Signal doch ganz langsam, da kann man einen Fet-OPV mit sehr kleinem Biasstrom nehmen, so dass man keinen nennenswerten zusätzlichen Fehler bekommt. > Wie soll der Peak den wieder zurück gestzt werden? Z.B. mit einem kleinen Fet parallel zum Speicherkondensator. Ist aber wohl Sache des TE. > die Kapazitäten der Transistoren (wirklich BC328?) umladen. Der Transistor arbeitet ungesättigt als Emitterfolger und hat daher nur eine kleine wirksame Kapazitäten, da geht auch ein BC328. 200ns (jeweils rauf und runter) sind doch nur 2,5MHz.
ArnoR schrieb: > Joachim schrieb: >> Die Kollektoren dürfen dann halt nicht auf Masse, sondern auf die >> jeweils gegenüber liegende Betriebsspannung. Bei 200 Ohm gibt es hier >> ein Problem mit der verbratenen Leistung der Transistoren. > > Genau. Man könnte den Strom und die Speicherkapazität kleiner machen, > nur bekommt man dann ein zunehmendes Problem mit der Ladung, die die > Diode an der Rückflanke wieder aus dem Speicherkondensator saugt. Den Strom kann man ruhig kleiner machen, ohne den Speicherkondensator auch zu verkleinern, wenn man zwischen die beiden Emitter noch einen weiteren Kondensator schaltet. Sind ja Emitterfolger, der eine (U+UBE) und der andere (U-UBE). Von Emitter zu Emitter liegt dann immer eine Spannung von etwa 2UBE an. Also Vorschlag RE jeweils 1k und zwischen E(PNP) und E(NPN): 100n. Dadurch wird das Signal auch "symmetrischer". >> Wie soll der Peak den wieder zurück gestzt werden? > Z.B. mit einem kleinen Fet parallel zum Speicherkondensator. Ist aber > wohl Sache des TE. An ihn war meine Frage eigentlich auch adressiert, ebenso wie die nach dem Innenwiderstand der Signalquelle. Die anderen Aspekte wollte ich nur mal kurz anreißen. Gruß
Joachim schrieb: > Also Vorschlag RE jeweils 1k und zwischen E(PNP) und E(NPN): 100n. Der Vorschlag ist sehr gut. > Dadurch wird das Signal auch "symmetrischer". Nicht nur das, es wird auch sehr schnell. Trotz reduziertem Strom verzehnfacht sich die Abtastgeschwindigkeit. Nach nicht mal 20ns ist der Spitzenwert erreicht, weil jeweils die "andere" Seite niederohmig (als direkter Emitterfolger ohne Begrenzungswiderstand) über den Verbindungskondensator Ladung liefert. Außerdem wird die Stufe durch die Dioden an der Signalrückflanke verringert. Scheint so als gäbe es doch eine vernünftige Schaltung für das Problem. :-)
ArnoR schrieb: > Nach nicht mal 20ns ist der Spitzenwert erreicht Somit kann der Speicherkondensator auch größer werden, womit man weniger Probleme mit Leck- und Bias-Strömen hat. Als "Diode zum Ausgleich der UBE" kann man ev. den jeweiligen Transistor als Diode verschaltet nehmen. Hat aber den Nachteil, dass die Kapazität dieser Diode und die Leckströme dann größer sind als bspw. bei einer 1n4148. Vorteil wäre eine prinzipiell ähnlichere UBE, insbesondere da ja bei Dioden selbst bei gleichem Strom typischerweise eine größere Spannung abfällt. Aber dies hängt alles mit den Genauigkeitsanforderungen zusammen. Ev. kann eine Kalibriertabelle helfen. Gruß
Den Speicherkondensator sollte man schon deutlich kleiner machen, wenn es um einzelne Peaks geht. Gegen die Drift über längere Zeit hilft wenn nötig ein 2. langsamerer Peakdetektor mit OPs, etwa so ähnlich wie Figure 1 ganz oben mit FET OP-Amp - ggf. auch die Version mit einem 2 OP. Die erste Sture verlängert den Peak dann in z.B. den ms Bereich und die 2. Stufe kann dann in aller Ruhe und ohne großen Fehler den Wert auch länger speichern.
Für diejenigen, die es interessiert und die mit dem "Geschwätz" nichts anfangen können, hier die zuletzt erwähnte Schaltung mit Zeitverhalten. Positiver 10V-Eingangssprung bei t=0 (grün), zurück auf 0 bei 200ns, negativer 10V-Eingangssprung bei t=300ns (rot), gezeigt ist jeweils das Ausgangssignal. Joachim schrieb: > Als "Diode zum Ausgleich der UBE" kann man ev. den jeweiligen Transistor > als Diode verschaltet nehmen. Das bringt nicht viel, weil der Strom durch die Diode zum Ende der Aufladezeit sehr klein wird und damit auch ihre Flussspannung, somit kann man immer nur eine unvollkommene Kompensation erreichen.
Hi, mal eine ketzerische Frage: Funktioniert das mit dem Kondensator, auch wenn ein Gleichspannungspegel dem Eingangssignal überlagert ist? Wird dieser nicht mit in den Kondensator geladen und verfälscht das Ergebnis? Grüße
Krangel schrieb: > mal eine ketzerische Frage Kaum wurde mal eine gute Schaltung entwickelt, schon kommen die Nörgler. Krangel schrieb: > Funktioniert das mit dem Kondensator, auch > wenn ein Gleichspannungspegel dem Eingangssignal überlagert ist? Ketzerische Gegenfrage: Kann man einen Gleichspannungspegel auf dem Eingangssignal nicht simplerweise durch einen Kondensator abtrennen?
Hi, RoJoe schrieb: > Kaum wurde mal eine gute Schaltung entwickelt, > schon kommen die Nörgler. warum Nörgler? Ich habe eine Frage gestellt, die noch nicht untersucht wurde. RoJoe schrieb: > Kann man einen Gleichspannungspegel auf dem Eingangssignal > nicht simplerweise durch einen Kondensator abtrennen? Klar geht das, aber wenn eine Gleichspannung Einfluss hat, braucht es noch eine gute Klemmschaltung sonst funktioniert das simplerweise nicht mehr. Grüße
Hi, und voher bekommen die Basen ihr Bezugspotentional? Grüße
Krangel schrieb: > und voher bekommen die Basen ihr Bezugspotentional? von einem Widerstand gegen Masse
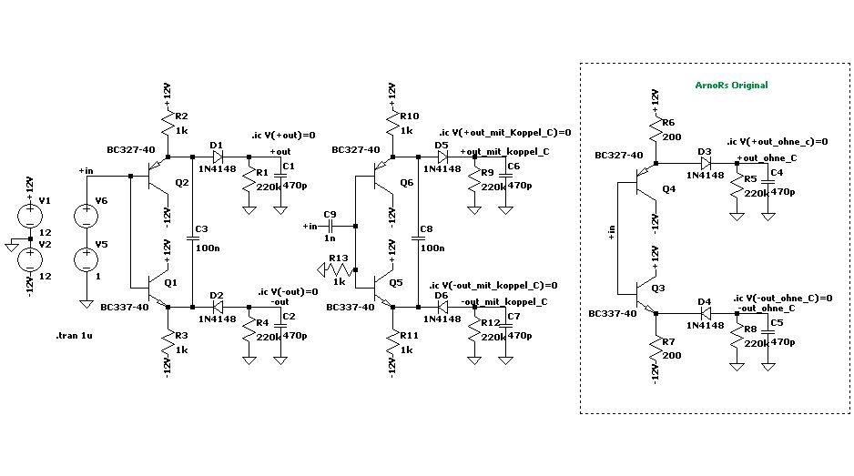
Hi, menno das artet hier in Arteit aus. Links: mit dem Kondensator Mitte: Mit Kondensator und Koppelkondensator Rechts: ArnoRs original Diagramm: Oben: ArnoRs Original: langsam aber exakt. Mitte: mit Kondensator: beide Signale zu klein. Unten: mit Kondensator und Koppelkondensator: sieht am schlechtestens aus. Nachtruhe jetzt.
Nachtrag: dem Eingangssignal ist ein Gleichanteil von 1V überlagert.
Sorry, das ich mich erst jetzt wieder melde. War seit gestern Nachmittag anderweitig beschäftigt. Bin ja echt erstaunt, wie intensiv an der "Aufgabe" gearbeitet wird! Als "Analog Looser" (Softworker) kann ich nicht immer ganz der Diskussion folgen. Bin noch ein paar Antworten schuldig. >Wie soll der Peak den wieder zurück gestzt werden? Gar nicht. Der Impuls (ca. 200ns) kommt nur alle 10-100ms, in dieser Zeit muss sich der Spitzenwertspeicher (zum Teil) selbst entladen haben -> RC-Glied -> Tau. Zum nächsten Impulszeitpunkt muss die Spannung nur soweit abgefallen sein, dass der Spike wieder detektiert werden kann. Letztendlich interessiert der Zeitpunkt und die Amplitude zum Zeitpunkt. >Welchen Innenwiderstand hat denn die Signalquelle? Die muß ja z. B. auch >die Kapazitäten der Transistoren (wirklich BC328?) umladen. Die Signalquelle ist über einen nachgeschalteten Impedanzwandler aufbereitet und sollte daher keine Probleme machen. Hintergrundinformation: Bei der Applikation handelt es sich um Messungen von Zündspannungssignalen an Verbrennungsmotoren (daher sehr kurz). Dementsprechend ist die Zeit zwischen den Impulsen abhängig von der Motordrehzahl.
Krangel schrieb: > Unten: mit Kondensator und Koppelkondensator: sieht am schlechtestens > aus. Die Eingangszeitkonstante 1nF/1k ist zu klein, da ändert sich das Signal an den Basisanschlüssen schon merklich innerhalb der 200ns. Setz mal 100nF ein, dann ist es gut.
@ Analog Looser (Gast)
>Letztendlich interessiert der Zeitpunkt und die Amplitude zum Zeitpunkt.
Dann brauchst du aber noch einen Komparator zur Detektion des Pulses.
Hi, ArnoR schrieb: > Setz mal > 100nF ein, dann ist es gut. Richtig. Aber das bedeutet, dass der Kondensator die Schaltung auf AC einschränkt. Wer sagt, dass das zulässig ist? Da wir jetzt wissen, wie das Signal eventuell aussieht, können wir ja mal damit simulieren. Raus kommt, dass die geforderte Genauigkeit <±1% nicht erfüllt wird. Bei einem 10V Signal beträgt der Fehler trotz Kondensator ca.8%. Bei einem 4V Signal ist die Schaltung ohne C, oh Wunder der Elektronik, um 1% Punkt besser. Also, alles noch mal auf Anfang. Grüße
Krangel schrieb: > Aber das bedeutet, dass der Kondensator die Schaltung auf AC > einschränkt. Wer sagt, dass das zulässig ist? Mann, was redest du denn da? Natürlich schränkt ein Eingangskoppelkondensator die Schaltung auf AC ein, ist z.B. bei jedem NF-Verstärker genauso. Die Schaltung liefert ohne Eingangskoppelkondensator am Ausgang den Spitzenwert des Summensignals. Ob das zulässig ist oder nicht entscheidet das Signal und der Anwender. Wer sagt denn, dass die Schaltung alle denkbaren Eventualitäten abdecken kann/soll? > Also, alles noch mal auf Anfang. Ja bei deinen Simulationen. Man kann deutlich sehen, dass du im linken Bild einfach eine falsche Zeitkonstante angesetzt hast (rot), da kann natürlich kein vernünftiges Ausgangssignal rauskommen. Was du da sonst simuliert hast kann man mangels Schaltung gar nicht beurteilen. Kannst du außer solch komischen Beiträgen auch mal was Konstuktives liefern oder bis du nur auf "Rache" aus?
>>Letztendlich interessiert der Zeitpunkt und die Amplitude zum Zeitpunkt. @Falk Brunner > Dann brauchst du aber noch einen Komparator zur Detektion des Pulses. Ist nicht notwendig, siehe Eröffnungsbeitrag: >Eine Messelektronik soll einen schnellen Impuls >(200ns) erfassen (Amplitude). Die Abtastfrequenz ist jedoch zu langsam. >Also soll der Impuls etwas "verlängert werden" von 200ns auf ca. 5µs >damit er sicher erfasst wird. Bei 10-100ms Zykluszeit ist eine Abweichung von 2-5µs ausreichend. Letztendlich wird umgerechnet auf den Kurbelwinkel, und dessen Messgenauigkeit ist noch viel geringer. Ziel ist es jeden Impuls (Zündung) mitzubekommen und nicht nur wenn Abtastung und Impuls zufällig übereinstimmen. @ArnoR und Krankel Last es Gutsein. Ich finde ArnoR hat eine wirklich einfache und ausreichend genaue Schaltung entworfen - VIELEN DANK !!! ArnoR wenn Du kein Abstinenzler bist, dann würde ich Dir - als kleines Dankeschön - einen Wein zukommen lassen! Oder die neue E-Klasse, oder beides (Wein im Kofferraum) ;-)
Analog Looser schrieb: > Ich finde ArnoR hat eine wirklich einfache und > ausreichend genaue Schaltung entworfen - VIELEN DANK !!! Ich denke, alle Beteiligten haben den Dank verdient, insbesondere Joachim. > ArnoR wenn Du kein Abstinenzler bist, dann würde ich Dir - als kleines > Dankeschön - einen Wein zukommen lassen! > Oder die neue E-Klasse, oder beides (Wein im Kofferraum) ;-) Vielen Dank, aber wenn, dann für alle. Ich bin kein Abstinenzler und die E-Klasse reizt mich nicht im geringsten, ich bin zufrieden und brauche nichts.
Krangel schrieb: > mal eine ... Frage: Funktioniert das mit dem Kondensator, auch > wenn ein Gleichspannungspegel dem Eingangssignal überlagert ist? Ja. > Wird dieser nicht mit in den Kondensator geladen Ja. > und verfälscht das Ergebnis? Nein. Gefragt war nach einem Spitzenwertdetektor. Natürlich verschiebt (bei sonst gleicher Signalform) eine überlagerte Gleichspannung beide Spitzenwerte. Und die Haltekondensatoren werden auf diese neuen Spitzenwerte aufgeladen. Wieso sollte das ein Fehler sein? XL
Der von Krangel beobachtete Rückschlag durch die 1N4148 scheint real. Aus diesem Grunde hier eine Simulation mit Schottky-Dioden. Der 100n zwischen den Emittern ist dann ohne größere Bedeutung, da als Last ja nur die Basisströme der nachfolgenden Transistoren auftritt. Die Speisespannung muß gut entkoppelt werden, da zum Laden der Speicherkondensatoren größere Strome benötigt werden. Gruß
@ Joachim (Gast) >Der von Krangel beobachtete Rückschlag durch die 1N4148 scheint real. Und das hast du mit der Simulation herausgefunden? ;-) >Aus diesem Grunde hier eine Simulation mit Schottky-Dioden. Um eine 4148 zu ersetzen braucht es schon eine SEHR gute Schottkydiode, denn die ist alles andere als lahm bei 4ns trr.
Falk Brunner schrieb: >>Der von Krangel beobachtete Rückschlag durch die 1N4148 scheint real. > Und das hast du mit der Simulation herausgefunden? ;-) Es scheint so. :-) Gruß
Falk Brunner schrieb: > Um eine 4148 zu ersetzen braucht es schon eine SEHR gute Schottkydiode, > denn die ist alles andere als lahm bei 4ns trr. Liegt ein Fehler im LTSpice-Modell für die 1N4148 vor? Hier steht tt=20n. Gruß
Joachim schrieb: > Der von Krangel beobachtete Rückschlag durch die 1N4148 scheint real. Das Problem ist die leitende Diode bei Krangel wegen der falschen Zeitkonstanten. Wenn die umgepolt wird, dann muss die Sperrverzugsladung ausgeräumt werden. Wenn die Zeitkonstante so gewählt wird, dass die Diode praktisch stromfrei ist, dann hat man nur die geringe Sperrschichtkapazität, die Ladung aus dem Speicherkondensator saugt. Die trr sagt hier nicht viel aus.
Du hast in Deiner Simu ja einen rechteckigen Impuls, wenn ich das richtig sehe. Da hat die Diode genug Zeit nichtleitend zu werden. Bei einem sinusförmigen Verlauf muss sie bis zum Maximum leiten. Und die linke Schaltung mit u+ entspricht ja der diskutierten. Wenn ich das Diagramm zoome, sehe ich, dass das Signal "u+" dem Eingangssignal 20 ns lang folgt, was ja dem "tt=20n" entsprechen könnte. Unabgängig davon entlädt der 220k den auf 10 V geladenen 470p in den ersten 5 µs um etwa 0,5 V. Gruß
Das Model sowohl bei LTspice als auch bein Tina sind vermutlich nicht korrekt. Das NXP-Modell macht doch schööne Kurven.
Offensichtlich ist in LTspice das Modell der 1N4148 einfach eine 1:1 Kopie der 1N914. Das paßt auch zur Tatsache, das Amis eher die 914 buchen. Übrigens kennt LTspice auch keinerlei forward-recovery Simulation. Was mir mal bei der 1N400x übel aufstieß, als es am Scope klar zu sehen war aber in der Sim eben nicht. Man lernt nie aus.
nö, reverse recovery time ist bei beiden 4ns, die anderen Daten sind ziemlich ähnlich. Die LTspice Modelle sind aber identisch, und damit beide nicht korrekt.
Die 1N4148 ist eine verbesserte 1N914. Eventuell verkaufen aber die Hersteller nur noch 1N4148-Dies und stempeln sie nach Marktwunsch. Wie bei anderen Halbleitern auch.
Hallo Leute, habe mal verschiedene Schaltungen aufgebaut, allerdings sehen die Signale in der realen Schaltung ander aus als die Simulationsergebnisse. Ganz bescheiden war der Entwurf mit den Transistoren (???). Das beste Ergebniss ist der Entwurf in der Anlage, wobei ich das Delay (ca. 20µs) mir nicht erklären kann. Hat jemand eine Idee an was das liegen kann? Die Schaltung erfüllt jedoch die Spezifikation bei weitem nicht ;-(
Hi, du hast den Peak-Detector falsch zusammengebaut. Mir scheint, dass der OpAmp zu langsam ist, bei 2,5Mhz gibt es deutliche Überschwinger. Bei 1 MHz scheint er noch zu gehen. Die Verzögerung kommt vermutlich von den Widerständen R17/R18, die bilden einen Tiefpass mit der Eingangskapazität des OpAmps, obwohl 20µs mir doch zu lange erscheint. Lass die ganzen Widerstände und die 1N4148 einfach mal weg. Bye
Analog Looser schrieb: > habe mal verschiedene Schaltungen aufgebaut, allerdings sehen die > Signale in der realen Schaltung ander aus als die Simulationsergebnisse. > Ganz bescheiden war der Entwurf mit den Transistoren (???). Hast Du die Schaltung noch? Dann würde mich interessieren was für Kurven es da gab. > Das beste Ergebniss ist der Entwurf in der Anlage, wobei ich das Delay > (ca. 20µs) mir nicht erklären kann. Hat jemand eine Idee an was das > liegen kann? Das dürfte zu 95% an den 100p in der Rückkopllung liegen (C5 & C6). Entlöte diese doch mal und zeige Kurven. A: es ist deutlich besser. B: es schwingt. Der Abfall nach dem Peak erklärt sich durch die 330k mit parallel 200k. Gruß
Hallo und Danke an alle!!! >Die Verzögerung kommt vermutlich von den Widerständen R17/R18, die >bilden einen Tiefpass mit der Eingangskapazität des OpAmps, obwohl 20µs >mir doch zu lange erscheint. Lass die ganzen Widerstände und die 1N4148 >einfach mal weg. Das gleiche sieht ähnlich mit einem Spannungsfolger aus - nur ohne Offset. >Das dürfte zu 95% an den 100p in der Rückkopllung liegen (C5 & C6). >Entlöte diese doch mal und zeige Kurven. A: es ist deutlich besser. B: >es schwingt. Habe zuerst keine C5 und C6, dann schwingte der OP sehr stark. Die 100pF wurden empirisch ermittelt (10pF - 220pF). >Hast Du die Schaltung noch? Dann würde mich interessieren was für Kurven >es da gab. Leider Nein. Das viele hin- und herlöten machte den Aufbau nicht gerade besser, daher habe ich schon 3 komplette neue Schaltungen aufgebaut. Und Transitor Lösung in den Müll geworfen. Letztendlich bin ich wieder zurück zu meiner "Erstschaltung" gegangen (siehe Anlage). Habe ein paar Dimensionierungen geändert. Der Grund warum die Puls ein Länge von ein paar µS brauchte lag an zu hohem R7 und R8 und zusätzlich LOW-ESR 4.7µF SMD-Kondensatoren an jedem OP. Frage mich nur, woher das Delay (ca. 200ns) und das Überschwingen (ca. 1,3V) beim -Peak herkommt?
@ Analog Looser (Gast) >Das gleiche sieht ähnlich mit einem Spannungsfolger aus - nur ohne >Offset. An IC2A und IC3A fehlen die Klemmdioden für die jeweils andere Polarität zwischen - Eingang und Ausgang des OPVs. >Frage mich nur, woher das Delay (ca. 200ns) und das Überschwingen (ca. >1,3V) beim -Peak herkommt? Siehe oben. Der OPV kommt aus der Sättigung und schwingt über.
Danke Falk für Deinen Tipp. Ich bin eigentlich Programmierer und in (analoger !!!) Schaltungstechnik wenig geübt. Mit Klemmdiode meinst Du sicherlich eine Schottky (D4) wie in der Anlage? Das würde bedeuten, wenn zuerst der neg. Puls vor dem pos. Puls kommen würde, dann würde die Verzögerung und das Überschwingen im +Peak sichtbar sein - Oder?
@ Analog Looser (Gast) >sicherlich eine Schottky (D4) wie in der Anlage? Ja, aber es muss keine Schottky sein, und auch kein 1A Monster. EIne 1N4148 reicht locker. >Das würde bedeuten, wenn zuerst der neg. Puls vor dem pos. Puls kommen >würde, dann würde die Verzögerung und das Überschwingen im +Peak >sichtbar sein - Oder? Ja.
Bitte melde dich an um einen Beitrag zu schreiben. Anmeldung ist kostenlos und dauert nur eine Minute.
Bestehender Account
Schon ein Account bei Google/GoogleMail? Keine Anmeldung erforderlich!
Mit Google-Account einloggen
Mit Google-Account einloggen
Noch kein Account? Hier anmelden.


















