Hallo zusammen, habe mich eben angemeldet und sogleich eine Frage: Ich möchte mit einem 8-Bit-AVR drei 230V-Glühlampen schalten. Kann ich dazu wie in diesem http://www.dhoserv.selfhost.me/joomla/index.php/projekte/raspberry-pi?start=3 Artikel beschrieben jeweils einen TIC206D Triac in Kombination mit einem MOC3041 Optokoppler verwenden? Diese Teile würde es auch günstig bei Reichelt geben. Was benötige ich noch? Eine passende Sicherung bestimmt. Disclaimer: Ich bin Anfänger, daher bitte Antwort mit Nachsicht, falls ich da was komplett falsch angehe. Viele Grüße Sebastian
Sebastian Wolf schrieb: > Ich bin Anfänger, daher bitte Antwort mit Nachsicht, falls ich da was > komplett falsch angehe. Das kann man zwar machen, aber einfacher ist es, wenn du ein Solid State Relais dafür nimmst. Das ist ein Optokoppler und ein Triac in einem Gehäuse. Die kannst du also wie eine LED ansteuern und damit die Last auf der 230V-Seite schalten. Die Auswahl des SSR hängt davon ab, wie groß deine Last ist. Mit dem hier kannst du 16A schalten http://www.reichelt.de/S216-S02F/3/index.html?&ACTION=3&LA=446&ARTICLE=15444&artnr=S216+S02F&SEARCH=solid+state+relais Und mit dem hier immerhin noch 0,6A http://www.reichelt.de/S26M-D02/3/index.html?&ACTION=3&LA=446&ARTICLE=15447&artnr=S26M+D02&SEARCH=solid+state+relais Auswahl gibts genug :-)
Wie wäre ein einfaches Relais? Oder ein Solid-State-Relais, die haben oft sogar noch eine Nulldurchgangserkennung drin (evtl Snubber nicht vergessen).
Tut mir leid, wenn das etwas hart klingt: aber bei Deinem Kenntnisstand solltestes Du vielleicht lieber sowas nehmen: http://shop.cboden.de/Schaltgeraete/SwitchBox-Relais.html Ist nicht nur einfacher sondern sowohl für Dich als auch Deine Umwelt sicherer! 230 V sind kein Gebiet, auf dem man wissen sollte was man macht. Wenn man es nicht weiß, dann sollte man lieber die Finger davon lassen und fertige Geräte dafür einsetzen.
Sebastian Wolf schrieb: > Triac in Kombination mit einem MOC3041 Optokoppler verwenden? Keine Ahnung, aus welchem Land du kommst, aber was meinst du, könnte wohl mit dem ersten Satz im Datenblatt gemeint sein: "Simplifies logic control of 115 VAC power". Insbesondere die Volt-Zahl solltest du bei deinem Projekt im Auge behalten.
Oder hiermit: http://www.antrax.de/site/Onlineshop/Home/Schaltsteckdosen/SwitchBox-Relais::5.html oder auch http://www.reworld.eu/re/de/produkte/uls/index.htm aus Beitrag "Mit µC VDE-gerecht 240V / 16A schalten"
wendelsberg schrieb: > aus > Beitrag "Mit µC VDE-gerecht 240V / 16A schalten" Ist die Netzspannung schon wieder gestiegen?
Der Titel stammt nicht von mir, aber ja, meistens habe ich so um 240..242V. wendelsberg
wendelsberg schrieb: > meistens habe ich so um > 240..242V. > > wendelsberg Schau mal aus dem Fenster. Wenn die Autos alle links fahren, wohnst Du wahrscheinlich in Grossbritannien!
Wolfgang schrieb: > Keine Ahnung, aus welchem Land du kommst, aber was meinst du, könnte > wohl mit dem ersten Satz im Datenblatt gemeint sein: "Simplifies logic > control of 115 VAC power". Warum liest Du nicht weiter als bis zum ersten Satz vor dem Meckern? Die MOC303x sind für 115Volt, die MOC304x für 230Volt.
Wolfgang schrieb: > Sebastian Wolf schrieb: >> Triac in Kombination mit einem MOC3041 Optokoppler verwenden? > > Keine Ahnung, aus welchem Land du kommst, aber was meinst du, könnte > wohl mit dem ersten Satz im Datenblatt gemeint sein: "Simplifies logic > control of 115 VAC power". Wo ist das Problem? Die Schaltung im Anhang stammt direkt von Fairchild. > Insbesondere die Volt-Zahl solltest du bei deinem Projekt im Auge > behalten. Den Begriff "Volt-Zahl" kann man auch ganz elegant mit "Spannung" umschreiben :-)
Harald Wilhelms schrieb: >> meistens habe ich so um >> 240..242V. >> >> wendelsberg > > Schau mal aus dem Fenster. Wenn die Autos alle links fahren, wohnst > Du wahrscheinlich in Grossbritannien! Nein, die fahren rechts. Ich denke, das kommt von den diversen Einspeiseanlagen ringsum. wendelsberg
npn schrieb: > Das kann man zwar machen, aber einfacher ist es, wenn du ein Solid State > Relais dafür nimmst. Das ist ein Optokoppler und ein Triac in einem > Gehäuse. Die kannst du also wie eine LED ansteuern und damit die Last > auf der 230V-Seite schalten. Die Auswahl des SSR hängt davon ab, wie > groß deine Last ist. > > Mit dem hier kannst du 16A schalten > http://www.reichelt.de/S216-S02F/3/index.html?&ACTION=3&LA=446&ARTICLE=15444&artnr=S216+S02F&SEARCH=solid+state+relais > > Und mit dem hier immerhin noch 0,6A > http://www.reichelt.de/S26M-D02/3/index.html?&ACTION=3&LA=446&ARTICLE=15447&artnr=S26M+D02&SEARCH=solid+state+relais > > Auswahl gibts genug :-) Das klingt doch gut. Was benötige ich noch in meiner Schaltung? Um genau zu sein: Es handelt sich un eine ausrangierte Verkehrsampel mit 3 Birnen, die ich mit einem AVR ansteuern möchte. Wieviel Strom ziehen die Birnen ca.?
Geschätzt 40W, wenn überhaupt. Steht aber sicher drauf auf dem Glühobst :-)
npn schrieb: > Den Begriff "Volt-Zahl" kann man auch ganz elegant mit "Spannung" > umschreiben :-) Deswegen spricht man auf der Insel oder in der neuen Welt auch von "Voltage" ;-)
Nur so am Rande, auch wenn es wohl kaum einen Interessiert: Eine Eigenbaulösung darf man ohne entschpreches Fachwissen und Zertifikate nicht am Stromnetz betreiben. Sollte diese abfackeln und dabei jemand zu Schaden kommen, dann wird man seines Lebens nicht mehr froh. Gruß, SIGINT
Welche Stromspannung kann man mit diesen Dingern denn erreichen? Der TO hat noch nicht erwähnt welche Stromspannung er benötigt! Wenn man keine Ahnung hat, kann das verkokeln...
Hukoonen schrieb: > Welche Stromspannung kann man mit diesen Dingern denn erreichen? > Der TO hat noch nicht erwähnt welche Stromspannung er benötigt! > > Wenn man keine Ahnung hat, kann das verkokeln... http://www.stupidedia.org/stupi/Stromspannung
Was soll dieser blöde Link? Spannung und Strom erzeugen Energie. Und wenn die so hoch wird wie ich das hier annehme, dann kann das gefährlich werden. Der Link ist ziemlicher Unfung. Das kann jeder ausrechnen, ich brauch nicht mal einen Taschenrechner dafür. Es ist leichtsinnig das nicht zu erörtern! Jeder trägt dann mit die Mitschuld wenn es knallt!
Hukoonen schrieb: > Was soll dieser blöde Link? > Spannung und Strom erzeugen Energie. > Und wenn die so hoch wird wie ich das hier annehme, dann kann das > gefährlich werden. > > Der Link ist ziemlicher Unfung. > Das kann jeder ausrechnen, ich brauch nicht mal einen Taschenrechner > dafür. > Es ist leichtsinnig das nicht zu erörtern! > Jeder trägt dann mit die Mitschuld wenn es knallt! es ging um das wort 'stromspannung' und nicht um die energie. übrigens spannung und strom erzeugen keine energie, sondern leistung. ich sehe, daß der link kein unfug ist, sondern völlig zu recht besteht.
Noch als wichtiger Tip für dich die Phase kommt auf den Fusskontakt.
Hukoonen schrieb: > Der Link ist ziemlicher Unfung. Wer, so wie Du, selbst unwissend ist, sollte nicht noch andere belehren wollen. :-(
Hukoonen schrieb: > Was soll dieser blöde Link? Dir klar machen, was für unsinnige Begriffe du verwendest. Hat wohl leider nicht geklappt... > Spannung und Strom erzeugen Energie. Spannung und Strom "erzeugen" erstmal gar nix, davon abgesehen, dass man Energie nicht erzeugen kann (Siehe Energieerhaltungssatz). Was du meinst, ist außerdem nicht Energie, sondern Leistung. Hukoonen schrieb: > Der Link ist ziemlicher Unfung. Er ist immerhin korrekt und ergibt einen Sinn, im Gegensatz zu Aussagen wie > Spannung und Strom erzeugen Energie. oder > Welche Stromspannung kann man mit diesen Dingern denn erreichen?
pnp schrieb: > npn schrieb: >> Den Begriff "Volt-Zahl" kann man auch ganz elegant mit "Spannung" >> umschreiben :-) > > Deswegen spricht man auf der Insel oder in der neuen Welt auch von > "Voltage" ;-) Na du bist gut! :-) Verwendest die Übersetzung ins englische als Argument, daß "Volt-Zahl" richtig ist. Volt-Zahl ist genauso wenig richtig wie "kg-Zahl" statt Gewicht, oder "grad-Zahl" statt Temperatur, "km pro Stunde-Zahl" statt Geschwindigkeit oder was man noch so alles erfinden kann. Und zur Insel und zur untergehenden Welt äußere ich mich jetzt mal nicht :-)
Alles Eksperten hier. Nach wenigen Minuten gibt es sich völlig widersprechende Aussagen. Man sieht mal wieder wie der Spruch stimmt: "Experten werden von Laien gemacht", traurig aber wahr.
Sigint 112 schrieb: > Nur so am Rande, auch wenn es wohl kaum einen Interessiert: Eine > Eigenbaulösung darf man ohne entschpreches Fachwissen und Zertifikate > nicht am Stromnetz betreiben. Sollte diese abfackeln und dabei jemand zu > Schaden kommen, dann wird man seines Lebens nicht mehr froh. > > Gruß, > SIGINT Aha, welche Zertifikate wären das denn?
Hi, mal zurück zum Thema: Nimm simple Relais, die Du z.B. mit BC546 o.ä. gegen Masse schaltest. Bei 40W oder so geht praktisch jedes Relais das die 230V abkann. Freilaufdiode antiparallel am Relais nicht vergessen. 1N4148 müsste reichen, wenn das Relais nicht zu fett ist. Achtung, 1N400X sind oft zu langsam. Wenn man den USB-Anschluss überlastet, kommt es übrigens zur berüchtigten Stromüberspannung. Da wird dann auch die Energie überschritten. Au weia... Gruß, Norbert
Sebastian Wolf schrieb: > Wieviel Strom ziehen die Birnen ca.? birnen ziehen keinen strom sie hängen am baum..... Sigint 112 schrieb: > Sollte diese abfackeln und dabei jemand zu > Schaden kommen, dann wird man seines Lebens nicht mehr froh. na ja dafür gibt´s den netten elektriker um die ecke... der klärt das gegen bezahlung.
http://www.dhoserv.selfhost.me/joomla/index.php/projekte/raspberry-pi?start=3 warum schaltet der das relais denn über optokoppler? wenn 3.3v und 5V gemeinsame masse haben reicht auch relais+transistor+gut isoliert/sicheraufgenaut z.B. inne verteilerdose.
wrdlbrmft schrieb: >> Wusstet ihr schon das Stromspannung im Dudeb steht? > > was ist Dudeb? Das ist anscheinend ein Buch, in dem solche Wörter wie Wiederstand und Standart drinstehen.
Wenigstens hat es der Mackensen (gedruckte Version) noch nicht im Wortschatz. Gruß Toralf
Mein Gott was ist denn hier los? 90% der Antworten sind offtopic oder Besserwisserei. Destilliert aus den sinnvollen Postings: Entweder ein Solid State Relais oder irgendein anderes(!?) konventionelles. Die Rahmenbedingungen: - Birnen haben jeweils 40 W. - Netzspannung ist 230V. Das ganze wird draußen im Garten angeschlossen. Die Lampen sollen ein bisschen blinken. Ist im Grunde eher ein Programmier- als ein Bastelprojekt. Nur eine Ampel leuchtet halt beeindruckender als simple LEDs. Wenn dabei die Sicherung rausfliegen sollte oder das Ding in Flammen aufgeht, wird niemand sterben. Auf Dauer wird das sowieso nicht im Einsatz sein. Bitte also zweckdienliche Antworten für mein Problem. Ich brauche Bauteile- und Schaltplantipps Danke und Grüße Sebastian
Sebastian Wolf schrieb: > Kann ich dazu wie in diesem Artikel beschrieben jeweils einen > TIC206D Triac in Kombination mit einem MOC3041 Optokoppler verwenden? Nein. Die Schaltung ist für 115V. In Deutschland nimmst du besser einen MOC3061, einen TIC206M und 330 Ohm Widerstände. Die Schaltung ist nicht zum Dimmen der Lampe geeignet und braucht daher keine Entstördossel. Wenn aber der Strom zu der Schalrtung per Schalter eingeschaltet werden kann oder per einstöpseln des Netzsteckers, kann die Lampe aufblitzen. Dagegen hilft ein Snubber parallel zum TRIAC von 100nF/X2+100Ohm/1W in Reihe.
Sebastian Wolf schrieb: > Mein Gott was ist denn hier los? 90% der Antworten sind offtopic oder > Besserwisserei. > Destilliert aus den sinnvollen Postings: Hi, damit muß man hier leben. Ignoriere den Mist und filtere Dir die raren aber durchaus vorhandenen Tips raus. Destillieren ist immer gut, solange man sich nicht methylisiert ;-) Also wie ich schrieb, ein normales Relais, am besten 5V Spulenspannung, ist am einfachsten. BC546, E an Masse, C an Relaisspule, andere Seite Relaisspule an 5V. Vom µC 1k an B. Antiparallel zur Relaisspule eine 1N4148. Mit einem kleinen Relais, das 230VAC und 0,5 bis 2A kann sollte das so locker funktionieren. Gefährliche Installationen: Ich bau mir hier gerade eine weitere Steckdose am Balkon an. Die wird auch mal etwas nass werden. Auch wenn das ne Feuchtraumdose ist, ist es etwas grenzwertig wo ich die anbringe. Natürlich stehe ich damit mit einem Bein im Knast und mit ziemlicher Sicherheit wird demnächst von HH-Barmbek-Nord demnächst nur noch ein Krater übrig bleiben durch meinen Pfusch. Wir werden alle STÖRBEN! Drauf geschissen... Wenn jemand allerdings vor Stromspannung warnt, hat das schon seine Richtigkeit. Der hat dann offensichtlich so dermassen keine Ahnung von dem Thema, daß er zumindest selbst die Finger davon lässt. Immerhin. Gruß, Norbert
Tschuldigung für OT Bauteile sucht man sich anhand der Datenblätter aus, Schaltpläne gibt es zur Genüge, wenn man Suchbegriffe bei google unter Bilder bemüht, aber auch im Forum. Anregungen sind oben zu finden. (Transistor- Relais, (Triac) oder fertige IC. In den Datenblättern sind auch oft fertige Schaltungen angegeben. Ansonsten: ausprobieren, Sicherungen einbauen und nicht unter Spannung mit den Fingern prüfen ob ein Leistungsteil warm wird!!! Gruß Toralf
... und noch mal sorry für die nicht geschlossenen Klammerausdrücke. Die Fehlermeldung ist meine :-)
Stromspanner schrieb: > Tschuldigung für OT > Bauteile sucht man sich anhand der Datenblätter aus, Schaltpläne gibt es > zur Genüge, wenn man Suchbegriffe bei google unter Bilder bemüht, aber > auch im Forum. Anregungen sind oben zu finden. (Transistor- Relais, > (Triac) oder fertige IC. In den Datenblättern sind auch oft fertige > Schaltungen angegeben. > Ansonsten: ausprobieren, Sicherungen einbauen und nicht unter Spannung > mit den Fingern prüfen ob ein Leistungsteil warm wird!!! > Gruß Toralf Hi, Nein, nicht entschuldigt. Wenn der Frager in der Lage wäre, das so auszusuchen, hätte er nicht so gefragt. Ausprobieren ist dann auch der schlechteste Tip von allen. Ausprobieren, ob es nach X Stunden abfackelt? Ausprobieren, ob man einen Herzfehler hat, der sich dann erstmals offenbart, wenn man dranpackt? Alles mit gesundem Menschenverstand hinbasteln und gut ist. Gruß, Norbert
Genau dieses >Alles mit gesundem Menschenverstand hinbasteln und gut ist. wollte ich damit >nicht unter Spannung mit den Fingern prüfen ob ein Leistungsteil warm wird zum Ausdruck bringen. Gruß Toralf
>Ansonsten: ausprobieren, Sicherungen einbauen und nicht unter Spannung >mit den Fingern prüfen ob ein Leistungsteil warm wird!!! Spaßbremse, Spielverderber ;-) Tja, da braucht man wohl zum Temperatur-Test irgend sohn berührungsloses Thermometer-Dings
Im Datenblatt zum MOC304X ist eine Schaltung angegeben und zwar für 240Vac. Triac wäre z.B. ein BTA08-600SW oder BTA08-600CW. Auf den Snubber kann man bei Glühbirnen wohl verzichten.
Am besten sind hier immer noch entsprechende SSRs. Und für solche Projekte mit Netzspannung gelten zwei Wahrheiten: - Einfach der Aufbau: alles ordentlich isolieren, offene Kontakte nie zu nah und funkensicher ausführen (d.h. etwa keine verzinnten Kabelenden in Lüsterklemmen sondern mit ordentlichen Kabelendhülsen), passender leistungsgerechter Leitungs-Querschnitt und Sicherungen. - Kompliziert, d.h. gefährlich kanns werden wenn diese Regeln nicht befolgt werden.
So, habe mich mal an einem Schaltplan versucht nach den Tipps von Norbert. Sehe ich das so richtig? Habe bei Reichelt das Relais HJR-4102-L 5V gefunden. Ist das passend für meine Anforderung? Grüße Sebastian
Hi, ja, so wird das klappen. Relais passt auch. Achte nur darauf, daß die Relais zusammen 120mA brauchen. Ein 78L05 (SO-8 oder TO-92) schafft das nicht. Ein 7805 im TO-220 wird an 12V damit sehr warm, müsste aber gerade noch gehen. Der Schaltplan ist grenzwertig unübersichtlich... Gruß, Norbert
Sebastian Wolf schrieb: >> Mit dem hier kannst du 16A schalten >> > http://www.reichelt.de/S216-S02F/3/index.html?&ACTION=3&LA=446&ARTICLE=15444&artnr=S216+S02F&SEARCH=solid+state+relais >> >> Und mit dem hier immerhin noch 0,6A >> > http://www.reichelt.de/S26M-D02/3/index.html?&ACTION=3&LA=446&ARTICLE=15447&artnr=S26M+D02&SEARCH=solid+state+relais >> >> Auswahl gibts genug :-) > > Das klingt doch gut. Was benötige ich noch in meiner Schaltung? Oh mann, hier gings ja ganz schön zur Sache inzwischen :-) Die Antwort auf deine Frage: gar nichts brauchst du weiter. Den oben verlinkten S216 hängst du über einen Widerstand (für die interne LED) an den µC und mit dem Ausgang des S216 schaltest du deine Lampen. Das wars. Also insgesamt 3 Widerstände, 3x S216, und fertig. Verdrahten natürlich noch. Und wenn du die Widerstände mit auf die Platine machst, brauchst du nur 4 Leitungen von der µC-Platine zu den SSR. Einmal GND, der an alle drei (-)-Eingänge kommt und jeweils eine Leitung zum (+)-Ansteuereingang. Und mit den Ausgängen der SSR schaltest du einfach deine Lampen. Daß du beim Verdrahten der Netzspannung vorsichtig bist, brauche ich ja nicht erwähnen :-)
npn schrieb: > Und wenn du die Widerstände mit auf die > Platine machst, brauchst du nur 4 Leitungen von der µC-Platine zu den > SSR. Hi, warum nicht die SSR mit auf die Platine? Wenn man wegen Isolationsabständen auf Lochraster Angst hat, kann man Lötaugen ganz einfach mit dem Lötkolben wegschieben. Ansonsten könnte man die Relais auch direkt aus dem Port vom AVR treiben. Vielleicht nicht sonderlich professionell aber würde gehen. Gruß, Norbert
Norbert S. schrieb: > > Hi, > > warum nicht die SSR mit auf die Platine? Wenn man wegen > Isolationsabständen auf Lochraster Angst hat, kann man Lötaugen ganz > einfach mit dem Lötkolben wegschieben. Klar, kann man durchaus machen, wenn man die Abstände einhält. > > Ansonsten könnte man die Relais auch direkt aus dem Port vom AVR > treiben. Es gibt viele SSR, die schon eine Stromquelle integriert haben, so daß man dann beispielsweise von 3 bis 28V anlegen kann, damit es durchschaltet. Aber beim S216 ist nur eine Leuchtdiode drin, die mit A und K rausgeführt ist, so daß man den Strom für die LED extern begrenzen muß. Aber ein Widerstand pro SSR macht das Kraut nicht fett :-) > Vielleicht nicht sonderlich professionell aber würde gehen. > > Gruß, > Norbert
Hallo Norbert, > Ansonsten könnte man die Relais auch direkt aus dem Port vom AVR > treiben. > Vielleicht nicht sonderlich professionell aber würde gehen. Bei 40mA pro Relais ist das aber schon verdammt grenzwertig - jedenfalls wenn ich das richtig in Erinnerung hab. Wenn alle Relais bestromt werden, macht der Chip das möglicherweise nicht lang mit. Im Übrigen würde ich den Relais keine geregelte Spannung verpassen - wenn man z.b. vor dem 5V Regler ca. 12V hat, dann würde ich diese für die (12V)Relais nutzen(die Schalttransistoren erlauben das ja)! Grüße, Martin edit: Atmega8 Absolute Maximum Ratings DC Current per I/O Pin 40.0 mA DC Current VCC and GND Pins 200.0 mA
Martin M. schrieb: > Bei 40mA pro Relais ist das aber schon verdammt grenzwertig Richtig, würde aber gehen. Würde ich aber wohl auch nicht machen. Klar, wenn da ein ungeregeltes 12V Netzteil ist, gleich die Relais an 12V, dann wird die 5V Schiene entspannter. Wissen wir aber nicht, was er da hat. Bei mir wäre die Enscheidung einfacher, da wird das damit gemacht was die Bastelkiste(n) hergeben. Ev. auch eine Mischung aus 5V und 12V Relais. Gruß, Norbert
Die S216 sind zwar sehr einfach zu verbauen aber doch signifikant teurer als die Kombination aus HJR-4102-L und den BC546 plus Dioden. Oder gibt es noch eine Alternative? Sorry für den unübersichtlichen Schaltplan - ist mein erster Versuch mit Eagle und dieses Programm ist auch weit von einer standardisierten und einfachen Benutzerführung entfernt...
Hi, natürlich gibt es 1000 andere Möglichkeiten. Mein Vorschlag ist einfach, oldschool, funktioniert garantiert und die übliche Bastelkiste gibt das her. Mit den SSR ist es eleganter, klackert nicht, ist dafür teurer und der gemeine Bastler hat das nicht rumliegen. Es noch ganz anders zu machen wäre nur sinnvoll, wenn man das schnell hinfrickeln will, andere Teile rumliegen hat und auch weiß, was man da tut. Such Dir einen der beiden Vorschläge aus, beide sind gut und richtig. Der Schaltplan hätte schlimmer sein können. Das Schlimmste ist, daß 5V und 230V Kreis überlagert sind. Jedem T eine eigene Massereferenz, Masse legt man nicht quer durch den Schaltplan, 5V auch nicht. BC546 mit E nach unten, B dann normalerweise links. Wenn Dir Eagle zu sehr auf den Zeiger geht, kannst Du auch mal Target ausprobieren. Ist aber Geschmackssache, etwas eigen ist das auch. Die "Fehler" in Deinem Schaltplan hättest Du aber auch in Target gemacht, es geht um die Aufteilung und Anordnung. Versuch es einfach nochmal, ich hab einen guten Tag und Zeit ;-) Gruß, Norbert
Sebastian Wolf schrieb: > Die S216 sind zwar sehr einfach zu verbauen aber doch signifikant teurer > als die Kombination aus HJR-4102-L und den BC546 plus Dioden. > Oder gibt es noch eine Alternative? Selbst schalten! Glühbirne (aka Leuchtobst) rein-/rausdrehen. Fertig.
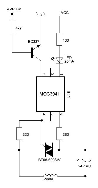
Alternative: Die Schaltung aus dem Datenblatt des MOC3041. Hier zusätzlich mit einem Transistor und einer LED zur Anzeige. Der Transistor weil ich 15 dieser Schaltungen an einem Atmega8 hängen habe. Bei nur 3 Schaltungen sollte es auch ohne den BC337 gehen.
Norbert S. schrieb: > Versuch es einfach nochmal, ich hab einen guten Tag und Zeit ;-) Neuer Versuch, diesmal mit separierten DC und AC. Brauch ich auch noch eine Sicherung auf AC-Seite?
@Cube_S: Ich würde beim Schalten von 230V und Induktivität lieber die 600V Variante nehmen und einen Varistor als Schutz vorsehen.
Hi, das sieht sehr gut aus, so ist das übersichtlich. Kompliment, alle Hinweise korrekt umgesetzt. Extra Sicherung: Wenn das im Garten ist, gehört da eigentlich ein eigener FI hin. Wenn das an die Steckdose auf der Terasse angeschlossen wird, dann hat die das schon oder nicht und hat Bestandsschutz. Mach das alles schön isoliert (nicht PVC-Isolierband wo scharfe Blechkanten in der Nähe sind) und dann wird schon niemand STÖRBEN! Das ganze Sicherheitsgewese kommt von wirklich hirnrissigen Dingen, wo dann was abfackelt oder es Jemanden aus dem Frack haut. Du scheinst aber ausreichend vernünftigen Menschenverstand mitzubringen, also mach einfach. Im Kurzschlussfall wird schon irgendeine Sicherung im Haus kommen. Gruß, Norbert
Sebastian Wolf schrieb: > Die Rahmenbedingungen: > - Birnen haben jeweils 40 W. > - Netzspannung ist 230V. > > Das ganze wird draußen im Garten angeschlossen. Bislang zeigen Deine Antworten nicht, das Du die nötigen Kenntnisse hast, um ein solches Projekt mit 230V durchzuführen. Insbesondere auch unter den verschärften Bedingungen ausserhalb geschlossener Räume. Du solltest entweder einen Elektrobetrieb mit der Verdrah- tung beauftragen oder Deine Leuchte auf 12V umrüsten. 12V-Lampen kannst Du dann problemlos vom AVR mit einem FET schalten. Gruss Harald
@einhart Ich habe die 600V-Variante verwendet. Ich schalte aber nur Magnetventile mit 24V und ca. 200mA. Im Datenblatt sind alledings die 240V für die Schaltung angegeben. Ich habe es auch mit Glühbirnen (230V) versucht. Ging ohne Probleme. Auch 12V Verbraucher haben funktioniert.
Harald Wilhelms schrieb: > Bislang zeigen Deine Antworten nicht, das Du die nötigen Kenntnisse > hast, um ein solches Projekt mit 230V durchzuführen. Dann kläre mich bitte auf. Deswegen existiert dieser Thread. Die Bedingung 'außerhalb geschlossener Räume' ist hier eher entschärfend statt verschärfend, da kein Feuer in der Wohnung auftreten kann. Die Installation wird nicht dauerhaft im Freien verwendet (wie bereits beschrieben).
Sebastian Wolf schrieb: > Oder gibt es noch eine Alternative? Da du offensichtlich nicht viel Plan hast, würde vielleicht eine Umstellung deines Vorhabens auf 12 oder 24 V eine Alternative sein. Dann kannst du die Birnen einfach mit einem Logic Level FET schalten. Das hat den Vorteil, dass du auch mit PWM spielen kannst. Ein Netzteil mit 120 W und ausreichender Spannung sollte sich finden lassen.
Sebastian Wolf schrieb: >> Bislang zeigen Deine Antworten nicht, das Du die nötigen Kenntnisse >> hast, um ein solches Projekt mit 230V durchzuführen. > > Dann kläre mich bitte auf. Das habe ich getan. Ein Thread im Forum ersetzt keine Ausbildung. > Die Bedingung 'außerhalb geschlossener Räume' ist hier eher > entschärfend statt verschärfend, Ein weiteres Indiz für Deine mangelhaften Kenntnisse. > Die Installation wird nicht dauerhaft im Freien verwendet (wie bereits > beschrieben). Das spielt dabei keine Rolle. Gruss Harald
Hi, ja, alle in dem Garten werden STÖRBEN wenn die Kernschmelze eintritt weil der Amateur die Elektrikerklippschule nicht besucht hat und kein Zertifikat hat, das ihm bescheinigt, daß er "L mit L verbinden" nicht mit "L mit Gnd verbinden" verwechselt. Stellt Euch nicht so an, Elektriker sind keine Hirnchirurgen. Im Gegenteil, die, die ich kenne, lasse ich lieber nicht an meine Installation. Gruß, Norbert
Norbert S. schrieb: > Stellt Euch nicht so an, Elektriker sind keine Hirnchirurgen. Nun, bevor ein Chirurg seine erste Operation macht, wird er sicherlich häufiger neben einer Person gestanden haben, die sich damit auskennt. Sowas ist auch bei der Beschäftigung mit der Elektrotechnik zweckmäßig. Oder gibts inzwischen auch schon Bausätze "Der kleine Hirnchirurg"? Gruss Harald PS: Ich habe meine ersten Kenntnisse der Elektrotechnik ab etwa dem Alter 10 Jahre an der Seite meines Vaters, einem "gestandenem" Elektromeister gesammelt.
Hi, technisches Verständnis ist doch vorhanden, so blöd war die Fragestellung doch nicht. Dann sieh Dir den zweiten Versuch Schaltplan nach meinen Hinweisen an. Ist doch super. Da sind wir hier doch ganz andere Klopper gewöhnt. Der Unterschied zu Hirnchirurgen: Alleine die Ausbildung dazu schafft man nur, wenn man überdurchschnittlich intelligent ist. Elektriker schafft immer noch ein mittlerer bis guter Hauptschüler. Gesunder Menschenverstand ist da leider nicht immer gegeben. Ein technisch interessierter Laie kriegt das auch allemal hin, wenn er hier und da mal was mitbekommen hat. Also bitte nicht übertreiben. Oder glaubst Du, daß der ausgebildete Elektriker von nebenan nach der Installation den Schleifenwiderstand misst? Erdungswiderstand? Als ich das letzte Mal bei einer Erdungsmessung dabei war, stand die Wasserflasche immer dabei, wenn es bei einem Erdspiess mal nicht reichte. Gruß, Norbert
Danke für alle Antworten. Die Warnhinweise nehme ich natürlich ernst und werde entsprechende Vorsicht walten lassen. Dass ich kein ausgebildeter Elektrotechniker bin, ist mir klar, dennoch traue ich mir zu, das Projekt ohne Schaden durchzuführen. Als nächstes geht es erstmal an die AVR-Platine und den Programmcode. Wenn die Lichter blinken oder zwischendurch Probleme oder Fragen auftreten sollten, werde ich mich hier wieder melden. Gruß Sebastian
aus fehlern lernt man. es sei denn er bringt dich um. daher kommt wohl was dich nich killt macht dich stark :P >Der Unterschied zu Hirnchirurgen: Alleine die Ausbildung dazu schafft >man nur, wenn man überdurchschnittlich intelligent ist. Was ist denn am Rumstochern in Wackelpudding so kompliziert?
Cube_S schrieb: > Im Datenblatt zum MOC304X ist eine Schaltung angegeben und zwar für > 240Vac. Und kein Volt mehr, denn der MOC304x ist für 230V mit den im Stromnetz üblichen Überspannungsspitzen klar unterdimensioniert, dafür braucht man den MOC306x. 240V Theorie und 230V Praxis unterscheidet sich halt.
Bitte melde dich an um einen Beitrag zu schreiben. Anmeldung ist kostenlos und dauert nur eine Minute.
Bestehender Account
Schon ein Account bei Google/GoogleMail? Keine Anmeldung erforderlich!
Mit Google-Account einloggen
Mit Google-Account einloggen
Noch kein Account? Hier anmelden.



