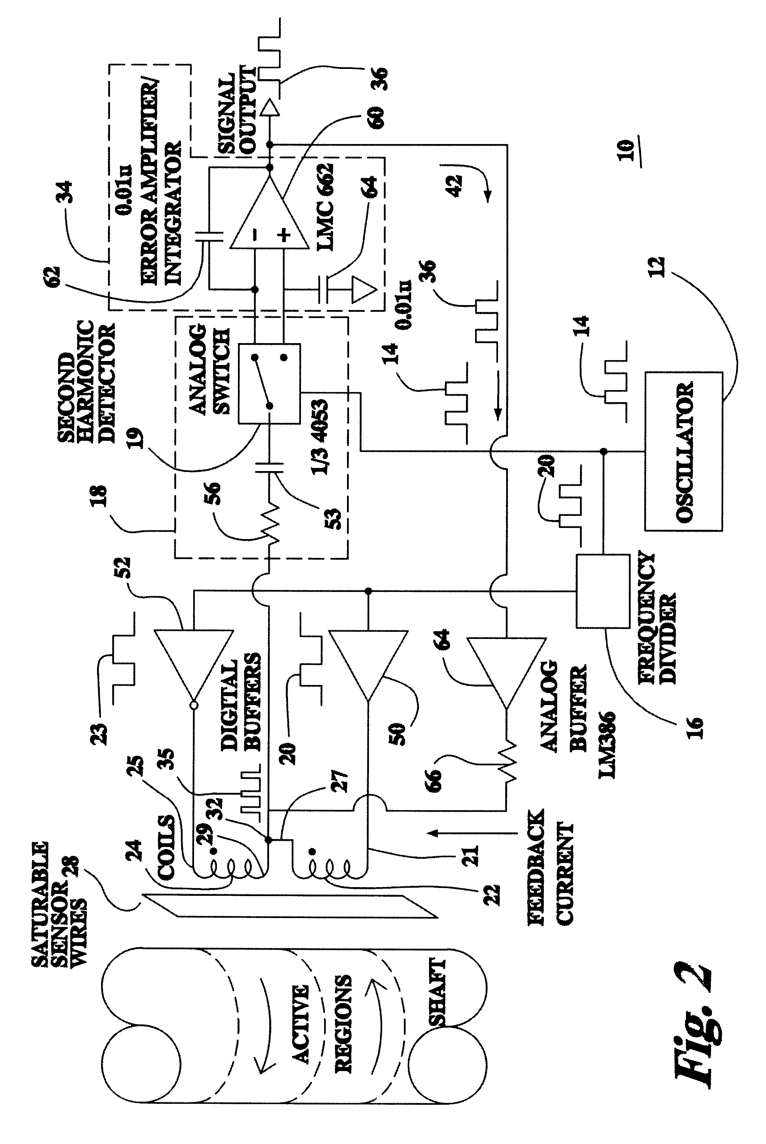
Hallo, kennt jemand eine Elektronik die sogenannte "Magnetoelastic torque sensor" auswerten kann? D.h. ein für uP auswertbares Signal. (der Sensor ist ein sogenanntes Fluxgate, bzw. 2 Spulen, siehe Foto) Die Sensoren dienen der Messung von Drehmoment in Tretlagern, und haben nur 3 Anschlüsse! siehe auch: http://www.google.com/patents/US6698299
Habe die Schaltung nicht angehängt da ich auch zu faul war.
Bitte melde dich an um einen Beitrag zu schreiben. Anmeldung ist kostenlos und dauert nur eine Minute.
Bestehender Account
Schon ein Account bei Google/GoogleMail? Keine Anmeldung erforderlich!
Mit Google-Account einloggen
Mit Google-Account einloggen
Noch kein Account? Hier anmelden.
