Hallo ! Leider habe ich ein Problem mit meiner Parrot bebop (Quadcopter). Hier habe ich es geschafft ein SMD Bauteil "rauszureissen" (Ganz woanders ORDENTLICH mit einem Schraubendreher gedrückt, abgerutscht und BOOM. Ich habe es ausgelötet. Es handelt sich um ein 3 PIN Bauteil (Transistor oder 2 Dioden ?!) mit der Aufschrift "024U1" oder "O24U1" (Erstes zeichen NULL oder OHHH). Es gehört zur Schaltung eines der 4 Electronic Speed Controller = ESC so das ein Motor jetzt nicht mehr dreht. Ich habe bei entsprechenden Google Suchen nichts gefunden. Kann mir jemand weiterhelfen um dieses Teil zu identifizieren um es dann neu zu bestellen (oder ein vergleichbares) ??? Danke schön, natürlich hoffe ich das es nicht noch mehr Bauteile "gehimmelt" hat beim anschliessendem Funktionstest.. Grüße, Nils
Leider scheint die Bezeichnung nirgendwo in den Tabellen aufgeführt zu sein, auch nicht in der von "Fürst Rene". Löte eines der anderen gleichen Bauelemente aus und prüfe im Freien, ob es ein Transistor, eine Doppeldiode oder sonstwas ist. Sche..... SMD! :-( MfG Paul
Ich tippe auf einen N-Kanal-MOSFET, eventuell so etwas wie eine Notabschaltung. Weiteres lässt sich schwer sagen, ohne wenigstens die konkrete Beschaltung des DMC3102 zu kennen. Da das Teil aber am Gate 2 des DMC3102 hängt, erscheint mir diodenartiges erstmal nicht so einleuchtend.
Vielleicht ein ZXTP25040DFH ? >datasheet: pdf - Diodes, Inc. >www.diodes.com/datasheets/ZXTP25040DFH.pdf >Motor drive. • High side driver. Ordering information. Device marking. >024. Device. Reel size. (inches). Tape width. Quantity per reel. >ZXTP25040DFHTA. 7. 8mm. ...
Huiuiui, ich kriege glaube ich noch hin durchzumessen ob es ein N-FET ist, WENN ich aber nun herausfinde DAS es einer ist, habt Ihr dann eine Empfehlung welches Bauteil ich dann als Ersatz hernehme ? Die Bebop wird mit 3S LiPo also max. 12,8V betrieben. Nützt es für die Identifizierung wenn ich die ca. Maße poste ? (Ich hab halt nur Geodreieck & Co, die Masse bewegen sich ja alle innerhalb von 3-4 mm würde ich schätzen... Grüße & Danke erst mal für den Input ! Nils
Ergänzung: Im Modellbauforum meint jemand es müsse ein "Mtn2302n3" (natürlich in SOT-23) sein. Es irritiert mich das der das so sicher zu wissen scheint während die Experten (Jaaa, ich meine Euch) da vielfältige Möglichkeiten sehen. Ist der o.g. wenigstens ein plausibler Kandidat aus Eurer Sicht ? Grüße, Nils
Der MTN2302 hat laut Datenblatt auch Marking "2302"...
Scheint mir auch eher ein Inverter für eines der Gates des DMC3021LSD (Diodes) links daneben zu sein, wird also keine große Leistung treiben müssen. "O2" könnte auf einen BST82 hinweisen (N-Channel, LogicLevel, 190mA, Vgs(th) 2V) Vielleicht kannst du ja nochmal ein Foto schießen, bei dem man erkennen kann, wie dieses Bauteil mit dem DMC3021LSD verbunden ist.
Volker S. schrieb: >>www.diodes.com/datasheets/ZXTP25040DFH.pdf >>Motor drive. • High side driver. ... Device marking. 024. habt ihr ausgeschlossen ?
Volker S. schrieb: > Volker S. schrieb: >>>www.diodes.com/datasheets/ZXTP25040DFH.pdf >>>Motor drive. • High side driver. ... Device marking. 024. > > habt ihr ausgeschlossen ? Halte ich auch für eine gute Wahl, ist als Gate Driver im Datenblatt bezeichnet. Wenn es den zerschossen hat, dann würde ich den dazu gehörigen FET auch tauschen...
Oh je ! Also ich kann da gar nichts ausschliessen bis auf Fachkenntnis meinerseits :-) Verstehe ich WOlfgangs Kommentar richtig das es der 2302 nicht sein kann wegen des "device Markings" und das es daher doch gut der von Volker sein kann ? Ich mach gerade mal noch ein besseres Foto und melde mich gleich. Oh wehhh :-) Nils
Es ist alles nur Vermutung, aber ein bipolarer Transistor als Gate-Driver für einen Leistuns-MOSFET ist nicht ungewöhnlich und klingt plausibel. Den 3021 solltest du dann auf jeden Fall auch tauschen, irgendwas muss ja den Gate-Treiber in den Tod gerissen haben...
nun ich würde definitiv einen Transistor vermuten bei den Bezeichnern ist ja überall Txx zu finden. Bei Dioden würde ich Dxx erwarten. Thomas
Wolfgang R. schrieb: > Wenn es den zerschossen hat, dann würde ich den dazu gehörigen FET auch > tauschen... So wie ich das verstehe, hat es den nicht zerschossen, sondern der TE hat das Teil versehentlich mit dem Schraubenzieher gekillt? Da würde ich mir die Leiterbahnen in der Umgebung zusätzlich mal genauer anschauen.
Wolfgang R. schrieb: > Wenn es den zerschossen hat, dann würde ich den dazu > gehörigen FET auch tauschen... Er hat ihn kalt ausgelötet, mit dem Schraubendreher... Initialpost richtig lesen hilft.
Wolfgang R. schrieb: > ZXTP25040DFH klingt in der Tat auch sehr plausibel. Am besten wäre eines der noch vorhandenen Teile auslöten, und mit einem Transistortester mal durchzumessen. Allerdings ist Nils H. schrieb: > Oh je ! > Also ich kann da gar nichts ausschliessen bis auf Fachkenntnis > meinerseits :-) natürlich etwas hinderlich dabei...
Bernd K. schrieb: > Wolfgang R. schrieb: >> Wenn es den zerschossen hat, dann würde ich den dazu >> gehörigen FET auch tauschen... > > Er hat ihn kalt ausgelötet, mit dem Schraubendreher... Initialpost > richtig lesen hilft. Oh ja, mea culpa... Bestellen, einlöten, testen. Die schnellste Lösung.
So, habe noch mal eine der 12 Baugruppen so "Makro wie möglich" fotografiert... (4 Motoren a 3 Phasen = 12 Baugruppen denke ich mir ?!) Grüße, Nils
Hmm, welchen empfiehlt Ihr denn nun zum Test zu bestellen (sind ja nicht alle so eben zu bekommen, ich denke ich suche mir über "http://alltransistors.com" einen Vergleich der sich auch aus .de bestellen lässt. SOT23 muss ja (zumindest zum Test) nicht sein, "normales" Gehäuse ist ja okay. WENN denn was funktioniert kann ich ja dann auch ggf. das Original aus .cn in 8 Wochen bestellen und bei Erhalt austauschen. Aber ich bin nun natürllich ratlos welchen ich austauschen soll. Ich denke ich muss mal einen auslöten und schauen ob ich feststellen kann was das grundsätzlöich ist. Grüße und DANKE für die rege Anteilnahme, bin begeistert von Eurer Hilfsbereitschaft !!!!!! Nils
Es wäre eine große Hilfe, wenn du die Schaltung rund um den Kandidaten herum aufnehmen würdest.
Hallo Georg, das hatte ich mit dem zweiten Bild versucht ?! Grösser kriege ich es leider nicht und Leiterbahnen sind anscheinend nicht zu erkennen. Die abgebildete "Gruppe" ist 12 x vorhanden, in einer der Gruppen fehlt halt das 024U1 Bauteil. Oder meinst Du ein Bild das noch deutlich mehr zeigt als die 12xGruppen ? Anbei noch ein Foto der gesamten Umgebung... Nils
Nils H. schrieb: > Hmm, welchen empfiehlt Ihr denn nun zum Test zu bestellen (sind ja nicht > alle so eben zu bekommen, Nils H. schrieb: > Also ich kann da gar nichts ausschliessen bis auf Fachkenntnis > meinerseits :-) dann mache es dir einfacher, kaufe dir einen Transistortester! pardon Bauteiltester m328p http://www.ebay.de/itm/Transistor-Tester-Detect-Mega328-Diode-Triode-Capacitance-ESR-Meter-MOS-PNP-NPN-/391152501432?pt=LH_DefaultDomain_77&hash=item5b128182b8 du hast genug original Teile, musst eben noch einen runterholen wie weisst du ja jetzt :-) oder auslöten. Den verlierst du dann nicht und der Tester sagt dir was es ist zu 90% richtig bipolar Transistor DDiode FET o.a. Mit den gefundenen Werten angezeigt auf dem Tester kannst du den Ersatz suchen PNP NPN MOSFET Hfe usw.
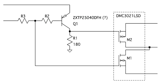
Nils H. schrieb: > SOT23 muss ja (zumindest zum Test) nicht sein, > "normales" Gehäuse ist ja okay. Natürlich bestellst du den gleich in SOT23. Du willst ja die Platine reparieren. Um ihn mit einem Transistortester auszumessen, lötest du 3 Drähte an. Das ist bei SOT-23 kein Problem. Die Schaltung sieht mir in etwa so aus, wie im Anhang, d.h. der Transistor arbeitet hier als Inverter für das 2. MosFET Gate. Du könntest mal versuchen den in meiner Zeichnung "R2" genannten Widerstand ausfindig zu machen (in dem Schaltungsteil, in dem das Bauteil fehlt), und mit einem Multimeter diesen Widerstand messen. Das gibt evtl. einen weiteren Hinweis darauf, ob das Bauteil ein FET oder ein Transistor ist.
Uiii das 328p Transistor Tester Kit ist ja toll, BESTELLT ! Dann melde ich mich wenn ich mehr weiss. Danke nochmals ! Nils
Joe F. schrieb: > Um ihn mit einem Transistortester auszumessen, lötest du 3 Drähte an. > Das ist bei SOT-23 kein Problem. muss er doch nicht, die passenden Pads sind ja auch schon drauf! http://i.ebayimg.com/t/Transistor-Tester-Detect-Mega328-Diode-Triode-Capacitance-ESR-Meter-MOS-PNP-NPN-/00/s/MTAwMFgxMDAw/z/gIcAAOSwstxVJiF7/$_57.JPG und da er das Teil schon bestellt hat...... nur noch mal zur Sicherheit, man muss SMD Teile nur auf die Pads legen etwas andrücken, also nicht auf die TESTPADS löten, ich komme mir irgendwie komisch vor wo ich das hier schreibe, habe aber das Gefühl es tut not.
Joachim B. schrieb: > muss er doch nicht, die passenden Pads sind ja auch schon drauf! Ja, dieser Tester ist natürlich luxuriös. hfe misst aber heutzutage auch fast jedes Multimeter, da bräuchte man dann aber die Drähte...
Joe F. schrieb: > Ja, dieser Tester ist natürlich luxuriös. hfe misst aber heutzutage auch > fast jedes Multimeter, aber kaum LCR ESR und alles automatisch, nicht vergessen: wie sagte der TO Nils H. schrieb: > Oh je ! > Also ich kann da gar nichts ausschliessen bis auf Fachkenntnis > meinerseits :-) und genau für IHN wurde es gebaut, aber auch ich begeistere mich für das Teil um nicht eben mal schnell den k€ Gerätepark anzuschmeissen. nur zur Info: https://www.mikrocontroller.net/articles/AVR-Transistortester ist wohl von den Chinesen von hier "geklaut" worden. Aber die können es eben besser und schneller fertigen und billiger als jeder Hobbyist, wir zahlen ja schon für die Teile mehr und mit dem Grafikdisplay ist es doch hübsch geworden und mit dem 20nA Standbystrom auch praxistauglicher!
Hi ! Neeeee, ich hätte es nicht draufgelötet, bin aber gerührt ob Eurer Sorgsamkeit :-) Gaaanz so schlimm ist es nicht, hatte vor n Jahren (n ---> unendlich) ein abgeschlossenes Grundstudium Elektrotechnik aber dann hats mich zu den Programmierern verschlagen :-) Und eben auch keine Praxiserfahrung. Melde mich nach Transistorcheck ! Nils
Nils H. schrieb: > Neeeee, ich hätte es nicht draufgelötet, bin aber gerührt ob Eurer > Sorgsamkeit :-) wer hier länger mitliest versteht mich :-)
Der Adler flieeegt wieder ! Ich hatte nun mal einen der anderen ausgelötet und nach Youtube Anleitung versucht auszumessen ob das ein N-FET ist. Ich bin zwar unsicher gewesen aber fand es verhielt sich wie ein NFET. ALSO hat mich der Mut gepackt und ich habe einen 08/15 NFET (altertümliche Bauweise) eingelötet. Siehe da, er kommt durch den Motor-Phasen Check und ich habe mich kurz getraut abzuheben und wieder zu landen. Ich habe also auf jeden Fall nichts anderes mit zerschossen scheint es :-) Ich gehe also i.M. davon aus das der Mensch aus dem Modellforum mit seinem "MTN2302N3" recht hat... Denn wenn es ein PNP gewesen ist hätte doch der "Brute Force" Test nicht funktioniert, oder sollte ich mir da nicht so sicher sein ? Kann der Transistortester mehr sagen als "ist dies oder das" oder kann der auch Teile der Specs ausmessen so das man noch besser prüfen kann ob der "fingerprint" zu dem o.g. passt ? Was meint Ihr ? Grüße, Nils P.S. der Transistortester wird auf jeden Fall bestellt, tolles Teil !
Nils H. schrieb: > Denn wenn es ein PNP gewesen ist hätte doch der "Brute Force" Test nicht > funktioniert, oder sollte ich mir da nicht so sicher sein ? Das ist vermutlich richtig. Nils H. schrieb: > und ich habe einen 08/15 NFET > (altertümliche Bauweise) eingelötet. > Siehe da, er kommt durch den Motor-Phasen Check und ich habe mich kurz > getraut abzuheben und wieder zu landen. > Ich habe also auf jeden Fall nichts anderes mit zerschossen scheint es > :-) Kann noch kommen. Wenn der Gate-Treiber nicht zum Leistungs-FET passt, wird dieser heiss und geht kaputt. Welchen "08/15" N-Fet hast du denn genommen? Miss mal bitte an den Punkten A und B (in Bezug auf GND), welcher der Punkte die Versorgungsspannung und welcher GND ist. Ausserdem - wie schon gesagt - den Widerstand "R2" mal durchmessen.
Hallo Joe ! Argh, Peinlich: welche Punkte meinst Du mit A & B ? Und mit R2 meinst Du ja den R2 aus Deiner Schaltung, da weiss ich ja leider nicht welchem der auf der Schaltung existiert, aber mit ein bischen Deduktion kann ich das ja vielleicht rausbekommen... Der 08/15 ist ein 2N7000 Was die Hitze angeht: Ich lasse die Motoren mal ein bischen drehen und check die Temperaturen mit einem FLIR, war sowieso mein Plan ! DANKE, Nils
A,B, so wie in meinem Attachment markiert. Der fragliche Widerstand ist der mit dem Pfeil markierte, vorausgesetzt er hat eine Kupferverbindung vom "oberen" Ende zum Gate- oder Basis-Anschluss des Transistors (so wie die gestrichelte Linie). Ich kann das an den Fotos nicht erkennen, aber du müsstest es auf der Platine sehen (oder nachmessen) können. 2N7000 ist NICHT ideal, hat einen viel geringeren Strom bei kleinen Gate-Spannungen. Du kannst dir also innerhalb von Sekunden den Leistungs-FET braten.
Hi ! Okay, die messe ich mal ! Hier ein FLIR Bild, es wird zumindest nichts unbotmässig warm im Leerlauf... Melde mich mal mit Messungen ! Anbei das FLIR. Der dunkle Fleck in der Nähe des Schadens ist eben der abschattende Transistor der auf dem real Bild natürlich noch nicht da war. Grüße, Nils
Wenn etwas warm wird, dann nicht im Leerlauf, und es wären dann auch Q32 Dein FLIR Bild ist zwar hübsch anzusehen, aber es fehlen Temperaturangaben, und ich kann den Ausschnitt nicht dem Platinenausschnitt zuordnen.
Also, ich nehme mal an es ist so: Punkt A ist GND und Punkt B ist VCC, der Schaltungsteil sähe dann ungefähr so aus, wie im Anhang. Die Frage wäre dann noch, wie hoch ist die Spannung, mit der die Gates vom DMC3021LSD getrieben werden (also VCC). Hast du ein Oszilloskop zur Verfügung? Dann könntest du mal am Gate des unbekannten Bauteils (jetzt 2N7000) mal das Rechtecksignal angucken, und schauen, wie viel Spannung dieses Signal hat (Peak-Peak). Der 2N7000 ist dann unter Umständen zufällig gar nicht so schlecht gewählt. Es gibt 2 potentielle Gefahren für den Leistungs FET (DMC3021): - zu langsam fallendes Signal an Pin 4 - Q1 und Q2 gleichzeitig leitend. Damit der 2. Fall nicht eintritt, darf der invertierende Transistor M3 nicht "zu früh" leiten, also bei Vgs von Q1 (1.45V) noch möglichst wenig Strom durchlassen. Beim 2N7000 wäre dies der Fall... Wenn jetzt noch die Gatespannung (Rechtecksignal) am 2N7000 >= 3.3V (so 5V wären ziemlich gut) ist, dann könnte man das eigentlich aus meiner Sicht so lassen. Mit dem FLIR guckst du halt dann nochmal nach, ob sich Q32 nicht doch mehr aufheizt als die anderen Leistungs FETs.
Hi ! Habe gemessen: Wie Du vermutest liegt A auf GND und B auf VCC (ca. 12V). Der r2 liegt ca. bei 130 Ohm. Ich habe den r2 nochmal an einem intakten Modul gemessen, da messe ich 123 Ohm. Ist natürlich nicht so sehr präzise... (M 2005 von BBC / ABB). Ein Oszi habe ich noch nicht wirklich, habe gerade ein Kit "XProtoLab" zum Anschluss an Android, ist aber noch nicht gebaut :-) Habe die Bebop noch mal schweben lassen in "Position Hold" und habe so FLIR beim Flug gemacht bei Nennbelastung (ca. 30W / Motor). Auch so war kein ersichtlicher Unterschied zwischen den Bausteinen zu sehen. Ich habe jetzt die MTN2302N3 bestellt, habe aber keinen .de Händler gefunden, glaube die kommen aus .nl (EU Händler von UTSOURCE afaik). Wenn das Ding da ist kommt es natürlich rein, der Transistor ist bescheuert draufgelötet und kann jederzeit abfallen (Habe nur über hohem Gras "geschwebt" :-) NACHTRAG: Habe fix das XprotoLab zusammengehauen und probiert, was soll ich sagen, die Pulse liegen bei 5V !!! Ich glaube das ist im Bereich: "Das Glück ist mit die doofen". Der andere Mensch will nicht verraten woher er das weiss oder wie er es rausgefunden hat. Ich weiss aber das er bei Tesla Motors als Elektroniker arbeitet, der wird gewiss Zugriff auf gewaltige Resourcen haben ?! Grüße, Nils P.S. Und zur Erbauung noch ein Bild der bebop Mutation:
Gut, also meiner Meinung nach solltest du den 2N7000 drin lassen, bzw. noch einmal richtig drauflöten, und nicht durch den MTN2302N3 ersetzen. 5V Gatespannung sind für den 2N7000 okay. Der MTN2302N3 hat eine sehr geringe Threshold (min. 0.5V), und du riskierst u.U. einen Shoot-Through in Q32. Wenn es so gut funktioniert, das Ding gerade aus fliegt, und nichts warm wird, denke ich ist doch alles super. Aber evtl. gibt's ja auch eine begründete gegenteilige Meinung vom Forum?
Hi ! Gerade hat mir der RC E-Mensch gemailt woher er das weiss... Wenn man hier guckt und nur die ersten beiden Zeichen des Markings nutzt = NULL,ZWEI "02" dann landet man bei SOT23 unweigerlich bei besagtem N-FET. Klingt gut, kokolores ?! http://www.s-manuals.com/smd Grüße, Nils
Nils H. schrieb: > Klingt gut, kokolores ?! > > http://www.s-manuals.com/smd Ja, das klingt gut, stimmt aber oft nicht.
Argh, jetzt bin ich ja wieder im Zweifel ob ich dann den bestellten SOT23 einlköten soll. Mit diesem Transistor siehts halt gruselig aus und ich krieg das Gehäuse nicht ordentlich verbaut... Liegen Deine Zweifel in der Richtigkeit der Website oder in der allgemeinen Schaltungskonzeption selbst wenns der richtige ist ? Grüße, Nils
Nils H. schrieb: > Liegen Deine Zweifel in der Richtigkeit der Website oder in der > allgemeinen Schaltungskonzeption selbst wenns der richtige ist ? Beides. Ah, verstehe jetzt erst. Der 2N7000 ist im TO-92 Gehäuse. Du bräuchtest also einen 2N7002, das ist das gleiche wie ein 2N7000, aber als SOT-23.
Die Schaltung einer einzelnen Halbbrücke sieht vermutlich so wie im Anhang aus. Ein paar der Leiterbahnen kann man auf den Fotos erkennen, den Rest ahnen. Die Widerstandsangaben mit ">" odr "<" sind grobe Schätzungen. Wenn die Schaltung so stimmt und du am 24-poligen Steckverbinder an der rechten Seite nichts anschließt, solltest du die Widerstände, ohne sie auszulöten, direkt in der Schaltung messen können. Die Eingänge L_CTRL und H_CTRL sind die high-active Steuersignale des Motorcontrollers mit negativer Überlappung, um gleichzeitiges Leiten der beiden H-Brücken-Mosfets zu vermeiden. Die Schaltung würde prinzipiell auch mit einem Bipolartransistor funktionieren, allerdings wäre dann R2 sinnvollerweise größer als 130Ω, da der Transistor bei einem Kollektorstrom von 12V/180Ω=67mA keinen Basisstrom von (5V-0,7V)/130Ω=33mA braucht, um in Sättigung zu gehen. Liege ich mit meiner Vermutung richtig, dann kann als Mosfet jeder Logic-Level-Typ mit einem RDSon im maximal einstelligen Ohmbereich eingesetzt werden.
Yalu X. schrieb: > Die Schaltung würde prinzipiell auch mit einem Bipolartransistor > funktionieren, allerdings wäre dann R2 sinnvollerweise größer als 130Ω, > da der Transistor bei einem Kollektorstrom von 12V/180Ω=67mA keinen > Basisstrom von (5V-0,7V)/130Ω=33mA braucht, um in Sättigung zu gehen. Eben. Spricht für einen FET. > Liege ich mit meiner Vermutung richtig, dann kann als Mosfet jeder > Logic-Level-Typ mit einem RDSon im einstelligen Ohmbereich eingesetzt > werden. Ich glaube nicht, dass von der Steuerung 2 getrennte Gate-Signale kommen, sondern der FET das Gate-Signal von Q2 (etwas verzögert) invertiert. Ich glaube ein Stück Leiterbahn erkennen zu können, die zwischen Pin 2 (Gate Q2) und dem Widerstand darüber verläuft, und von diesem Widerstand geht es dann vermutlich zum Gate des "024U1". @TO: du hast ja jetzt ein Oszilloskop. Damit könntest du mal gucken, ob an Gate Q2 und am Gate vom 2n7000 das gleiche Signal anliegt, oder ein zeitlich versetztes Signal. Wenn es versetzt ist, kannst du bedenkenlos den MTN2302N3 reinbauen, und dann hatte Yalu X. und http://www.s-manuals.com/smd vermutlich vollkommen recht. Am oberen Ende des Widerstandes, den ich momentan für einen Gate-Serienwiderstand halte, müsste dann allerdings GND liegen (also da, wo im Foto die "4" gedruckt ist).
Hi, also Moment mal. Das Zeug funktioniert, der Doppelfet wird offensichtlich nicht wärmer - da würde ich mir doch keinen Kopp mehr machen. Löte den 2N7000 ordentlich ran und gut ist. Mehr als 2-3cm Kabel könnten aber wieder Probleme machen, man weiß es ohne Oszi nicht. (Und auch mit manchmal nicht). Oder eben das Pendant in SOT23. Ausprobieren, wenn's funktioniert und nicht warm wird ist vermutlich alles gut. Gruß, Norbert
Hi ! ALso gestern ist der Transistor im Flug abgefallen, insofern warte ich jetzt mal auf den (richtigen ?). Es ist schon so das bei sehr genauem Hinschauen der betroffene Motor etwas langsamer anläuft. Die drei Phasen müssen ja exakt synchronisiert werden. Ich werde beim "richtigen" eben auch auf so etwas achten und wenn es mir komisch vorkommt, dann kommt ein 2n7000 SOT23 rein. Das SOT23 muss es schon sein weil ich sonst meine "Anbauten" nicht reinbekomme oder die Kabel zum Transistor unangenehm lang werden. Glücklicherweise wurde der Kopter durch einen beinah trockenen Kugfladen gebremmst :-) Bis auf meine Würde wuerde also nichts beschädigt ;-) Ich denke wir können das Problem so oder so als gelöst ansehen, ich danke Euch SEHR für Eure Hilfe, toll wie Ihr Dummies helft ! Nils
Nils H. schrieb: > ich > danke Euch SEHR für Eure Hilfe, toll wie Ihr Dummies helft ! ich konnte zwar nicht viel beitragen, freue mich aber mit dir. Eines noch, schaue dir alle Bauteillötstellen noch mal an, ICH persönlich würde alle noch mal nachlöten ungeachtet der Arbeit, wie du ja siehst ist die Klebkraft nicht besonders und bei der Anwendung Motor Vibration würde ich mir bessere Verbindungen wünschen.
Hi ! Ich hab schon ein bischen rumgeguckt, die Lötungen sehen IMHO nicht schlecht aus. Das Original war ja durch massive Dumm-Anwendung rausgebrochen. Generell ist ja die bebop auch nicht gerade ein Billig-Quad. Grüße, Nils
Hier ist noch ein Bildchen mit den Leitungen, die ich meine, klar zu erkennen (grün durchgezogen) und denen, die ich erahne, weil sie in Verbindung mit den sichtbaren nur so einen Sinn ergeben. Im Schaltplan in meinem letzten Beitrag sind die Bauteilbezeichnungen etwas durcheinander geraten. Eigentlich wollte ich mit R2 denselben Widerstand wie Joe bezeichnen. Tatsächlich ist es aber ein anderer (s. Anhang) und damit auch nicht der von Nils gemessene. Der von Nils mit 130Ω gemessene Widerstand ist in meiner Nomenklatur R4. Der Basis- bzw. Gate-Widerstand des unbekannten Transistors, dessen Wert Aufschluss darüber geben könnte, ob es sich bei den Transistor um einen BJT oder einen Mosfet handelt, heißt bei mir R2, ist aber noch nicht gemessen worden. Joe F. schrieb: > Ich glaube nicht, dass von der Steuerung 2 getrennte Gate-Signale > kommen, sondern der FET das Gate-Signal von Q2 (etwas verzögert) > invertiert. Das Problem bei solchen Verzögerungsschaltungen mit passiven Bauteilen ist, dass man nur das Einschalten, nicht aber das Ausschalten des jeweiligen Mosfets verzögern darf, sonst hat ma nichts damit gewonnen. Man kann so etwas bspw. mit Dioden und Kondensatoren realisieren (wobei auch die Gatekapazitäten genutzt werden können), allerdings sind wir uns inzwischen wohl einig, dass die Schaltung keine Dioden enthält. Ein kleines Indiz für die These mit den zwei getrennten Steuersignalen ist der Steckverbinder an der rechten Platinenseite, der genau die 24 dafür benötigten kontakte enthält. Bei einem gemeinsam für High- und Lowside genutzten Steuersignal hätte dieser Steckverbinder kleiner ausfallen können. Dein Schaltungsvorschlag hat übrigens noch einen Denkfehler: Da dort die beiden Gates mit komplementären Signalen angesteuert werden, sind die Mosfets entweder beide aus- oder beide eingeschaltet, wobei letzteres zu Rauch führen würde. Nils H. schrieb: > ich danke Euch SEHR für Eure Hilfe, toll wie Ihr Dummies helft ! Dummies sind doch dazu da, anderen zu helfen, oder nicht? Ja, ich habe deinen Satz schon verstanden, aber etwas zweideutig ist er schon ;-)
> ....toll wie Ihr Dummies helft ! Yalu X. schrieb: > Dummies sind doch dazu da, anderen zu helfen, oder nicht? Wunderbar! :-) Da war ich ja nicht der Einzige, der den Satz so verstanden hat, wie er gemeint war. ;-) MfG Paul
Yalu X. schrieb: > Dein Schaltungsvorschlag hat übrigens noch einen Denkfehler: Da dort die > beiden Gates mit komplementären Signalen angesteuert werden, sind die > Mosfets entweder beide aus- oder beide eingeschaltet, wobei letzteres zu > Rauch führen würde. Oops, das ist richtig. Die Schaltung muss im Grunde genau so sein, wie du sie gezeichnet hast, und es macht Sinn den 2N7000 oder 2N7002 gegen den dann geeigneteren MTN2302N3 zu tauschen.
Ich <--- Dummie, um das mal klarzustellen. Zum Glück nicht immer aber in diesem Fachbereich :-) Ähh welchen 24-pol Verbinder meinst Du ? Der Rechteckige, offene Verbinder der nach vorne hin aus der Platine ragt ist für die Bebop Kamera die eigentlich über dem PCB sitzt. Grüße, Nils
Nils H. schrieb: > Ähh welchen 24-pol Verbinder meinst Du ? Der Rechteckige, offene > Verbinder der nach vorne hin aus der Platine ragt ist für die Bebop > Kamera die eigentlich über dem PCB sitzt. Ups, dann nehme ich das diesbezüglich Geschriebene hiermit zurück :) D.h. der oder die Motorcontroller sitzt/sitzen dann auf derselben Platine wie der Leistungsteil?
Hallo ! Ja, alles ein PCB. ARM CPU/GPU/RAM/Sensorik + WLAN + 4xESC + Kameradecoder. Alles auf einen fetten Alukühler designed. Seeehr integriert also. Nur deswegen kann Parrot diese Menge Sensorik in so ein kleines Chassis bei dem Gewicht bringen und trotzdem akzeptable Akkulaufzeiten hinbekommen. Wenn ich das aus Standardkomponenten baue komme ich auf 5min Flugzeit nicht auf >= 10min. Mache jetzt einen erneuten Versuch nit einem Hexa die sind ja etwas effizienter. Denn die Parrot Firmware / App sind katastrophal, dagegen ist Ardupilot genial stabil, auch schon mit weniger Sensorik. Grüße, Nils
P.S.: Sensoren: Gyro Acc Barometer Kompass Sonar / Down Cam
Frage mich gerade, warum das Ding 12 Leistungstreiber hat. Kann es sein, dass sie die gleiche Platine auch für einen Hex-Copter nehmen, und bei dir 4 Treiber gar nicht in Benutzung sind?
Das sind doch 3 Phasen pro Motor (brushless) --> 4 x 3 = 12 ?!? Nils
schonmal versucht den Support von Parrot anzuschreiben?
Hi ! Klar hab ich den support angeschrieben, die verkaufen mir gerne das ganze PCB neu für Eu 250 :-) Nils
Hallo, ich weiss, es ist Jahre später, aber ich war ebenfalls auf der Suche nach diesem "024U1" Aufschrift. Es betrifft einen TSM2302 N-Fet. Es wurden hier kreatieve Lösungen gefunden, aber Andere die nur neugierig sind, haben jetzt auch die richtige Antwort. Beste Grüsse, Philip.
Bitte melde dich an um einen Beitrag zu schreiben. Anmeldung ist kostenlos und dauert nur eine Minute.
Bestehender Account
Schon ein Account bei Google/GoogleMail? Keine Anmeldung erforderlich!
Mit Google-Account einloggen
Mit Google-Account einloggen
Noch kein Account? Hier anmelden.












