Hey, Ich möchte 4 21W Lampen ansteuern. Die Lampen sollen wenn ich die Zündung einschalte 1-2s leuchten und danach ausgehen und erst wieder angehen wenn ich die Zündung erneut einschalte. Die Spannung ist 6V also fließt ein Strom von 14A. Ich habe schon mit einem NE555 was probiert aber habe es nicht richtig geschaft könnt ihr mir helfen? Danke schon mal :) Max
retriggerbares Monoflop ist hier das Stichwort. Aber vorsicht mit der KfZ Boardspannung. Vor der Schaltung sollte ein DC/DC Wandler sitzen.
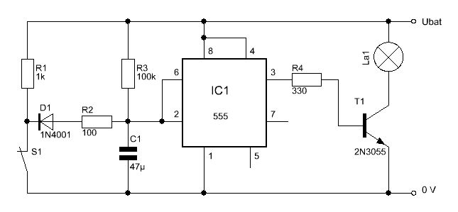
Max schrieb: > Ich habe schon mit einem NE555 was probiert Zeig doch mal einen Schaltplan. > aber habe es nicht richtig geschaft könnt ihr mir helfen? Was hattest du erwartet und was macht die Schaltung stattdessen? Basti schrieb: > Vor der Schaltung sollte ein DC/DC Wandler sitzen. Welcher? Warum? Es reicht eigentlich aus, die Versorgung anständig zu filtern und zu entkoppeln. Ein (galvanisch getrennter) DCDC-Wandler bringt da nichts, weil sowieso die ganze Schaltung auf Masse bezogen sein dürfte. Und einen fertigen DCDC-Wandler zu finden, der für eine KFZ-/Motorradversorgung geeignet und spezifiziert ist, das dürfte gar nicht soooo arg einfach sein...
Max schrieb: > Die Spannung ist 6V also fließt ein Strom von 14A. ... und für kurze Zeit ein etwa 10facher Einschaltstrom (kalte Glühbirne). Das sollte bei der Wahl des Leistungsschalters (Relais? MOSFET?) berücksichtigt werden. Gruß Dietrich
Max schrieb: > Die Spannung ist 6V Da hast du mit KFZ-Artikeln ziemlich verloren, die sind für 12V oder 24V. Sonst täte es http://www.mrs-electronic.de/deutsch/kfz-elektronik/zeitrelais/1.003.ank-zeitrelais-anzugsverzoegert-kompakt.html
1 | Zündung --+-----+ |
2 | | | |
3 | | o |
4 | Relais....\ |
5 | | o o |
6 | | | |
7 | | +----+ |
8 | | | | |
9 | | (X) (X) Lampen |
10 | | | | |
11 | Masse ----+-------+----+ |
Selber bauen ist möglich, aber rechne mit 140A und rechne mit Störungen weit über 16V hinaus. Ich würde mit LogicLevel MOSFETs wie IRLB3034 schalten.
1 | Zündung ----+------------+---+ |
2 | | | | |
3 | 270R (X) (X) Lampen |
4 | | | | |
5 | +---+---+---+ +---+ |
6 | | | 100k | NC7S14 | |
7 | ZD5V1 10u +--|>o------|I IRLB3034 |
8 | | | 47u | |S |
9 | Masse --+---+---+---+--------+ |
Max schrieb: > Hey, > > Ich möchte 4 21W Lampen ansteuern. Die Lampen sollen wenn ich die > Zündung einschalte 1-2s leuchten und danach ausgehen und erst wieder > angehen wenn ich die Zündung erneut einschalte. Die Spannung ist 6V also > fließt ein Strom von 14A. Ich habe schon mit einem NE555 was probiert > aber habe es nicht richtig geschaft könnt ihr mir helfen? > > Danke schon mal :) > > Max Wenn sie langsam ausgehen dürfen ("fade"), geht's u.u. mit nem diggen kondensator?
ich brauche so eine ähnliche Schaltung nur das die Lampe bei Zündung ein nur kurz 2s leuchten soll und wieder ausgeht. Ist es möglich so etwas auf eine Platine zu bringen oder sind die Ströme dann zu hoch?
Bitte melde dich an um einen Beitrag zu schreiben. Anmeldung ist kostenlos und dauert nur eine Minute.
Bestehender Account
Schon ein Account bei Google/GoogleMail? Keine Anmeldung erforderlich!
Mit Google-Account einloggen
Mit Google-Account einloggen
Noch kein Account? Hier anmelden.
