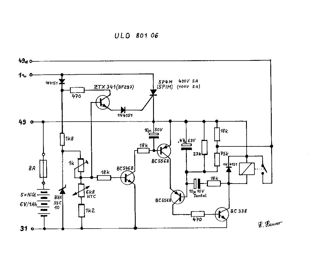
Hallo zusammen, ich komme mit meinem Latein nicht weiter. Nachdem die Elektronik meines Mopeds komplett weg korrodiert war, wollte ich wollte ich diese nach dem angehängten Schaltplan nachbauen. Problem: Der Tyristor NEC 5P4M wir nicht mehr produziert. Ich habe den Baustein durch einen BT151-500R bzw durch einen TYN612RG ersetzt. Aber das Resultat ist nicht sehr befriedigend. Am Akkuanschluss liegt dann ein Wechselstrom an. Was wäre ein geeignetes Bauteil um den NEC 5P4M zu ersetzen, bzw. die Laderegelung/Gleichrichter zu vereinfachen/verbessern? Grüßle
Matthias H. schrieb: > Der Tyristor NEC 5P4M wir nicht mehr produziert. Bekommen kann man den trotzdem noch. Matthias H. schrieb: > Ich habe den Baustein durch einen BT151-500R bzw durch einen TYN612RG > ersetzt. Aber das Resultat ist nicht sehr befriedigend. Am Akkuanschluss > liegt dann ein Wechselstrom an. BT151-500R scheit ein guter ersatz zu sein. Hast du einen Akku angeschlossen? Wenn nicht könnte es auch eine pulsierende Gleichspannung sein. Ein Multimeter macht da keinen unterschied. Oszilloskop zeigt es genauer. MfG
Hi Icke, Aktuell is leider der TYN612RG verbaut, aber das lässt sich ändern. Aufgrund welcher Vergleichswerte würdest du den BT151 bevorzugen? Bei der Messung hatte ich den Akku nicht angeschlossen. Dass ein Multimeter da nicht unterscheiden kann wusste ich nicht. Leider hab ich keinen Zugriff auf ein Oszi. Gibts da keine andere Möglichkeit? Sonst muss ich jetzt einfach fahren und hoffen, dass es mir den Akku nicht zerreiße. Weil die angezeigten Ladespannungen bei Gleich- und Wechselspannungsmessung jeweils eine andere ist kann ich auch die Ladespannung nicht richtig einstellen. Gibts da einen Ausweg? Aber Danke bis hier schonmal! Grüßle
Matthias H. schrieb: > Aktuell is leider der TYN612RG verbaut, aber das lässt sich ändern. Sollte auch Problemlos gehen. Messe doch mal zwische A und K vom Thyristor da solltest du auch eine Pulsierene Gleichspannung als Wechselspannung angezeigt bekommen. Das hieße dann das der Thyristor arbeitet. Die Ladespannung würde ich im Gleichspannungsbereich messen und einstellen aber auf welchen wert kann ich auch nicht sagen. Wenn sich beim verstellen des Trimmers die Spannung ändert würde ich davon ausgehen das die Schaltung funktioniert. Evtl. eine Glühlampe in Reihe zum Akku schalten und beobachten. Der Ladestrom sollte ja geringer werden. MfG
Bitte melde dich an um einen Beitrag zu schreiben. Anmeldung ist kostenlos und dauert nur eine Minute.
Bestehender Account
Schon ein Account bei Google/GoogleMail? Keine Anmeldung erforderlich!
Mit Google-Account einloggen
Mit Google-Account einloggen
Noch kein Account? Hier anmelden.
