Hallo Leute, vor den zwei Fragen kurz zu mir: Ich bin Maschinenbauer im Studium (5 Semester) und habe deshalb nicht sehr viel mit Elektrotechnik am Hut! also bitte nicht böse sein wegen blöden Fragen :) Von einem Freund habe ich eine Apparatur zur Messung von Sprungkraft bekommen. Diese Einrichtung besteht aus einer Platte verbunden mit vier Biegebalken auf den jeweils 4 DMS Sensoren (FLA-5-11 - 120Ohm) verklebt sind, welche zu einer Vollbrücke (mit Temperaturkompensation) verschalten sind. Mein Kumpel nutze für die Datenerfassung sau teure Produkte von NI, die ich mir allerdings nicht leisten kann/will da Fun-Projekt, also hab ich mir die Aufgabe gestellt, die Schaltung mal selber zu entwickeln (jedenfalls probiere ich mal). Im Prinzip glaube ich hab ich den Ablauf schon verstanden: Wheatstone Brücke mit DMS --> Verstärkung (Instrumentenverstärker – 3xOPA340) --> Filterung --> ADC (14Bit oder 16Bit) --> uC. Versorgungsspannung 5V. Die Platte ist für Personen bis maximal 100kg ausgelegt. Anscheinend ist die Faustregel bei Sportwissenschaftlern, dass bei einem Sprung 5-mal größere Kräfte wirken, weshalb jeder Balken auf eine Belastung von 5000N dimensioniert wurde. Hier die erste Frage: Da ja alle DMS nicht exakt gleich sind (baulich, Verklebung usw) bekomme ich bereits einen gewissen Offset (z.B.: -2,49mV) wenn ich mir den Ausgang der Brücke anschaue. Was wäre hier die einfachste Möglichkeit diesen zu eliminieren? Wenn ich einen Potentiometer vorschalte, beeinflusst dass dann die Sensitivität der Brücke? Und die zweite Frage: Aufgrund der Dimensionierung sind die Biegungen sehr klein. Wenn ich (Gewicht ca 85kg) auf einen Balken stehe, kann ich eine Spannung von ca 70uV (Offset bereits abgezogen) ablesen. Grob geschätzt wären dass bei maximallast also 450uV. Da ich mit meinen ADC einen Bereich von 0-5V erfassen will, benötige ich also einen GAIN von ca 11000. Soll ich nun den INA mit diesem GAIN verschalten oder wäre es besser eine kleiner Verstärkung zu wählen und dafür eine zweite Verstärkerstufe (z.B.: beim Filter) zu verwenden? Bekomme ich bei einer so großen Verstärkung Probleme mit Rauschen? Der INA besteht aus drei OPA340. Sind diese OpAmps für diese Aufgabe passend (habe die nur wegen Rail-to-Rail ausgesucht)? Danke schon einmal im Vorhinein! MFG Philipp
Es gibt für solcherlei Anwendungen preiswerte Messverstärker zu kaufen, bei denen man Verstärkung und Offset einstellen kann. Die erreichbare Präzision wird durch zwei Dinge bestimmt: Erstens die Qualität der Brückenspeisung, denn die geht direkt in die Brückenausgangsspannung ein und zweitens der Verstärker. Die vorliegenden Sensoren sind mutmasslich zur Mittwelwertbildung parallel geschaltet. Damit beträgt der Innenwiderstand nur noch 30 Ohm. Das kann nicht jeder handelsübliche Verstärker treiben, darauf wäre zu achten.
Viel Prosa! Als Maschinenbauer im 5. Semester soltest du um den Wert einer Zeichnung wissen. Und sowas änliches wie einen Schaltplan sollte ach ein Maschinenbauer hinkriegen!
Die Offset der Verstaerker kriegt man weg, indem man mit AC anregt.
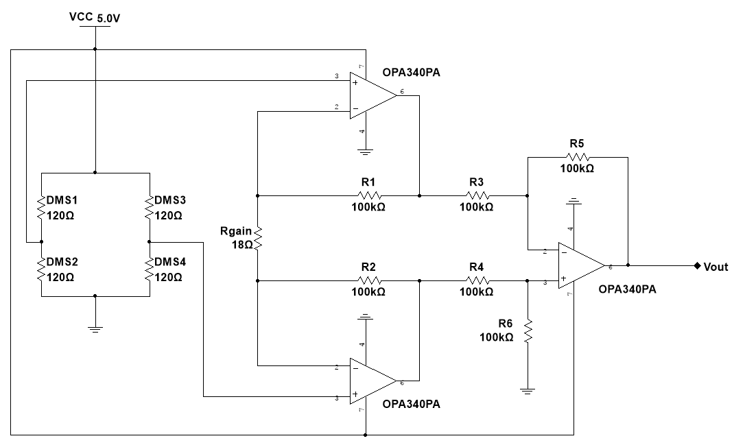
Hey Leute, danke für die schnellen Antworten! Klar, hier die Schaltung ... bisher nur Wheatstone Brücke und der INA. @tbs: Momentan wird die Brücke noch mit einem Labornetzteil befeuert. Die sollten ja eigentlich recht genau sein ohne große Schwankungen oder? Im Weiteren würde ich allerdings gerne meine eigene Spannungsversorgung verwenden. @Oh Doch: Was meinst du mit AC anregen?
> @Oh Doch: Was meinst du mit AC anregen? Naja. Anstelle DC an die Bruecke anzulegen, legt man AC an. Die eingezeichneten 5V DC erscheinen mir allerdings etwas viel. Das waeren dann ja 20mA pro Zweig. Ich wuer unter 1V bleiben, das waeren dann immer noch 4mA pro Zweig. Eine DC Verstaerkung von 10000 ist fast nicht, (dh eher nicht) stabil zu halten. Der Ausgang macht was er will. Waehrend bei AC eine Verstarkung von 10000 noch keine Probleme verursacht. Allenfalls mal das Datenblatt zum AD630 anschauen. Die elektronische Komplexitaet ist einiges hoeher, dafuer sind die Resultate brauchbar.
Also doch keine 4 Biegebalken mit je 4 DMS Sensoren? Oder willst du für jeden Biegebalken einen Verstärker einsetzen? Ein Labornetzgerät reicht nicht,die Präzision ist eher bescheiden. @Oh Doch: Wir haben sicher über 100 000 DMS Verstärker gebaut, die mit Gleichspannung funktionieren und Verstärkungen >> 10 000 ermöglichen. Wo bitte soll das Problemchen sein?
Aber bitte den Verstärker nicht selber aus Opamps zusammenbauen. Es sei denn du bekommst preiswerte 0,01% Widerstände. Such nach "Instrumentation Amplifier" bei den Halbleiterherstellern, ADI, LTC und TI. Da sind die 3 Opamps plus die genauen Widerstände schon drin.
Aber bitte den Verstärker nicht selber aus Opamps zusammenbauen. Es sei denn du bekommst preiswert 0,01% Widerständemit mit sehr niedrigem Temperaturkoeffizienten. Das wage ich aber zu bezweifeln. Such nach "Instrumentation Amplifier" bei den Halbleiterherstellern, ADI, LTC und TI. Da sind die 3 Opamps plus die genauen Widerstände schon drin.
> Wo bitte soll das Problemchen sein?
Bei Thermospannungen, Offsetdrift, Einstreuungen, ..
  Offsetdrift ist Geschichte. Thermospannungen kann man eliminieren und Einstreuungen sind eine Sache, die auch TF Verstärker betrifft.
Den Offset der DMS muss man ggf. nicht eliminieren, wenn man einen ADC mit genügend Auflösung nutzt und der Offset nicht zu groß ist. Wenn es sein muss dann eher feste, ausgesuchte Widerstände um den groben Fehler zu eliminieren. Wenn man dem Verstärker von Hand bleiben will, reichen auch 2 OPs und dann ein ADC mit Differenzeingang. So hoch sind die Anforderungen an die Widerstände nicht. Kritisch wären wenn überhaupt die Widerstände am 3. OP - mit nur 2 OPs und ADC mit Differenzeingang wären selbst 10% Toleranz bei den Widerständen noch kein Problem. Wegen des Gleichtaktbereiches sollte der ADC eher für einen +-1 V oder +-2 V Bereich ausgelegt sein. Für einen ADC ohne Differenzeingang wäre eher ein fertiger Intrumenten-verstärker wie AD620 passend. Der OPA340 ist für eine DMS Brücke aber keine gute Wahl, schon gar nicht für eine DC Brücke. Es sollten schon low noise OPs sein, und als DC Brücke auch welche mit wenig Drift, ggf. auch AZ OPs. Kandidaten wären da etwa AD8551, LTC2057 oder ADA4528. Wenn man die Brücke als AC Brücke haben will, dann heute so, dass man einen genügend schnellen ADC nutzt und die Demodulation in Software macht indem man abwechselnd mit 2 Polaritäten misst. Der Aufwand ist etwas höher als bei der DC Brücke, aber man kann etwas genauer / rauschärmer werden.
Was möchtest du eigentlich messen? Die Aufgabe wird nämlich mit der Bandbreite wurzelförmig schwieriger. Wieviel Datenpunkte wollt ihr pro Spung sammeln?
Mahlzeit :) Danke für den vielen Input. Ich denke AC ist mir dann doch etwas zu krass, vor allem weil ich damit noch nie gearbeitet habe. Gibt es da gute Lektüre/Links wie ich damit in der Mikrokontroller Welt arbeite? @Lurchi: Also ich denke dass der Offset doch recht hoch ist. -2,5mV Offset. Bei Volllast bekomme ich ein Signal von -2,1mV. Da ich meine Schaltung ja (bisher) nur mit positiver Spannung versorge ist das doch dann ein Totbereich oder? Bitte korrigiere mich wenn ich falsch liege! Wie meinst du das mit fixen Wiederständen? Der AD620 hat maximal einen Gain von 1000, da müsste ich also zwei hintereinander schalten. Werde es nachher mal Simulieren! @tbs: Doch 4 Balken. Habs mal nur mit einer Brücke versucht zwecks Machbarkeit. Könnte ich nicht einen Multiplexer verwenden? Ich bin mir allerdings noch nicht sicher ob es nicht besser wäre alle Kanäle (da sich die Kräfte zwecks Plattenkonstruktion addieren) simultan zu erfassen. Hierfür brauche ich dann wohl pro Messbrücke eigene Verstärker oder? @Chris: Also ich hab mir das so vorgestellt, dass ich immer einen Sprung aufnehmen will: Knopf drücken damit Messung starten --> Auf die Platte stellen --> Springen --> Wieder einen Knopf drücken damit die Messung aufhört. Beim ADC wünsche ich mir eine Samplingrate von ca 1kHz pro Kanal, das sollte locker Ausreichen um einen guten Verlauf zu bekommen.
Die DMS Vollbrücken kann man dann parallel schalten, wenn Sie in Eingangs- und Ausgangswiderstand übereinstimmen und standardisiert (gleiche Belastung ergibt gleiches Ausgangssignal)sind. Dann reicht ein Verstärker.
Der Offset ist mit 2,5 mV gegen 0,4 mV Signalhub nur 6 mal so groß. Das ließe sich noch mit einem ADC mit genügend Auflösung auffangen - halt 2-3 Bits mehr. Bei 2,5 mV und 1000 facher Verstärkung ist man schon bei 2,5 V - mehr wollen viele ADCs auch gar nicht. Die Insrumentenverstärker sind in der Regel auch nicht Rail to Rail, viel mehr als 2,5 V geht also auch da nicht gut mit 5 V Versorgung. Eine wichtige Frage ist halt wie schnell gemessen werden soll und welche Auflösung gefordert ist. Eine Frage ist auch wie sehr Drift stört. Das legt halt die Anforderungen an den Verstärker und ADC fest. Ein Vorschlage wäre etwa: Als Verstärkung 2 rauscharme OPs wie OPA209, und dann ein höher auflösender ADC mit Differenzeingang wie etwa ein LTC2440. Vom Rauschen und der Geschwindigkeit (knapp 4KSPS) wäre das schon recht gut, aber mit etwas Drift.
Lurchi schrieb: > aber mit etwas Drift. Da ja die Messung per Knopfdruck gestartet werden soll, kann man ja als erstes vor Start der Messung nullen. Ähnlich arbeiten ja auch Personenwaagen.
Hallo Leute, ich habe versucht eure Anregungen und Ratschläge umzusetzen. Danke @Lurchi für die IC Vorschläge. - Brückenspeißung möglichst gering halten zwecks Leistung: 1V! Meine Spannung liegt bei Maximallast bei so 60uV(relativ). Mein Offset beträgt -0,504mV im Mittelwert --> Bei Maximallast liegt Signal bei -0,444mV. - PreAmp (Buffer?) ist mit OPA2209 ausgeführt. Die Verstärkung wird mit Rg=100Ohm auf 2000 festgelegt. So sollte das Signal nie höher sein als 1V. - Der 24Bit ADC (LTC2440) wird mit 5V betrieben. Ref+=1V, Ref-=GND also sollte ich damit den Bereich ganz gut ausnutzen können. Ich denke, dass die Brückenspannung und die Referenz des ADCs doch recht empfindlich ist oder? LG philipp
Die meisten DMS Brücken sind schon für etwas mehr Leistung bei der Anregung ausgelegt. Wie viel hängt von den DMS ab. Weniger Anregung gibt halt auch weniger Signal - da muss man abwägen und nachlesen was das für DMS sind. Auf jeden Fall hat der OPA209 einen eingeschränkten Gleichtaktbereich bei 5 V Brückenspannung wäre man da automatisch im richtigen Bereich. Bei weniger Spannung müsste man da ggf. noch einen Serien-widerstand oder was ähnlichen an der GND Seite haben. Die Ref Spannung für den ADC sollte auf jeden Fall die Anregungsspannung der Brücke sein. Ggf. lohnt es sich sogar da extra Drähte von der Brücke zu führen und die Brücke damit also mit 6 Drähten zu versorgen. Wegen der ratiometirschen Messung kommt es auf den genauen Wert der Anregungsspannung = Referenz nicht an. Die Spannung muss also nicht besonders stabil sein. An IC wird da ggf. ein Kondensator zur Pufferung benötigt. Die Verstärkung muss nicht einmal so hoch sein. Der LTC hat ein Eingangsrauschen von etwas unter 100 nV/Sqrt(Hz). D.h. schon bei 100-facher Verstärkung dominiert das Rauschen der OPs. Der Widerstand Rg sollte eher noch etwas kleiner sein (z.B. 10 Ohm) für weniger Rauchen. Ich würde so etwa eine 200-500 fache Verstärkung anstreben. Das reicht und der ADC hat so genug Reserve für Offset der Brücke. Die Kondensatoren am Verstärkereingang sind so nicht ideal. Kleine Kondensatoren (z.B. 10 nF) gegen HF Störungen wären ggf. schon passend und wenn eine Filterung gewollte sein, dann ein Kondensator zwischen den Eingängen. Für mehr Filterung dann ggf. Kondensatoren parallel zu den Feedback Widerständen. Die helfen auch für einen kleineren Ausgangswiderstand. Die durchgestrichenen Widerstände sind unbedingt nötig - die OPs vertragen keine so große kapazitive Last. So etwa 200-500 Ohm sollten da passen.
Guten Morgen, woow cool danke dir!!! Dann werd ich mal die Bauteile bestellen und hoffentlich klappts mit dem Löten :)
Ich wuerd den LTC2440 wie auf seite 23 des Datenblattes gleich neben dem DMS einsetzen. und die Signale als SPI zum Controller uebertragen.
Vergiss das Gebastel mit OPA 209, die erwünschten Daten sind schwierig zu realisieren. Nimm einen fertigen Instrumentenverstärker, z. B. PGA 204, LT1167, letzter kostet 2,5 €.
Wenn die Anforderungen nicht so hoch sind kann man ggf. auch direkt mit dem ADC an die Brücke. Das ist aber vom Rauschen her nicht so gut. Sofern man einen ADC mit Differenzeingang hat, kann man auch die Verstärkung mit 2 OPs nutzen, bis auf ein einigermaßenes TC matching sind die Anforderungen an die Widerstände nicht so hoch. Bei der DMS Brücke ist das Gleichtaktsignal auch nicht wirklich variabel, so dass eine gute Gleichtaktunterdrückung nicht einmal nötig ist. Auch die Linearität und Stabilität der einfachen DMS ist nicht so gut dass man da eine super hohe Genauigkeit nötig hat. Bei einer Eigenbau Variante der Kraftsensoren hat man aber eher ein Rauschproblem weil man zu mehr Reserve in der mechanischen Stabilität neigt und damit nur wenig Signal bekommt. Ein 24 Bit ADC ist an sich Übertrieben, es würde ggf. auch eine 16 Bit Version tun, aber der LTC2440 ist relativ gut erhältlich.
Bitte melde dich an um einen Beitrag zu schreiben. Anmeldung ist kostenlos und dauert nur eine Minute.
  
  Bestehender Account
  
  
  
  Schon ein Account bei Google/GoogleMail? Keine Anmeldung erforderlich!
Mit Google-Account einloggen
Mit Google-Account einloggen
  Noch kein Account? Hier anmelden.


 Thread beobachten
 Thread beobachten Seitenaufteilung abschalten
 Seitenaufteilung abschalten