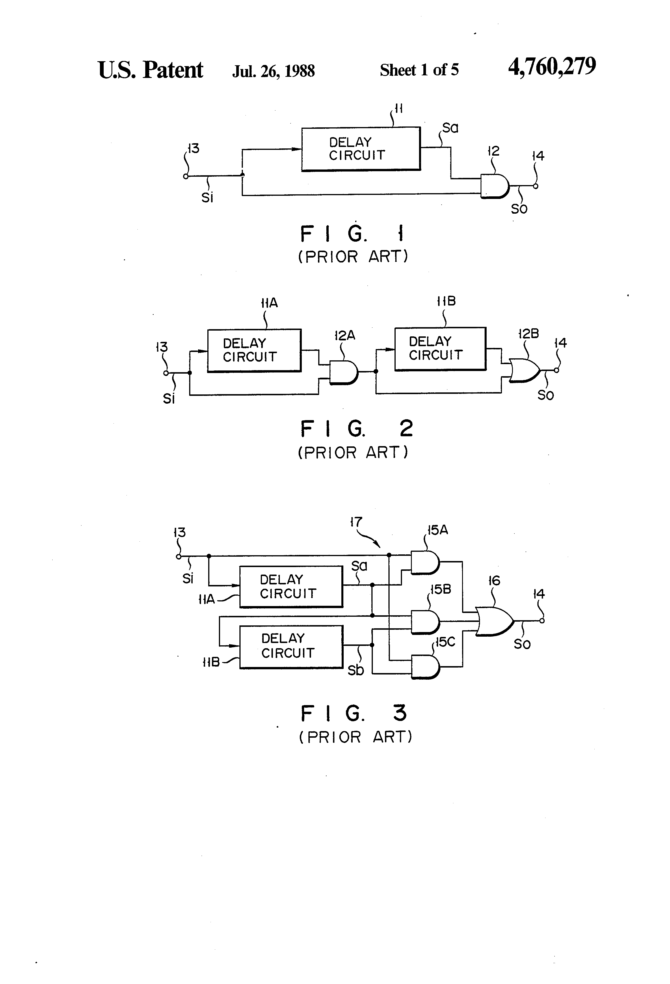
In dem Patent US 4760279 A ist eine Schaltung beschrieben (figure 3), die Glitches sowol an fallender als auch steigender Falanke aus einem digitalen / seriellem Datenstrom entfernt. Frage: gibt es so eine Schaltung als fertiges logik IC? Gibt es bessere Schaltungen? Ich hätte gerne möglichst wenig Delay und Asymmetrie? Bitrate ca. 2 bis 5 Mbit/s...
Frank Bockwurst schrieb: > Glitches sowol an fallender als auch steigender Falanke aus einem > digitalen / seriellem Datenstrom entfernt. > > Frage: gibt es so eine Schaltung als fertiges logik IC? Mir ist keines bekannt - aber: warum hast du Glitches in einem Datenstrom? Ist da nicht was ganz anderes faul?
Frank Bockwurst schrieb: > In dem Patent US 4760279 A ist eine Schaltung beschrieben (figure 3), > die Glitches sowol an fallender als auch steigender Falanke aus einem > digitalen / seriellem Datenstrom entfernt. Das tun tun alle drei gezeigten Schaltungen, nicht nur die aus figure 3. > Frage: gibt es so eine Schaltung als fertiges logik IC? Nö, nicht als einen, jedenfalls soweit ich weiss. Aber man kann die Schaltung natürlich z.B. aus Standard-Gatter-ICs (und ggf. ein paar Kondensatoren und Widerständen) zusammenbauen. > Gibt es bessere > Schaltungen? Soviel dürfte mal sicher sein. > Ich hätte gerne möglichst wenig Delay und Asymmetrie? Die Schaltung gehorcht den gleichen Gesetzen, denen Filterschaltungen generell gehorchen. Der besondere Trick ist hier nicht, dass es mit digitalen Standardgattern irgendwelche besonders guten Ergebnisse geben würde, sondern nur der reine Sachverhalt, eben solche zu diesem Zweck zu verwenden. Tatsächlich kann man diese Gatter auch als zwar recht schnelle, aber ansonsten in jeder Beziehung ziemlich lausige Operationsverstärker betrachten. Das mag vor 30 Jahren noch halbwegs attraktiv gewesen sein, aber heute ist es das sicher nicht mehr. Denn heute gibt es gute und gleichzeitig schnelle OVs.
HildeK schrieb: > Ist da nicht was ganz anderes faul? Vermutlich schon. Falsche Leitungsimpedanz, falscher Abschlusswiderstand und ungünstige Masseführung bringen Klingeln mit sich... Siehe dazu auch den Beitrag "Re: Signalproblem bei langem Kabel" und natürlich den Beitrag "Re: Serienwiderstand bei Hochfrequenz"
Der Ausdruck "Glitch" wird oft nicht so eindeutig benutzt. 1) Überschwinger 2) Starke Überschwinger auf benachbarten Leitungen, die in das Signal überkoppeln 3) Durch Gatterlaufzeiten verursachte kurzfristige logische Zwischenzustände. Da du von seriellen Daten redest, sind es wohl (1) Überschwinger. Gegenmaßnahme: Leitungsabschluss mit dem Wellenwiderstand! Oder Dämpfung durch einen seriellen Widerstand (etwa Wellenwiderstand) vor dem Empfänger. Gegen (2) hilft Schirmung, oder symmetrische Übertragung. Gegen (3) hift kluges Design (Gatter-Laufzeiten vor- kompensieren...) Oder ein Tiefpass, der das Soll-Signal durchlässt, aber die Störungen sperrt. Das DELAY im Patent macht es auch kaum besser. - Hilft aber nur, wenn die Störung deutlich kürzer, als die minimale Signalpulsbreite ist...
Ja hatte schon befürchtet, daß es Ratschläge gibt die Glitches im Datensignal zu eliminieren. Das ist nicht die Frage. Es handelt sich vielmehr um einen Versuchsaufbau um Systemgrenzen von Feldbussystemen zu untersuchen. Diese Glitches sind im Datenstrom drin und sollen in dieser Aufgabenstellung einfach mal als gegeben hingenommen werden. Ich habe eine Signalmanipulationsschaltung konstruiert, die den Datenstrom asymmetriert und verzögert, da dies zum Test des Kommunikationscontrollers und der Systemgrenzen erforderlich ist. Genau diese Manipulationsschaltung "verschluckt" sich jedoch an Glitches / Ringing wenn der Flankenwechslen zwischen 5 und 10ns liegt. Daher will ich diese entfernen. Dem reellen Kommunikationscontroller machen diese Glitches gar nichts aus. Das ganze ist also vielmehr ein Experiment uns nichts was später produziert werden soll. Trotzdem schonmal Danke für die Rückmeldungen!
Frank Bockwurst schrieb: > Genau diese Manipulationsschaltung "verschluckt" sich jedoch an > Glitches / Ringing wenn der Flankenwechslen zwischen 5 und 10ns liegt. > Daher will ich diese entfernen. Ich würde ein FPGA nehmen, mit z.B. 100MHz takten und dort dann die Glitches filtern. Das hat den Vorteil, dass die Logik pfeilschnell geändert werden kann, und der Jitter ist mit +-5ns bei 2..5 MBit/s noch sehr überschaubar. Weil die "Glitchentfernungelogik" garantiert nur klein ist (mehr oder weniger nur ein Schieberegister, siehe http://www.lothar-miller.de/s9y/archives/18-Flinke-Flankenerkennung.html), könnte man den Takt z.B. in einem MachXO2 auch auf 200MHz erhöhen und käme ohne nenneswerten Aufwand und umprogrammierbar auf +-2,5ns Jitter. Und die Größe so eines Bauteils ist bei einem 32 QFN mit 5x5mm² oder einem 25-Ball-BGA mit 2,5x2,5mm² auch sehr überschaubar: http://www.latticesemi.com/en/Products/FPGAandCPLD/MachXO2.aspx
Ja, das ganze sollte auf die Schnelle gehen ;-) Die Überlegung ist sowieso die gesamte Manupulationsschaltung ebenfalls in einem FPGA anzulegen (ist momentan diskret und gewisse digitale Delay Lines verschlucken sich eben)... Mal sehen wie ich das jetzt bis heute nachmittag hinbekomme. Mit einem FPGA sicher nicht...
Bitte melde dich an um einen Beitrag zu schreiben. Anmeldung ist kostenlos und dauert nur eine Minute.
Bestehender Account
Schon ein Account bei Google/GoogleMail? Keine Anmeldung erforderlich!
Mit Google-Account einloggen
Mit Google-Account einloggen
Noch kein Account? Hier anmelden.
