Vorweg: Ich steuere meine Eisenbahn mit dem Train Engineer Revolution. Dieses ist ein 2,4GHz direkt Funksystem. Zum Ausstellungsbetrieb benötige ich nun eine einfache aber variable Weichensteuerung. Der EPL-Weichenantrieb ist ein Gleichstrommotor. Dieser wird einfacherweise mit einer positiven bzw. negativen Spannungshalbwelle geschaltet. 2 Dioden und 2 Taster (oder Tastschalter) und fertig. Problem: Mein Receiver (Decoder) des Train Engineer Revolution liefert mir 6 nutzbare Funktionsausgänge (FA). Diese FA schalten ein negatives Signal. Meine Idee, pro FA eine Weichenstraße. Diese jeweiligen Weichenstraßen kann ich auch über eine variable Diodenmatrix grundlegend realisieren. Zum Schalten der einzelnen EPL-Weichenantriebe wollte ich einen P+N-Kanal MOSFET verwenden. Nur das geht nicht. Ich benötige für den N-Kanal ein positives Signal zum durchschalten. Die Testschaltung mit einem 2xP-Kanal MOSFET funktioniert sehr gut, nützt mir nur nicht viel. Kann mir jemand helfen?
Ich kenne mich zwar nicht mit Modelleisenbahnen aus, aber bist Du sicher das die Weichen mit einer Spannungshalbwelle geschaltet werden? Nicht eher einfach umgepolt? Such mal nach H-Brücke, ich glaube das ist was Du brauchst
Um dein System besser zu verstehen, solltest du zunächst ein
Blockschaltbild zeichen, das die diversen Versorgungsspannungen (AC, DC,
Spannungswerte, evtl. irgend eine gemeinsame Masse etc.) aufzeigt.
Vermutlich schaltet der Empfänger 6 Ausgänge per Open-Drain gegen die
Empfänger-Masse ("negatives Signal") und damit sollen die Weichen
engesteuert werden.
Welchen Strom und welche Spannung vertragen die Empfängerausgänge?
Die Weichen werden offensichtlich mit gleichgerichteter Wechselspannung
betrieben.
Wie groß ist die Spannung und der benötigte Strom pro Magnetspule?
Danke für die schnellen Antworten @) Heinz: Plus - Minus einfach umpolen geht auch. LGB nimmt orginal die Spannungshalbwelle. Die H-Brücke könnte schon eine Lösung sein. Da muss ich mir in Ruhe ansehen. @) Eberhard: Ich will gerade den Schaltkreis zeichnen. Mein Laptop will nur nicht so wie ich. Da zeichne ich auch das LGB EPL-Prinzip mit rein.
Triacs wären auch eine Möglichkeit. Erfordert allerdings Erkennung der Polarität und Nulldurchgang der Wechselspannung.
Hallo ! Ich habe bei mir Conrad-Antriebe eingebaut. Die werden auch mit mit einer Halbwelle aus 12V AC gesteuert. Ich verwende Thyristoren - einfach robust und billig. Endabschaltung sollte der Antrieb aber haben. Die Optokoppler lassen sich dann recht einfach mit der bereits erwähnten Diodenmatrix ansteuern.
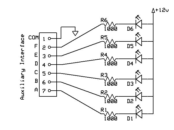
Ich habe eine vereinfachte Schaltung ohne Diodenmatrix gezeichnet. Das Schalprinzip ist ja gleich. Das Zeichen für den MOSFET ist nicht richtig! Links ist der N-Kanal und rechts der P-Kanal. Die Widerstände habe ich der Smoke Unit (MOSFET-Schaltung) entnommen. Die Schaltung mit den LED ist von http://www.trainelectronics.com, zum FA Test. Anstatt der LED kann ich auch die MOSFET ansteuern. Die FA des Train Engineer Revolution werden mit nur 100mA angesteuert. Für mehr Leistung ist dann eine „Smoke Unit“ vorgesehen. Für den EPL Weichenantrieb ist der einfachste Trafo von LGB mit 18V AC und 0,5 Amper angegeben. Im WEB habe ich was von 0,3 bis 0,4 Ampere pro Antrieb gelesen. Mein Messgerät war zu langsam und hat beim Schalten nichts angezeigt. Der Dauerstrom lag bei 0,8A, diesen sollte man aber vermeiden.
@) H.Joachim: Triacs habe ich heute auch schon unter die Lupe genommen. Da muss ich mich erst richtig schlau machen. @) knollo: Der Thyristor benötigt eine positive Spannung, wenn ich das richtig gelesen habe. Meine Steuerspannung / Signal ist negativ. Die EPL-Antriebe haben leider keine Endabschaltung!
Enrico S. schrieb: > Der Thyristor benötigt eine positive Spannung Ja, schon. Den Optokoppler kannst Du aber steuern wie Du magst. Und der Teil auf der Thyristorseite läuft bei mir anstandslos - und galvanisch getrennt !
Die Sache mit den Optokopplern und der galvanisch Trennung habe ich schon in einem ähnlichen Zusammenhang gelesen / gesehen. Da werde ich auch mal weiter suchen.
Guten Morgen und DANKE an alle die sich gestern Abend gemeldet haben. Die Optokoppler und Thyristor Schaltung lässt sich wahrscheinlich am schnellsten realisieren. Ich habe heute Mogen mal was mit dem Adler Nummer 8 zusammen gebastelt. Könnte das so vom Prinzip her funktionieren? Das Steuersignal ist min. 1 Sekunde lang (evtl. länger) und sollte den Thyristor entsprechend oft schalten / zünden. Die Wechselspannung sollte den Thyristor wieder abschalten. Ich weiß nur nicht wer schneller ist.
Ich habe das Schaltbild etwas überarbeitet.
Tipp: Zunächst solltest du bei deinen Schaltplänen und Beschreibungen zwischen Masse (GND) und negativen Spannungen unterscheiden. Wie beim LED-Test gezeigt, ist ein gemeinsamer Anschluss als Masse = GND = COM nötig, um den Stromkreis zu schließen. Bei deinem selbstgezeichneten Schaltbild ist "MINUS" offensichtlich der COM bzw. GND. Das muss auch der Bezugspunkt beim Ansteuern von nachgeschalteten MOSFETs etc. sein. Deshalb konnte dein Aufbau mit den MOSFETs nicht wirklich funktionieren. "Meine Steuerspannung / Signal ist negativ." Nein, das Steuersignal ist nur invertiert. Es sind offensichtlich Open-Collector-Ausgänge, die im aktiven Zustand nach COM = GND schalten. Mit deinen Thyristor-Schaltplänen kommst du einer Lösung schon etwas näher. Lediglich die Ansteuerung der Thyristoren klappt noch nicht ganz. Du solltest die Kollektoren der Optokoppler statt an +UB jeweils an die Anode des zugehörigen Thyristors legen. Es reicht ein Widerstand (R1 bis R6) zur Begrenzung des Gate-Stroms vom Emitter des Optokopplers zum Gate des Thyristors. Dann wird die Weichenspule nach dem Triggern des Thyristors richtig mit einer Halbschwingung der Wechselspannung versorgt und im Normalfall spätestens mit der nächsten Halbschwingung nach Ende der Ansteuerung abgeschaltet, wenn der Spulenstrom null ist.
Danke Eberhard Bei der 1. MOSFET–Schaltung hatte ich die EPL-Ansteuerung mit Gleichstrom gedacht: +18V mit IC 7818 GND -18V mit IC 7918 Dabei hätte ich den Vereinstrafo neu / anders klemmen müssen. Da habe ich ja 2x 18V im Ausgang zur Verfügung. Jetzt ist dieser 1x DC Bahnbetrieb und einmal AC Zubehör geschaltet. Bei der Optokoppler und Thyristor Schaltung müssten Widerstände R1 bis R6, dann auch an ~PE angeschlossen werden (und nicht an GND). Wenn ich es richtig verstanden habe?
Enrico S. schrieb: > Bei der 1. MOSFET–Schaltung hatte ich die EPL-Ansteuerung mit > Gleichstrom gedacht: > > +18V mit IC 7818 > GND > -18V mit IC 7918 Das habe ich schon verstanden. Die Source-Anschlüsse der N-Kanal-MOSFETs liegen dabei an -18V und die Steuerausgänge haben keine Wirkung, denn die N-Kanal-MOSFETs sind bei deiner Beschaltung vermutlich immer durchgeschaltet. > Bei der Optokoppler und Thyristor Schaltung müssten Widerstände R1 bis > R6, dann auch an ~PE angeschlossen werden (und nicht an GND). Wenn ich > es richtig verstanden habe? Sorry, ich habe R1 bis R6 der ersten Thyristor-Schaltung gemeint, also die Widerstände vom Emitter der Optokoppler zu den Thyristor-Gates. Diese Widerstände bleiben. Die anderen Widerstände an den Thyristoren können entfallen*. Einfach nochmals neu zeichnen und wir schauen das Ergebnis an ... * Natürlich bleiben die Widerstände an den Steuerausgängen auf der Eingangsseite der Optokoppler.
So der Adler ist wieder gelandet. :-) Ich hoffe alle Fehler beseitigt zu haben. Die Collectoren der Optokoppler habe ich an die andere ~AC Leitung geschaltet, sonst gäbe es ja keine galvanische Trennung.
Separate DC-Versorgung für die Optokoppler ist korrekt (nochmals: im Schaltplan nicht –UB schreiben, sondern 0V oder GND). Es kann auch eine kleinere Spannung zur Versorgung der Optokoppler-Eingänge sein, sofern vorhanden, aber eben gemeinsames GND mit den Steuerausgängen. Die Kollektoren der Opto-Koppler stimmen immer noch nicht. Wie gesagt, die Kollektoren der Optokoppler gehören jeweils an die Anode des zugehörigen (!) Thyristors, NICHT alle miteinander verbunden an einen der beiden 18VAC-Anschlüsse (wie zuletzt gezeichnet)! Dann musst du nur noch die Widerstände passend dimensionieren.
Sorry, mein Fehler, ich habe das Symbol in GND umbenannt. Die Versorgungsspannung kann ich wie bei meinen Loks mit einem Festspannungsregler unter 24 Volt reduzieren. Der Receiver benötigt minimal 12 Volt, irgendwo dazwischen. Ein extra Festspannungsregler mit 5 Volt geht ja auch. Die Kollektoren der Optokoppler habe ich jetzt an die Anode der Thyristoren geschaltet.
OK, jetzt klappt die Triggerung der Thyristoren. Sehe gerade, dass du ILD30 vorgesehen hast. Da ist bei 18VAC natürlich nicht viel Spielraum bis zur maximal zulässigen Spannung von 30V. ILD50 (55V) oder andere Optokoppler für höhere Spannungen wären bestimmt besser. Vielleicht zur Sicherheit noch je eine 1N4148 in den Kollektor-Anschlüssen der Optokoppler vorsehen. Nachtrag: Den MCR106 kenne ich nicht aus eigener Erfahrung. Falls er sehr empfindlich ist und bei Störspitzen fehltriggert, könnte jeweils ein Widerstand von Gate nach Kathode Abhilfe schaffen.
Den ILD30 habe ich einfach nur aus dem Adler genommen. Nach den Werten hatte ich nicht wirklich gesehen. Stimmt natürlich, mit 55 Volt ist mehr Spielraum da. Elkos nehme ich ja, was die Spannung angeht, auch höher. Im Adler scheint nur der 30er zu sein, noch mal suchen bzw. umbenennen. Hinter der variablen Diodenmatrix benötige ich 20 Optokoppler für maximal 10 EPL-Anriebe. Da werde ich wahrscheinlich 5 Stück 4 Kanal verwenden.
Hallo ! Die Thyristorseite ist nun genau so beschaltet wie bei mir, sollte also laufen. Sorge auf der Diodenseite der Koppler dafür, daß nicht beide Thristoren für einen Antrieb gleichzeitig zünden können ! Die 24V DC kannst Du eventl. aus einem separaten Netzteil, was nur einen kleinen Strom bereitzustellen braucht, erzeugen. MfG
knollo schrieb: > Sorge auf der Diodenseite der Koppler dafür, daß nicht beide > Thristoren für einen Antrieb gleichzeitig zünden können ! Ist berechtigt, weil ich kann ja einen Fehler beim stecken der Matrix machen.
Ich schmeiss mal noch den Triac nach....
Sorry, ich hatte keine Zeit mehr. Habe mit meiner Tochter erstmal für die Schule ein Video geschnitten. ich melde mich morgen wieder.
Guten Morgen So ich habe mal den Vorschlag von H. Joachim unten in die Schaltung eingeplant. Wenn ich das so sehe ist die Triac Schaltung ja noch einfacher. Ich habe auf seine Anmerkung im Beitrag #4942468 hin: > Erfordert allerdings Erkennung der > Polarität und Nulldurchgang der Wechselspannung. und meiner Websuche nicht weiter nach Triacs gesehen. Diese Schaltungen sahen mir zu kompliziert aus. Ein ganz klein wenig Ahnung von Elektronik reicht eben doch nicht aus. :-(
Fehler in der Zeichnung Opto-6! Die Diode D6 muss um 180° gedreht sein!
Enrico S. schrieb: >> Erfordert allerdings Erkennung der >> Polarität und Nulldurchgang der Wechselspannung. Das braucht man dann, wenn man die Geschichte mit einem Pin steuern will. Den Steuerimpuls also abhängig von der Phasenlage schickt. Mit den 2 Optokopplern und Dioden (die sorgen für die phasenrichtige Ansteuerung) braucht man das nicht.
Bipolare Halbbrücke, 1000µF Auskoppelkondensator. Der Ladestrom (vom plus kommend) Lässt den Antrieb rechtsrum laufen, der (entgegengesetzte) Endladestrom (jetzt gegen GND) linksrum. Wie lange läuft solch ein Antrieb? "ritsch, fertig", oder "didldidldidldilbrummmm"? Endanschlag haben die ja nicht, die ELP-Antriebe (what ever this means) Allerdings gibt es ja fertige MOSFET-NP Kombinationen im SO8. Da kann man dann zweie nehmen (eine rechts, eine links) und spart sich den großen Koppel-C. StromTuner http://www.trainelectronics.com/HO_Train_Engineer/article.htm Zu den Weichenatrieben findet man nicht wirklich viel zum Innenleben... http://www.modell-land-service.de/weichenantrieb-12010-p-10777.html http://www.buntbahn.de/fotos/data/500/5332EPL-Schaltung.jpg
StromTuner Enrico S. schrieb: > wollte ich einen > P+N-Kanal MOSFET verwenden. Nur das geht nicht. Ich benötige für den > N-Kanal ein positives Signal zum durchschalten. Sollte hier tatsächlich das problem liegen? Evtl. kann ich heute abend mal was aufmalen. Deine Steuerung wird sicher OpenCollector-Ausgänge haben, wie bereits oben vermutet. Oder kommen da tatsächlich "-18V" aus dem sog. FA (Funktionsausgang) raus?
Axel R. schrieb: > "-18V" Die wollte ich mit dem N-Teil des MOSFET schalten. Ich habe noch mal bei Dave Bodnar (http://www.trainelectronics.com) nach gegooglet. Die FA haben Open Collector Ausgänge.
Enrico S. schrieb: > Axel R. schrieb: >> "-18V" > > Die wollte ich mit dem MOSFET schalten Das hingegen ist mir klar ;) Was kommt denn nun aus den Ausgängen raus [] "nichts/Masse" [] "Plus/nichts" [] "PLUS/MASSE" [] ... [] ... einfach mal mit dem Multimeter gegen den Minuspol des Empfänger(akkus?) messen. Es würde (uns hier) reichen, wenn Du entsprechende Unterlagen des Decoders zur Verfügung stellen könntest. StromTuner
Die beste Beschreibung kommt von Dave Bodnar (http://www.trainelectronics.com) und ist in Amerikanisch: >The Revolutions receiver outputs are referred to as open collector outputs. This >means that electronically they are equivalent to NPN transistors. The control >lead from the wiring harness is connected to the collector of the transistor >whose emitter is attached to ground. >When an auxiliary output is activated on the Revolution the control lead connects >whatever device it goes to to ground. This design works well but is limited by >the amount of power that it can handle. The devices on the receiver are dual chip >transistors, part # SUR521H. According to the data sheet each of the transistors >is rated at 100 ma. I would not, however, connect a device that would draw >anything near that level. It is best to keep the current draw to 20 or 30 ma, >maximum. Er schreibt eben, die FA haben Open Kollektor Ausgänge. Da ich schon 3 Receiver beim nachmessen verräuchert habe, unterlasse ich irgendwelche Messungen. Die Dinger kosten mich $108.50 plus Porto und Zoll. Da die Katode mit dem FA verbunden wird und die Anode mit +, gehe ich davon aus, dass dann – im FA geschaltet wird. Die originale Anleitung ist halt auch in Amerikanisch.
Ich selber schrieb: > dass dann – im FA geschaltet wird Muss heißen GND im FA geschaltet wird. Ich werde es irgendwann noch mal begreifen. :-(
> Da ich schon 3 Receiver beim nachmessen verräuchert habe, Dann fass' da blos nichts an und unterlass in Zukunft jedwede eigene Bastelei an diesen komischen elektrischen Sachen... :) :) StromTuner PS. danke für die Unterlagen. Ich seh mir das gern mal an, auch wenns in "amerikanisch" ist. StromTuner http://trainelectronics.com/Aux_Interface/ "When an auxiliary output is activated on the Revolution the control lead connects whatever device it goes to to ground." Da stehts: Dir wird GND spendiert, wenn ein Ausgang geschaltet wird. Schonmal nicht schlecht :)
in der Vorschau war es richtig herum! ich schwöre... Evtl. kann man ja die exif daten des Bildes abrufen, BEVOR die Forensoftware es zur Anzeige bringt. In keinem anderen Socialmedia habe ich diese "Probleme", nur hier. Zumal in der Vorschau (man zoomt etwas hinein, dann geht es) das Foto richtig herum angezeigt wird. Die Diskussion hatten wir ja letztens erst. StromTuner
Auch wenn die Triac-Variante 1-2 Bauteile weniger benötigt, würde ich dennoch die Thyristor-Variante (= Ausführung "For Dummies") bevorzugen, da Triacs je nach Auswahl, Ansteuerung und Last u.U. Zicken machen. Auf jeden Fall sollte man zunächst einen Funktionstest mit einem Weichenantrieb machen, wozu man den Empfänger gar nicht benötigt. Die MOSFET-Variante ist im Vergleich dazu sehr viel komplexer und aufwendiger (beim Vorschlag von StromTuner fehlen mindestens Pull-Up-Widerstände an den FA-Ausgängen, außerdem ist die Funktion invertiert).
die ersten beiden Transistoren sollen die sein, die sich im decoder befinden. sry... war da kurz abgelonken StromTuner Man sollte die Ausgänge in der Tat noch gegeneinander verriegeln, damit es keinen "kurzen" gibt. 18V+18V mal 2Amps sind gut 70Watt! StromTuner Thyristoren dann bitte wirklich nur mit Wechselspannung betreiben, die gehen sonst nicht von allein wieder aus und der Antrieb hat keine mech. Abschaltung! StromTuner
Axel R. schrieb: > die ersten beiden Transistoren sollen die sein, die sich im decoder > befinden. sry... war da kurz abgelonken OK, diese Ausrede gilt. ;-) > Man sollte die Ausgänge in der Tat noch gegeneinander verriegeln, damit > es keinen "kurzen" gibt. 18V+18V mal 2Amps sind gut 70Watt! Dann ist der Aufwand noch größer ... Nun ja, bei AC-Betrieb muss man auch aufpassen, dass immer nur eine Halbschwingung aktiv ist. > Thyristoren dann bitte wirklich nur mit Wechselspannung betreiben, die > gehen sonst nicht von allein wieder aus und der Antrieb hat keine mech. > Abschaltung! Das war Enrico sicher klar und steht so auch in seinen Schaltplänen. Außerdem ist das die empfohlene Betriebsart für die vorgesehenen Weichenantriebe. Und genau das spart neben der einfachen Thyristor/Triac-Ansteuerung auch eine Menge zusätzlichen Aufwand für die Stromversorgung. So ist es "nur" ein Trafo.
Danke erstmal wieder für eure Ideen!!!!!!!!! Ich bin jetzt gerade von Arbeit gekommen. Hier hat sich ja richtig was getan! Die Thyristor/Triac-Ansteuerung finde ich schon mal ganz sinnvoll. Meine Planung wird in diese Richtung gehen. Ich muss jetzt mal sehen wann ich Zeit habe zum Elektrogroßhändler meines Vertrauens zu sausen. Ein paar Thyristoren und Triacs holen. Das Steckbrett aus dem Schrank nehmen und Testschaltung aufbauen. Mal sehen wie was so funktioniert. Eberhard schätzt die Situation bei mir schon mal sehr gut ein!
Es hat mir keine Ruhe gelassen und ich habe zwischendurch den Lötkolben angeheizt, um obige Schaltungsvorschläge mit Triac und Thyristor zu untersuchen und zwar einfach mit Tastern statt Optokoppler für vor und zurück. Als Ersatz für den Weichenantrieb habe ich einen DC-Motor aus einem Haarfön verwendet, der mit ungefähr serselben Spannung läuft. Er ist original mit einem Keramikkondensator entstört. Die schlechte Nachricht zuerst: Die Triac-Variante (untersucht mit einem uralten Standard-Triac TAG222, der etwa dem TIC216 entspricht) zickt schlimmer als ich erwartet habe. Wenn der Triac für die eine Laufrichtung im ersten Quadranten betrieben wird, triggert er durch die unvermeidbaren induzierten Störspannungspitzen sehr häufig auch im dritten Quadranten und umgekehrt. Durch den kurzzeitigen Stromfluss zwischendurch in Gegenrichtung läuft der Motor mit extremem Schluckauf. Auch ein Widerstand zwischen Gate und A1/MT1 bringt keine Verbesserung. Es gibt zwar spezielle 3-Quadranten-TRIACs, die im 4. Quadranten nicht triggern und deshalb bei der vorliegenden Anwendung mit Betrieb im 1. oder 3. Quadranten keinen Vorteil bringen. Die Thyristor-Variante mit einem MCR106 lief dagegen auf Anhieb rund, egal ob bei 6VAC oder bis 19VAC. Ledliglich ab und zu haben die relativ empfindlichen Thyristoren beim Abschalten kurz nachgetriggert, aber nie im falschen Quadranten. Ein Widerstand* zwischen Gate und Kathode (R3 und R6 im angehängten Schaltplan) hat dies schließlich verhindert. Diese Widerstände sollten bei einem Platinen-Layout unbedingt vorgesehen werden, so dass man sie bei Bedarf nachbestücken kann. Das Tastverhältnis der Thyristor-Variante liegt bei meinem Versuchsaufbau bei ca. 35% bis 40%. Nicht untersucht habe ich die Ansteuerung per Optokoppler, denn an dieser Stelle würde ich auch keine Probleme erwarten. Damit es aber keinen Konflikt gibt, wenn durch die Empfängerausgänge FA1 und FA2 (bzw. FA3 und FA4, FA5 und FA6) versehendlich beide Kanäle 1 und 2 gleichzeitig angesteuert werden, habe ich eine einfache Verriegelung realisiert, die in der Schaltung sogar gratis mit abfällt. Im Schaltplan ist dies die gestrichelte Umrandung um R1 und R4, den eingangsseitigen Arbeitswiderständen der beiden Optokoppler. Was an dieser Stelle nach falschen Verbindungen ausschaut, ist ein Wired-XOR, das keinen der beiden Thyristoren ansteuert wenn beide Empfängerausgänge FA1 und FA2 gleichzeitig aktiv nach COM/GND geschaltet sind. Die Dioden der beiden Optokoppler sind einfach antiparallel geschaltet, so dass immer nur eine (oder keine) Diode leitend ist. Fazit: Die TRIAC-Variante ist bei dieser Anwendung mit Stromumkehr unbrauchbar, die Thyristor-Variante schnurrt dagegen zuverlässig in beide Richtungen und eine einfache Verriegelung gegen Fehlbedienung fällt auch mit ab. * Wert zwischen 2,2kΩ und 10kΩ, hat keinen großen Unterschied gemacht.
Naja, jetzt hast du aber auch Äpfel und Birnen, mit nem Bürstenmotor als Ersatzlast... Ich habe das damals mit 2N6073 für die LGB aufgebaut (ok, ohne Optokoppler, sondern direkt (Quadrant II && III, also eigentlich die schlechtere Betriebsart als I und III), funktioniert völlig problemlos. Heute noch.
H.Joachim S. schrieb: > mit nem Bürstenmotor als Ersatzlast... Muss zugeben, dass ich den LGB-Weichenantrieb 12010 nicht aus eigener Erfahrung kenne. Habe mich durch Enricos Angabe "Das Steuersignal ist min. 1 Sekunde lang (evtl. länger) ..." in die falsche Richtung leiten lassen, denn ich ging bislang davon aus, dass es sich um einen kleinen DC-Getriebemotor mit Rutschkupplung und einer Zahnstange handelt. Daher auch meine Untersuchungen mit einem DC-Motor und das Motor-Symbol in meinem Schaltplan. Habe auf deinen Einwand hin nun etwas genauer recherchiert und gefunden, dass es beim Weichenantrieb 12010 offensichtlich eine größere Magnetspule ist, die über eine Drehbewegung eine Zahnstange in nur ca. 0,2 sec betätigt und einfach gegen den mechanischen Anschlag rumst. Das ist natürlich ein himmelweiter Unterschied. Im Unterschied zum DC-Motor gibt es bei der Magnetspule keine Störspannungen durch Bürsten, die den TRIAC ziemlich durcheinander, die Thyristoren aber nicht aus der Ruhe bringen. Für genauere Untersuchungen wäre ein echter Weichenantrieb von Vorteil, wobei man Fehltriggerungen beim TRIAC (sofern noch welche auftreten) wohl kaum am Weichenantrieb selbst bemerken wird, sondern nur mit dem Scope wird feststellen können. Das kann Enrico anhand der gemachten Vorschläge nun selbst übernehmen und berichten - viel Erfolg dabei!
Jepp, ist nur ne Spule mit innenliegendem drehbaren Permanentmagnet. Gleichstromwiderstand 22R.
H.Joachim S. schrieb: > Jepp, ist nur ne Spule mit innenliegendem drehbaren Permanentmagnet. > Gleichstromwiderstand 22R. OK, hab die Schaltungen nun noch mit einer Magnetventilspule untersucht. Die Triggerung erfolgt auch beim TRIAC im richtigen Quadranten ohne Störungen. Das Tastverhältnis ist sowohl beim TRIAC als auch bei den Thyristoren größer als mit dem ursprünglich untersuchten DC-Motor. Somit ist dein TRIAC-Vorschlag die einfachste Variante.
Ihr fleißig schon wieder wart! Ich habe gestern Abend etwas probiert. Ich habe mir einen CNY74-4H Optocoupler, Phototransistor Output (Multichannel) von Vishay Semiconductors geholt und dazu 2 Philips Thyristors BT152 Series. Als alternative Schaltung einen BTA16 B STANDARD TRIACS von SGS-THOMSON Microelectronics. Mit der Schaltung und den Werten vom Eberhard vom Brumt es sehr viel. ich muss bestimmt die Widerstände richtig berechnen! Aber, es Lebt!!! Ich sause jetzt erstmal zum Verein und über das Wochenende bin ich auch nicht da! Der Enno, der froh ist das IHR mehr Ahnung habt wie ich.
Enrico S. schrieb: > Ich habe mir einen CNY74-4H Optocoupler, Phototransistor Output > (Multichannel) von Vishay Semiconductors geholt und dazu 2 Philips > Thyristors BT152 Series. Das ist einerseits kein Optokoppler mit Darlington-Transistor und andererseits benötigt der ausgewählte Thyristor deutlich mehr Triggerstrom zum sauberen Zünden als der vorgeschlagene. D.h. du könntest es mit ca. 10mA Diodenstrom am Eingang probieren, sprich R1 = R4 = 2,2kΩ bei 24V. Das sollten dann aber schon 0,5W-Widerstände sein, sonst werden sie warm. Bei +DC = 24V ist ein Optokoppler mit Darlington-Transistor natürlich besser, damit der Diodenstrom am Eingang nicht so hoch sein muss. Andererseits ist es ja nur eine kurze Ansteuerzeit. Ansonsten +DC niedriger wählen und R1/R4 entsprechend dimensionieren. > Als alternative Schaltung einen BTA16 B > STANDARD TRIACS von SGS-THOMSON Microelectronics. Der ausgewählte TRIAC benötigt (je nach genauer Ausführung) mindestens einen ähnlich hohen Triggerstrom wie der jetzt verwendete Thyristor, also R1/R4 ebenfalls entsprechend niederrohmig. Auch der Widerstand zum Gate wird eher 1kΩ oder sogar etwas kleiner sein. Klappt die Verriegelung eingangsseitig? Wenn dann alles sauber funktioniert, hinterlege ich einen aktualisierten Schaltplan (u.a. mit Magnetspule statt Motor).
Eberhard H. schrieb: > Das sollten dann aber schon 0,5W-Widerstände sein, sonst werden sie > warm. Nö. Sobald Herr Thyristor/Triac zündet ist es vorbei mit dem Gatestrom. D.h. es fliesst nur sehr kurze Zeit Strom durch den Widerstand.
Ich hänge mich wieder mal kurz rein :-) Danke Eberhard, Joachim und Knut, Ihr denkt ja schon wieder weiter! Danke dafür!!! Ich habe nur kurz mit den Daten probiert, weil die passten zum MOSFET. Die Widerstände habe ich in meinem Bastelraum. Den Rest habe ich draußen im kalten Schuppen. Den Triac habe ich noch nicht probiert. Ich habe meinen Händler um der Ecke gesagt was ich ungefähr brauche (Leistung Trafo 2x 18 Volt AC mit je 11 Ampere) und dieser hat mir mal die Teile mit gegeben. Ich bin bis jetzt nur am Probieren! Eine Leiterplatte ist mit dem Adler schnell erstellt. Die variable Diodenmatrix für 6 Gleise ist schon mal fertig. o9h je, es ist schon wieder kurz vor 12 (24:00) und morgen früh fahre ich nach Brandenburg. Ich melde mich spätesten am Montag wieder. MfG der Enno
H.Joachim S. schrieb: > Eberhard H. schrieb: >> Das sollten dann aber schon 0,5W-Widerstände sein, sonst werden sie >> warm. > > Nö. > Sobald Herr Thyristor/Triac zündet ist es vorbei mit dem Gatestrom. D.h. > es fliesst nur sehr kurze Zeit Strom durch den Widerstand. Ich habe von R1 und R4 in meinem Schaltplan gesprochen (die bei 24V/10mA beide gleichzeitig bis zu 240mW verbraten, solange die Steuersignale anliegen, spricht bis zu 2 sec [warum auch immer], s.o.), nicht von den Gate-Widerständen. Dass letztere bei den vorliegenden Vorschlägen nur kurz stromführend sind bzw. die dann anliegende Spannung sehr klein wird und deren Verluste deshalb vernachlässigbar sind, ist mir schon klar. Mit dem aktuellen weniger empfindlichen Thyristoren sollten dann für sauberes Triggern auch deren Gate-Widerstände R2/R5 (in meinem Schaltplan) ggf. etwas niederohmiger gemacht werden (ähnlich wie beim TRIAC). Die Widerstände R2/R5 von Gate nach Kathode kann man mit der Magnetspule dann weglassen (beim DC-Motor waren sie hilfreich).
Moin, Moin Jungs und ich habe wieder probiert. Die letzte Schaltung vom Eberhard ist soweit IO für Thyristoren. R2 und R5 habe ich mit 1,5kΩ ersetzt. In einer Richtung ist alles Top, in die andere brummt es hin und wieder. Das scheint aber mit der Trägheit des Senders zusammen zu hängen. Der EPL – Antrieb schaltet gut durch!
Ich habe 3 EPLer an die Thyrisoren gehangen. Alle 3 schalten problemlos durch. Das Brummen kommt sicher über die Steuerung. Diese scheint länger zum „abschalten“ zu brauchen wie gedacht. Lasse ich den Finger etwas länger auf der Funktionstaste, kommt das FA-Signal bis ca. 2 Sekunden. Der EPL braucht nur 1 Sekunde und danach brummt es kurz mit 50 Hz. Ich denke das fällt schon mal nicht ins Gewicht. Die Widerstände werden auch nicht merklich warm.
So ich habe jetzt den Triac mit dazu geschaltet. Auch dieser funktioniert gut. Die Temperaturen habe ich mit der Hand mal geprüft! Heiß, war da nichts! Ich würde nicht mal von Warm reden.
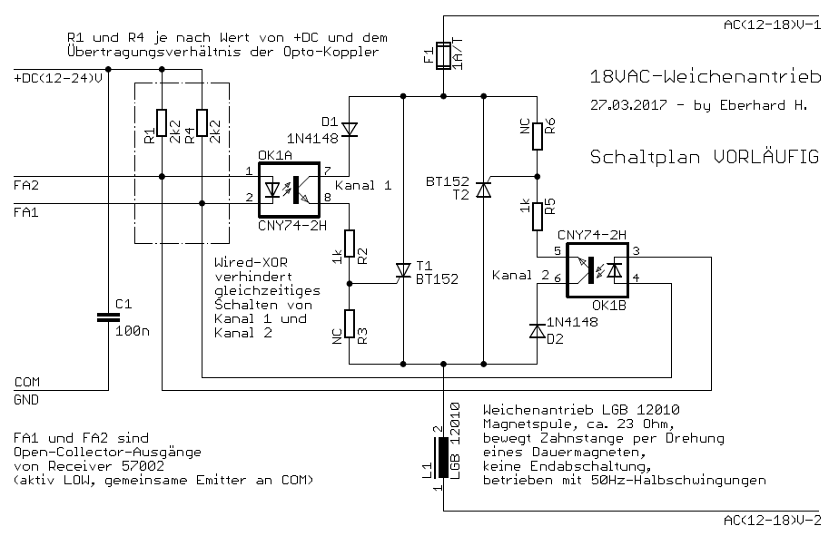
Enrico S. schrieb: > Ich habe 3 EPLer an die Thyrisoren gehangen. > > Alle 3 schalten problemlos durch. Das Brummen kommt sicher über die > Steuerung. Diese scheint länger zum „abschalten“ zu brauchen wie > gedacht. OK, super! > Lasse ich den Finger etwas länger auf der Funktionstaste, kommt das > FA-Signal bis ca. 2 Sekunden. Der EPL braucht nur 1 Sekunde und danach > brummt es kurz mit 50 Hz. Doch etwas mehr als die irgendwo genannten 0,2 Sekunden. > Ich denke das fällt schon mal nicht ins Gewicht. Die Widerstände werden > auch nicht merklich warm. Bei 1 Sekunde reichen für R1/R4 auch 1/4W. Mehr schadet aber natürlich nicht. Schließlich der Vollständigkeit halber noch das Schaltbild zur Thyristor-Version mit 2x BT152 und 1x CNY74-2H (Achtung: dual statt quad) und entsprechend niederohmiger Dimensionierung der Widerstände. In meinem letzten Beitrag habe ich geschrieben "R2/R5 von Gate nach Kathode ...". Das muss natürlich heißen "R3/R6 von Gate nach Kathode ...", die nun als "NC" bezeichnet sind.
Ich habe eben mal den Schaltplan von meinem Steckboard geadlert. Ich denke keinen Fehler gezeichnet zu haben.
Mir scheint der Gatewiderstand viel zu gross. Selbst mit empfindlichen Thyristoren/Triacs werden die erst recht spät in der Halbwelle zünden. Grobe Berechnung: Spitzenspannung der Wechselspannung/max. zul. Dauerstrom des OK. Damit bist du immer noch auf der sicheren Seite (braucht man eh nur für den Fall, dass im Spannungsmaximum eingeschaltet wird). Mit den 1,5k wirst du wohl nicht deutlich mehr als 90° Stromflusswinkel haben. Äussert sich dann in unwilligem/langsamem Schalten des Antriebs. So aus dem Bauch würde ich 390 oder 470R sagen. Und beim Triac kommt dann noch eine gewisse Unsymmetrie hinzu Wie es tatsächlich ausssieht kann dir nur eine Oszi sagen. Entscheidend ist der Trigerstrom des Thyristors/Triacs.
Hallo ! Macht nicht zu viel Aufriss, letzendlich brauchen die Antriebe nur ordentlich durchschalten. SV3 (Stromverorgung) würde ich auf zwei, möglichst verschiedene Klemmen oder Buchsen aufteilen. Einmal falsch gesteckt, und Dein Empfänger ist sonst wieder Schrott. MfG
knollo schrieb: > Macht nicht zu viel Aufriss, letzendlich brauchen die Antriebe nur > ordentlich durchschalten. Vertue dich da mal nicht. Insbesonders bei Aussenanlagen (ist es eine?) braucht man oft genug alles, was der Antrieb hergeben kann.
knollo schrieb: > SV3 (Stromversorgung) würde ich auf zwei, > möglichst verschiedene Klemmen oder Buchsen aufteilen. Einmal falsch > gesteckt, und Dein Empfänger ist sonst wieder Schrott. Ist ein guter Tipp, mal sehen wie ich das mache. H.Joachim S. schrieb: > Insbesondere bei Außenanlagen (ist es eine?) braucht man oft genug > alles, was der Antrieb hergeben kann. Stimmt, bei Außenanlagen ist meist etwas Sand im Getriebe. Da gibt es schnell mal einen Klemmer! Geplant ist die Schaltung erst einmal für die Ausstellungsanlage welche ich aufbaue. [http://www.ig-thumer-netz.de/JPG/Veranstaltung/2016-Ver/2016_VH_17.jpg Meine Gartenbahn] Später möchte ich natürlich auch meine eigene Außenanlage damit steuern. Da kann ich ja die Dioden Matrix fest einlöten. So, ich muss bis nach Ostern nach BW arbeiten. :-( Will heißen mit Basteln am Abend ist Schluss. :-(
Moin, Moin Ich bin mal kurz zu Hause und habe was probiert und es lebt! Also die Schaltung habe ich etwas vereinfacht. Ein Widerstand vor allen Opto-LED und zwei Dioden für alles. Funktioniert gut muss ich sagen. Der eine oder andere EPL – Antrieb geht etwas schwerer. Das scheint zurzeit aber keine Rolle zu spielen. Bis ich mit meinen dicken Fingern die Taste des Senders losgelassen habe ist der Antrieb rum.
Enrico S. schrieb: > Also die Schaltung habe ich etwas vereinfacht. Ein Widerstand vor allen > Opto-LED ... Auch wenn die Optokoppler-LEDs bei 24V mit R4 = 1 kOhm (kurzfristig 0,5W) bei einem aktiven Kanal ganz schön befeuert sind, teilt sich der LED-Strom entsprechend auf, wenn du mehrere Weichenantriebe gleichzeitig bedienst (falls das geht). Die vorgeschlagene Verrieglung zweier Richtungen pro Antrieb geht dann natürlich auch nicht (wiederum falls die Fernsteuerung das zulässt). > ... und zwei Dioden für alles. Wie sicher die TRIACs bei gemeinsamen Dioden zünden, wenn du mehrere Weichenantriebe gleichzeitig bedienst, müsste man nachmessen. Dann ist D2 noch verkehrt herum gezeichnet (beim Aufbau aber offensichtlich richtig angeschlossen).
Die Anzahl der LED Widerstände habe ich in meiner 2. Versuchsschaltung wieder erhöht. Ein Widerstand pro Opto Paar müsste aber funktionieren. Weil es wird ja immer nur einer geschaltet. Eberhard H. schrieb: > Die vorgeschlagene Verrieglung Deine Idee ist nicht schlecht. Ich kann mir nur nicht vorstellen, dass diese Verrieglung mit der Dioden Matrix funktioniert. Die einzelnen Antriebe funktionieren so ganz gut. Über die Matrix hadert es dann ein wenig. Kann zu einem am Wackelkontakt der Steckschaltung liegen. Natürlich > wie sicher die TRIACs bei gemeinsamen Dioden zünden ein anderes Problem. Schade ist, ich habe heute nur keine Zeit mehr zum Probieren. Ich fahre nachher wieder nach BW. Wenn es die Zeit nächstes WE erlaubt probiere ich die Schaltung wieder mit mehreren Dioden. Ach so D2 ist ein Überrest von der Thyristorschaltung die erst da war. Werde ich gleich noch abändern.
Die Verrieglungschaltung muss ich mir mal in Ruhe ansehen. Habe doch nächste Woche am Abend Zeit für den Laptop. Das muss ich mir mal aufzeichnen und Dann lade ich das Ergebnis mal hoch.
Bei den LGB-Antrieben muss man nichts verriegeln. Es gibt ja keinen Kurzzschluss, sondern nur AC-Bestromung statt positiver oder negativer Halbwellen. Ok, die brummen dann schön vor sich hin. Aber kaputt geht nichts.
So ich habe mich mal hingesetzt und was gezeichnet. Eigentlich müsste ich im Garten werkeln. Die Verrieglungsschaltung ist bei meiner geplanten Diodenmatrix schon sinnvoll. Ich kann ja eine Diode verkehrt einstecken! Damit wäre eine Doppelbeschaltung ja möglich.
Ich hatte "elektronische Bauelemente" 1985 in der Lehre. Schon 'ne Weile her. Ich bin mir nicht mehr ganz sicher, ob ein Triac bei positiver Ansteuerung tatsächlich nur die positive Halbwelle schaltet und bei Ansteuerung mit der negativen Halbwelle nur diese "durchlässt". ich dachte, das Teil zündet komplett. Muss ich doch gleich nochmal nachlesen...
Trial gab's wohl eh keine zu kaufen, schlicht ausgelassen. Hehe, kein Wunder, das ich nicht zu100% im Bilde bin. Viele Grüße Axel
Ein Satz findet sich in meinem Lehrbuch: "Für die Leistungsstellung bei Wechselstromgeräten ist ein Thyristor wegen seiner Gleichrichterwirkung nicht geeignet. Deshalb werden symmetrische Thyristoren (Symistor, Triac) hergestellt, die in beiden Wechselstromhalbwellen Strom in unterschiedlicher Richtung führen können." Glaubt man dem Aufbau des im Buch dargestellten, so sollte der Triac bei positivem Zündimpuls BEIDE Halbwellen "bedienen". Offenbar ist dem nicht so. Ich werf mal Google an :) Gruß Axelr.
Google spuckt das aus: http://www.electronics-tutorials.ws/power/triac.html ...lassen sich im ersten Quadranten sowohl mit positivem, als auch mit negativem Zündimpuls Triggern... Aber langsam dämmert es mir. Im Nulldurchgang ist ja wieder Schluss mit lustig. Da die beiden Dioden im Steuerkreis ja nur dann Steuerstrom fließen lassen, wenn die Entsprechende Halbwelle "anwesend" ist, sollte das (Alpecin: In der Taat") funktionieren, in Abhängigkeit der Steuerspannungspolarität die gewünschte Halbwelle durchzusteuern, da im betrachteten Zeitraum nur diese vorhanden ist. machen Sie weiter, meine Herren :) Gruß Axelr.
Enrico, kannst Du mal ein Oszibild der letztlich an der Weiche anliegenden Spannung machen? mich würde interessieren, wie viel von der Halbwelle da ankommt, bzw. wann der Triac zündet.
Axel R. schrieb: > ...lassen sich im ersten Quadranten sowohl mit positivem, als auch mit > negativem Zündimpuls Triggern... Dann ist es aber nicht mehr erster Quadrant, sondern zweiter :-)
H.Joachim S. schrieb: > Axel R. schrieb: >> ...lassen sich im ersten Quadranten sowohl mit positivem, als auch mit >> negativem Zündimpuls Triggern... > > Dann ist es aber nicht mehr erster Quadrant, sondern zweiter :-) schon klar. im Bild waren bei jedem Quadranten symbolisch Batterien am gate. Mal so, mal so rum gepolt.
Axel R. schrieb: > ... ein Oszibild der letztlich an der Weiche > anliegenden Spannung machen? Ich habe kein Oszilloskop, da kann ich dir nicht helfen.
Ein Hallo an alle die mir bis jetzt geholfen haben!!! Ich habe mir heute wieder einmal Zeit für die Schaltung nehmen können. Basierend auf der Idee vom Eberhard habe ich diesen „einfachen“ Schaltplan ohne Diodenmatrix gezeichnet. Nun habe ich die Schaltung auf dem Steckbrett realisiert und es ging erst mal nix. Dann habe ich alles noch einmal auf Fehler überprüft und auch gefunden. Jetzt funktionieren ein EPL-Antrieb sehr gut und die anderen so lala. Dann habe ich einige Bauteile ausgewechselt. Nun Schalten alle EPL-Antriebe gut. Ich habe sogar 2 EPLer auf einen Anschluss ohne Probleme. MfG der Enrico
Hm, mein Schaltplan fehlte irgend wie???
Ein Hallo an alle, sorry, ich habe mich seit Monaten nicht gemeldet. Ich habe immer wieder probiert und auch jede Menge an Fehlern gemacht. Aber irgend wie funktioniert die Schaltung nicht so wie sie sollte! Ein paar Antriebe haben geschaltet, einige gar nicht. Andere haben nur gebrummt bzw. in eine Richtung geschaltet und in die andere gebrummt. Nur ???????! An den letzten beiden Wochenenden habe ich unter anderem hier im Forum nach Lösungen gesucht. Heute habe ich einen 43 Ohm Widerstand mit 1/8 Watt vor dem Triac Gate benutzt und 7 LGB Antriebe geschaltet. Das könnte die Lösung sein. Der Widerstand war zu groß. Die Spannung zum Gate hat jetzt 3,6 Volt (mit Multimeter gemessen). MfG der Enrico
Ein Hallo an alle, bin noch einmal da. Ich habe die Spannungsversorgung für meinen Receiver und den Optokoppler von 15 Volt mit 2 Amper auf 18 Volt und 1 Amper erhöht. Ohne Receiver (Funkempfänger) funktioniert die Schaltung nach meinen Eindruck gut. Mit Receiver habe ich wieder ein paar Fehler drin. Ich habe zu einem das Gefühl der Stromverbrauch der Optokoppler-LED ist zu hoch. Die andere Möglichkeit ist der Receiver lässt zu wenig Leistung zu. Beides ist auch möglich. Ich muss nachher wieder auf Montage nach Baden-Württemberg. Heute wird nicht mehr viel. MfG der Enrico
Bitte melde dich an um einen Beitrag zu schreiben. Anmeldung ist kostenlos und dauert nur eine Minute.
Bestehender Account
Schon ein Account bei Google/GoogleMail? Keine Anmeldung erforderlich!
Mit Google-Account einloggen
Mit Google-Account einloggen
Noch kein Account? Hier anmelden.




















