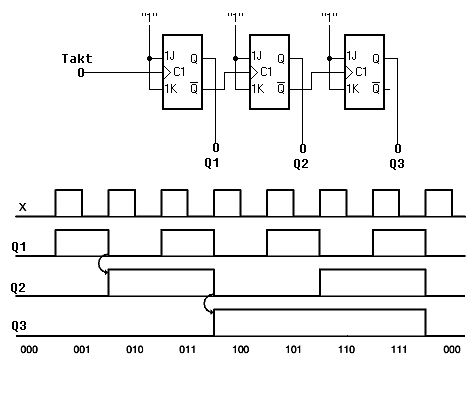
HI Im angehängten Bild ist die Zeitdarstellung einer getakteten Logikschaltung zu sehen. Mit welchem Programm kann man solche Darstellungen einfach erzeugen? Ich bin gerade am Entwickeln einer kleinen Schaltung, deren Ein/Ausgaänge ich erstmal grafisch zeitlich darstellen will. Die Optimierung und die Auswahl der Logikgatter erfolgt danach. Klar funktioniert Inkscape für sowas, aber ich bin mir sicher es gibt ein unkomplizierteres Diagrammtool genau für sowas. Denn die gibt es wie Sand am Meer. Danke schon mal!
Das ging schneller als gedacht. Danke! Besonders das mit dem Font finde ich gut.
Für Latex gibt es auch passende Pakete für Timing Diagramme. Z. B.: http://www.texample.net/tikz/examples/timing-diagram/ Auch UML kennt ein Timing Diagramm (das zwar mehr darstellen kann als nur Binär). Ein UML Tool kann also auch dafür herhalten. https://www.uml-diagrams.org/timing-diagrams.html
In LaTeX sieht das etwas kompliziert aus, besonders wenn das Diagramm breiter wird. Aber schön, dass es geht. Es geht eben Alles in LaTeX.
Die Sache mit dem Font ist genial. Leider kann man den Font nicht direkt herunterladen. Man muss den mit einer Firmenemailadresse auf der Website anfordern. Freie Emailadressen werden nicht akzeptiert. Das Konzept ist aber schon viel älter und es gibt einen älteren TTF den man hier direkt runter laden kann: http://www.josephpalmer.com/etc-local/misc/xwave.zip
Die Frage ist doch, soll man das selber malen oder berechnen? Eigentlich lässt man sowas den Digitalsimulator ausrechnen und printen.
Bitte melde dich an um einen Beitrag zu schreiben. Anmeldung ist kostenlos und dauert nur eine Minute.
Bestehender Account
Schon ein Account bei Google/GoogleMail? Keine Anmeldung erforderlich!
Mit Google-Account einloggen
Mit Google-Account einloggen
Noch kein Account? Hier anmelden.
