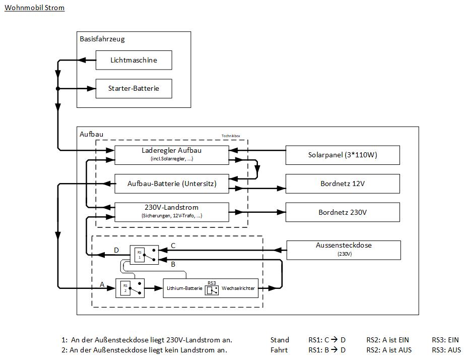
Hallo zusammen, wir haben uns in diesem Jahr ein Wohnmobil zugelegt. Damit wir mehr als eine Nacht autark (ohne 230V-Anschluß) stehen können, ist die verbaute Bleibatterie mit 100Ah zu klein bemessen. Der Hersteller TRIGANO erlaubt auch nicht, eine 2.Aufbaubatterie oder eine Lithiumbatterie (LIFEPO4) einzusetzen. Zumindest nicht während der Garantie. Also habe ich mir Gedanken gemacht, wie ich zu mehr Strom komme, um auch mal den Fön oder die Klimaanlage (kurze Zeit) zu betreiben. Im Screenshot sieht man die zusätzlichen Komponenten RS1, RS2, RS3, Lithium-Batterie, Wechselrichter. RS1 schaltet 230V ~, daher sollte ich hier wohl ein Relais verwenden. RS2 und RS3 schalten 12V (max.ca.120A). Kann ich hier MOSFETs ala irf4905 (je 4 Stück parallel) oder sollte ich auch hier besser Relais verwenden? Grüße aus Oberhausen Uli
Was spricht gegen einen von diesen Mini Stromerzeugern? Hab glaub ich bei Hornbach am Centro einen gesehen der etwa so gross war wie ein Pilotenkoffer. Kann Dir nicht sagen was der tatsächlichzu leisten vermag.. nicht viel vermute ich.. (2kW meine ich im Kopf zu haben) aber fönen wird drin sein.. und mal im Sommer ne stunde die Bude runterkühlen mit Hilfe von der Batterie könnte auch fast drin sein. noch ne Stunde laufen lassen und die Batterie kann sich erholen ...
Ja, daran haben wir auch schon gedacht, ist aber mit 53dB bei 7 Metern definitiv zu laut. Auch Gasgeneratoren sind zu laut. Auch über Brennstoffzelle, ist aber noch zu teuer und zu schwach. Mit einer 150Ah LIFEPO4 oder größer könnten wir ca. 4-5 Tage autark stehen und auch für ca. 45 Minuten je Tag die Klima auf Vollast laufen lassen. Beim Fahren ist die Batterie / Akku dann schnell wieder voll.
Anschlüsse : 3 x USB 2100 mA, 2 x 6 mm & 1 x Kfz-Buchse 12 V 10000 mA, 12 V Powerpole Buchse 30000 mA, 3 x Netzsteckdose 230 V - 1200 / 1500 W Dauer-/Spitzenleistung Ladezeit: Netzteil 18 h, Kfz ca. 44 h, 2 x Boulder 30 Solarpanel 40 - 80 h https://www.conrad.at/de/p/goal-zero-yeti-1250-powerstation-blei-vlies-agm-100000-mah-23002-1359740.html
ALTA 12V Powerpole mit DREISSIG MILLIONEN MIKROAMPERE! Superskilled oder was? Warum nicht gleich DREISSIG BILLIARDEN FEMTOAMPERE, sind noch mehr Nullen, und Femto hört sich auch viel geiler an wie Milli. Boah, wie ich solche Angaben hasse.
Ulrich W. schrieb: > Ja, daran haben wir auch schon gedacht, ist aber mit 53dB bei 7 Metern > definitiv zu laut. Auch Gasgeneratoren sind zu laut. Nee, die gibts auch in (fast absolut) lautlos. Hondas I-Serie zB Aber am Besten ist der T-Gen von torcman ;) Hier mal ein Derivat davon... http://www.avantivaganti.de/thermobilader/tml12-20-easy/
Jens M. schrieb: > ALTA 12V Powerpole mit DREISSIG MILLIONEN MIKROAMPERE! > Superskilled oder was? > Warum nicht gleich DREISSIG BILLIARDEN FEMTOAMPERE, sind noch mehr > Nullen, und Femto hört sich auch viel geiler an wie Milli. > > Boah, wie ich solche Angaben hasse. Geht mir mit allen deinen Beiträgen genauso.
Krabat schrieb: > Jens M. schrieb: >> Boah, wie ich solche Angaben hasse. > > Geht mir mit allen deinen Beiträgen genauso. +10
Jens M. schrieb: > Wie kann 150Ah 5 Tage reichen, 100Ah aber nur knapp eine Nacht? Ich könnte mir vorstellen, dass die 100 Ah Batterie eine Bleibatterie ist, deren Kapazität man zugunsten der Lebensdauer nur zu max. 50 % nutzen kann. Während man bei der LIFEPO4 nahezu die gesamte Kapazität nutzen kann. Die Rechnung geht so allerdings immer noch nicht ganz auf.
Dicke USV mit Tiefentladescchutz und mit dickem Akku, während der Fahrt an der Bordsteckdose laden und über den Einspeisestecker ins Bordnetz einspeisen. einwenig von hinten durch die Brust ins linke Auge, aber: Kein Eingriff aber leise. wen du den piepser deaktivierst Lifte Machen damit Evakuierungsfahrt bei Netzausfall. Namaste
Stefan L. schrieb: > Ich könnte mir vorstellen, dass die 100 Ah Batterie eine Bleibatterie > ist, deren Kapazität man zugunsten der Lebensdauer nur zu max. 50 % > nutzen kann. Während man bei der LIFEPO4 nahezu die gesamte Kapazität > nutzen kann. Die Rechnung geht so allerdings immer noch nicht ganz au weil die Volt angabe fehlt ;) ein 150Ah block kann ja auch 48V haben statt der 12V Autobatterie.. damit wären das dann 7.2kWh entgegen der 1.2kWh von der Bleibatterie. und es kommt ungefähr hin. Aaaber.. von der Gewichtseffizienz sind leider leider leider Verbrennungsmotoren immernoch unschlagbar. geneuergesagt Ihre Energiezellen. (Energiedichte bei Benzin/Diesel ggü der Energiedichte von Akkus) Wenn es also um reine Betriebsdauer geht, kommt man um einen Stromerzeuger nicht drumrum fürchte ich.
Winfried J. schrieb: > Lifte Machen damit Evakuierungsfahrt bei Netzausfall. Ich dachte immer, das geht nach deem Motto: "Runter kommen sie immer". :-)
Deine zwei "Sonderwünsche" benötigen sehr viel Strom. Ohne die obligatorischen Verluste liegen die Arbeitsströme um einen Faktor 20 höher als im 230V Netz. Ein Fön mit z.B. 500W genehmigt sich schon einmal satte 41 Ampere aus der Batterie. Jeder Elektriker weis, dass dafür keine normale Batterie geeignet ist. Die Zuleitungen werden bei der Gelegenheit auch gleich richtig dick oder zur Heizung.
Ulrich W. schrieb: > Der Hersteller TRIGANO erlaubt auch nicht, eine 2.Aufbaubatterie > oder eine Lithiumbatterie (LIFEPO4) einzusetzen. Zumindest nicht > während der Garantie. Die beste Lösung ist diese zu ignorieren und sich eine größere Batterie besorgen und parallel ranhängen.
Keine Geräte mit Heizleistung an die Batterie Solarzelle auf dem Dach (Bringt bei diesem Wetter wenig) Laderegler und neue (ev. Lithium) Batterie autark vom vorhandenen System. Mit meiner Kühlbox (Kompressor) und einer 95 Ah Bleibatterie klappt das auch bei diesem Wetter. Gruss Bernd
>Die beste Lösung ist diese zu ignorieren und sich eine größere Batterie >besorgen und parallel ranhängen. Hüte Dich vor solchen Ratschlägen! Die Chance, dass der Ladestrang bei "Überlast" das zeitliche segnet, ist relativ groß. Ich gehe mal davon aus, dass das auch der Grund für das Erweiterungsverbot ist. Eine Batterieanlage sollte aus einem Guss sein. Also das Ladegerät sollte von vornherein zu den Batterien passen. Hat natürlich der Hersteller einen gigantischen Jahresgewinn, so kann es sein, dass er auch ein Ladegerät für die doppelte Last einbaut. Und natürlich auch alles andere entsprechend dimensioniert. Über diese Wahrscheinlichkeit sollte jeder selbst mal sinnieren.
Amateur schrieb: > Die Chance, dass der Ladestrang bei "Überlast" das zeitliche segnet, ist > relativ groß. Wenn man vor sowas Angst hat, kann man ja für den Ladebetrieb noch einen 1 Ohm Widerstand vor die Zusatzbatterie machen. Damit wäre der Ladestrom auf 5 A begrenzt (bei 15 V Ladespannung und 10 V Batteriespannung). Beispielrechnung - Werte anpassbar.
sid schrieb: > Was spricht gegen einen von diesen Mini Stromerzeugern? wer autark stehen will, möchte es doch bestimmt auch ruhig haben. Die meisten WoMo's sind übrigens auch schon ohne solcherlei Spielereien überladen.
Ulrich W. schrieb: > Der Hersteller TRIGANO erlaubt auch nicht, eine 2.Aufbaubatterie > oder eine Lithiumbatterie (LIFEPO4) einzusetzen. Zumindest nicht > während der Garantie. Wie ist das gemeint? Eine andere Batterie, die parallel geladen wird? Was hat das mit der Garantie zu tun? Du kannst doch so viele geladene Batterien mitnehmen, wie Du willst, oder nicht? Und wenn Du wieder irgendwo hin kommst wo 230V vorhanden sind, lädst du die alle wieder auf... Ich verstehe das Problem nicht so richtig.
Berbog schrieb: > (Bringt bei diesem Wetter wenig) Bei dem Wetter braucht er auch keine Klimaanlage Siehe: Ulrich W. schrieb: > und auch für ca. 45 Minuten je Tag die Klima auf Vollast laufen > lassen
Was bei allen Vorschlägen nicht berücksichtigt ist: Die Womos haben oft nur sehr begrenzte Zuladung (Zul. Gesamtgewicht - Leergewicht) Insofern sollte man bei allen Lösungen immer auch das Gewicht im Auge haben.
Udo S. schrieb: > Was bei allen Vorschlägen nicht berücksichtigt ist: Die Womos haben oft > nur sehr begrenzte Zuladung (Zul. Gesamtgewicht - Leergewicht) Insofern > sollte man bei allen Lösungen immer auch das Gewicht im Auge haben. Ahem! sid schrieb: > Aaaber.. von der Gewichtseffizienz sind leider leider leider > Verbrennungsmotoren immernoch unschlagbar. > geneuergesagt Ihre Energiezellen. > (Energiedichte bei Benzin/Diesel ggü der Energiedichte von Akkus) > > Wenn es also um reine Betriebsdauer geht, kommt man um einen > Stromerzeuger nicht drumrum fürchte ich.
Interessant ist auch: da werden sich rollende Unterkünfte für zigtausende angeschafft, aber man drückt sich bisweilen über mehrere Tage hinweg auf irgendwelchen Parkplätzen ohne jeglichen Komfort herum. In in meiner "noch Touri Region" kurz vor der Nordsee sehe ich das regelmässig.
● J-A V. schrieb: > da werden sich rollende Unterkünfte für zigtausende angeschafft, > aber man drückt sich bisweilen über mehrere Tage hinweg auf > irgendwelchen Parkplätzen ohne jeglichen Komfort herum. Den Komfort hat man doch dabei. Ein Wohnmobil lässt heutzutage keine Wünsche offen.
zum Komfort zähle ich auch die Gegend in der man steht. Was soll man auf 'nem Parkplatz rumkrebsen?
Stefan L. schrieb: > Den Komfort hat man doch dabei. Ein Wohnmobil lässt heutzutage keine > Wünsche offen. Als Wohnmobil kaum, aber Komfort ist mer als ein unbequemer warmer Schlafplatz auf Rädern. Namaste
Der Hautkomfort liegt in einen Bett in dem außer mir noch niemand Dinge getan hat, die ich nicht wissen möchte. Wer gern in fremden Betten schläft fühlt sich im Hotel vielleicht ganz wohl geht mir aber nicht so. Dazu kommt meine eigen Küche wo ich sehe was in den Kochtopf kommt und außer mir und meiner Frau keiner in die Suppe spuckt. Dazu kommen dann noch die Kleinigkeiten von Raumtemperatur oder Geruchsbelästigung und bei störenden Lärm kann man einfach wegfahren. Im Sommer recht autark zu sein ist schon ein gewisser Luxus, allein sein zu können sogar noch ein viel größerer. MfG Michael
Eigentlich fast wie bei mir, nur hat mein Haus keineo Räder da es am schönsten Ort steht, den ich mir denken kann. Statt dessen hat es schon über 10 Generationen ein Heim gegeben und das Bett ist selbst gebaut in diesem Jahr. Namaste
Ulrich W. schrieb: > Beim Fahren ist die Batterie / Akku dann schnell wieder voll. 150Ah mit 15A in 14h? Da wirst Du viele Kreise über den Zeltplatz fahren? Einfacher wäre ein leises Honda-Aggregat (was auch leise ist, solange es nicht mit Volllast laufen muß).
Rudi Radlos schrieb: > 150Ah mit 15A in 14h? Da wirst Du viele Kreise über den Zeltplatz > fahren? ● J-A V. schrieb: > Gröhl mal mit nem Aggi auf dem Campingplatz herum. Ich bin kein Camper, aber m.W. hat man am Campingplatz i.d.R. Steckdosen.
Auf Campingplätzen besteht auch eher kein Notwendigkeit Autark zu sein höchstens die Motivation nicht dauern 0,5€ oder noch mehr für den Strom zu bezahlen. MfG Michael
Wenn ich auf einem Campingplatz oder Wohnmobilstellplatz stehe, brauche ich nicht autark stehen, dann hängt das WoMo am Landstrom. Mir geht es um Ruhe, die Abendsonne geniessen, und morgens, wer weiss, von ein paar blökenden Kühen in 500m Abstand geweckt zu werden. Die Betten sind nicht unbequem, sondern sind durch andere Matratzen (3D Schaum) so bequem wie jedes handelsübliche Bett. Das Leergewicht liegt bei 2820 kg incl. Fahrer (75kg) und sämtlichen Flüssigkeiten. Das liegt daran, das alle Aussenwände aus 53mm GFK gefertigt sind und alle Innenwände aus Leichtbauplatten bestehen. Diese haben übrigens eine enorme Festigkeit. Die Rechnung mit ca. 4 Tage bei 150Ah geht übrigens auf, denn der Energie- bedarf schwankt je Tag und Nacht erheblich. Hier kann eh nur geschätzt werden. Für die Umschaltung (s.o.)... Soll ich nun Hochstrom-Relais nehmen oder reicht die Umschaltung im 12Volt- Kreis mit MOSFET's? Einen kleinen MC ala ATMEGA328P oder ähnlich werde ich sowieso dafür einsetzen, da ich auch eine Fernschaltung bzw. ein Display einbauen möchte. Grüße aus Oberhausen. Uli PS: Mit ging es auf den Keks, das unter der "Küche" keine Schubladen verbaut waren, deshalb habe ich dort 4 Schubladen mit Vollauszug eingebaut.
sagen wir mal so.. das Honda Dingen da ist deutlich leiser als ne PKW Klimaanlage (WoMo k.A.) und auch leiser als mein Fön. und wenn es nur dafür laufen soll... versteh ich den Lärm-einwand immernoch nicht. Aber gut.. kein Hersteller kann Dir verbieten eine Starthilfebatterie mitzuführen.. Also ab zum Autoteile laden um die Ecke, ne 12V 150Ah Batterie gekauft, zwei Batterieterminals (schnellverschluss klemmen bieten sich hier an) und ein Satz Starthilfekabel. daraus bastelst Du Dir son' Starthilfepack wie die gelben Jungs das im Kofferraum haben und bei Bedarf klemmste das einfach an Deine bestehede Batterie an... glaub nicht dass der Hersteller dir dafür irgendwie ans Bein pinkeln könnte. ob das schlauer ist als das Honda Dingen wage ich zu bezweifeln, aber wenn Du ne Batterie willst, dann sollste auch eine haben ;)
sid schrieb: > 12V 150Ah Batterie gekauft, zwei Batterieterminals Üblicherweise achten Wohnmobilfreunde sorgfältig auf das Gewicht. 2x25kg?
Nachdem ein Onkel das 2. Mal einen Reifenplatzer hatte, bin ich mit ihm mal durchgegangen. kistenweise Wasser und Bier, 5 Bratpfannen. Viel zuviel Werkzeug und der Wassertank immer voll. Naja und ein Mofa sollte auch noch mit. solche Leute ha'm wirklich ein'n anner Fanne
Bitte melde dich an um einen Beitrag zu schreiben. Anmeldung ist kostenlos und dauert nur eine Minute.
Bestehender Account
Schon ein Account bei Google/GoogleMail? Keine Anmeldung erforderlich!
Mit Google-Account einloggen
Mit Google-Account einloggen
Noch kein Account? Hier anmelden.

