Moin Ich möchte den Wechsel Schalter einer Sitzheizung gegen einen Taster ersetzen. Aber dieses Mal mit rein analogen Mitteln ein uC wäre overkill. Der Ablauf: - Taster einmal gedrückt. Stufe low, eine LED geht an - Taster erneut gedrückt. Stufe high, zweite LED geht an - Taster erneut gedrückt, Off, beide LEDs off Ich komme im Moment nicht dahinter wie das mit analogen Bauteilen zu lösen. Erster Ansatz wäre ein (mehrpoliges) Relais welches beim ersten Druck in Selbsthaltung geht. Beim zweiten Tastendruck zieht dann das zweite an. Tja jetzt klemmts zwischen den Ohren weil zum Lösen der Selbsthaltung bräuchte ich einen zweiten Taster. Bessere Ideen? [Mod: bitte für Aufzählugen ein Aufzählungszeichen verwenden. Sonst dieht das auf Mobilgeräten recht übel aus]
:
    Bearbeitet durch Moderator
  
  Philipp G. schrieb: > Bessere Ideen? Ja, ein uC. uC ist für Dich Overkill, aber an den Einsatz von Relais denken, mal abgesehen davon was sonst noch alles so nötig ist?
Jörg R. schrieb: > Philipp G. schrieb: > >> Bessere Ideen? > > Ja, ein uC. > > uC ist für Dich Overkill, aber an den Einsatz von Relais denken, mal > abgesehen davon was sonst noch alles so nötig ist? Ja aber bei den Strömen brauch ich sowieso ein Relais (oder FETs). @mod: Ja danke habe das mehrmals versucht zu editieren der Zeilenumbruch klappt nicht.
:
    Bearbeitet durch User
  
  Philipp G. schrieb: > Jörg R. schrieb: >> Philipp G. schrieb: >>> Bessere Ideen? >> >> Ja, ein uC. >> uC ist für Dich Overkill, aber an den Einsatz von Relais denken, mal >> abgesehen davon was sonst noch alles so nötig ist? > > Ja aber bei den Strömen brauch ich sowieso ein Relais (oder FETs). Nimm einen CD4017 und Mosfets, die kann er direkt ansteuern. Ein Attiny85 wäre allerdings kleiner.
Philipp G. schrieb: > Ich möchte den Wechsel Schalter einer Sitzheizung gegen einen Taster > ersetzen. Welchen Wechselschalter? Welche Schaltstellungen hat der und was wird damit wie geschaltet? > Aber dieses Mal mit rein analogen Mitteln ein uC wäre overkill. Was willst du an einer im Grunde grundlegend digitalen Aufgabe analog lösen? Wieviel Mehraufwand ist dir eine analoge Lösung wert? Philipp G. schrieb: > Ja aber bei den Strömen brauch ich sowieso ein Relais (oder FETs). Mag sein, aber wenn du da irgendwas "analog" lösen willst und 30 Bauteile dafür brauchst, dann ist ein 8-Pin µC trotzdem die einfachere Lösung.
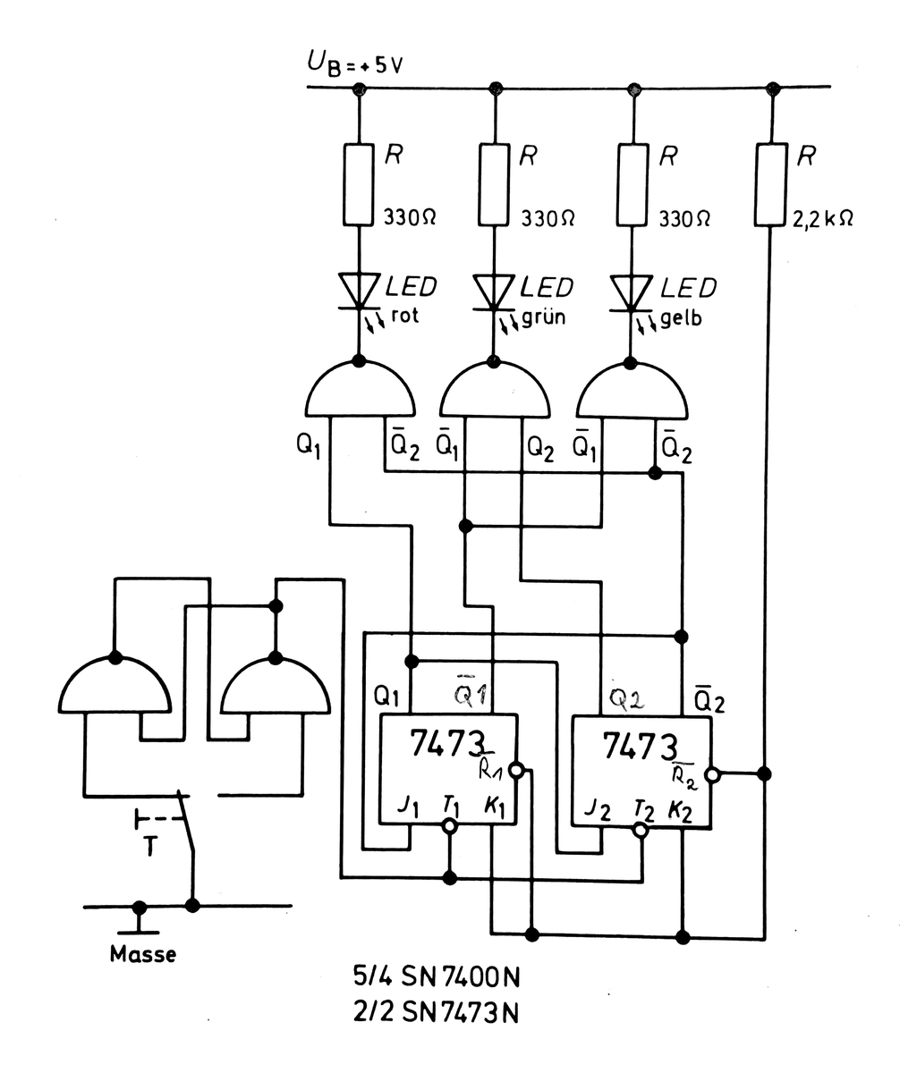
Philipp G. schrieb: > Der Ablauf: > - Taster einmal gedrückt. Stufe low, eine LED geht an > - Taster erneut gedrückt. Stufe high, zweite LED geht an Ganz so einfach ist das von der Logik her gar nicht. Du drückst z. B. 100 ms lang, dann zieht Relais 1 an, das braucht dafür z. B. 5 ms. Danach sieht deine Schaltung wegen der 100 ms einen weiteren Tastendruck, obwohl es noch der erste ist ... Kann man analog machen, klar. Mit einem 1-Euro-µP geht es aber einfacher und du brauchst keine Messmittel, um die analogen Signalverläufe/Verzögerungszeiten zu kontrollieren.
:
    Bearbeitet durch User
  
  Philipp G. schrieb: > Ich komme im Moment nicht dahinter wie das mit analogen Bauteilen zu > lösen. Sicher nicht analog, sondern digitale IC wie FlipFlop. Die Schaltung hängt ein bisschen davon ab, ob 2 unterschiedliche Ausgänge alternativ geschaltet werden
1  | 1 __--__  | 
2  | 2 ____--  | 
oder ein Ausgang ein und der zweite dazugeschaltet werden soll.
1  | 1 __----  | 
2  | 2 ____--  | 
Das Problem ist das Entprellen der Taster, denn digitale Elektronik ist zu schnell. Man braucht also ein 74HC76 als dual JK FlipFlop und einen 74HC14 zur Tastenentprellung. Eine Lösung mit nur 1 IC (NE556) fällt mir nicht ein.
Ja ihr habt ja Recht. Relais werde ich so oder so verwenden ich möchte das galvanisch getrennt habe da soll ,niemand’ was mit bekommen. Das Fahrzeug sieht nur einen elektro mechanischen Schalter. Zum Thema uC hätte den Vorteil dass bei Stufe low ich erstmal für 5 Min gleich auf high schalten würde und dann erst auf low damit es schneller warm wird. Was mir daran widerstrebt ist die Tatsache dass das Ding ständig Strom zieht nur um auf einen Tastendruck zu warten der es den ganzen Sommer über nie geben wird. @labberkopp tschuldige hab deinen Beitrag zu spät gesehen. Was meinst digitale Elektronik ist zu schnell?
:
    Bearbeitet durch User
  
  Nimm einen Kippschalter mit Mittelstellung und 2 Relais.
Taster entprellen (R-C + Schmitt-trigger) -> 4017 Q0 ist aus, Q1 Stufe 1 -> Treiber (FET) -> Relais 1 Q2 Stufe 2 -> Treiber (FET) -> Relais 2 Q3 mit Reset verbinden -> Q0 Viel Spaß Gruß Jobst
Jörg R. schrieb: > Nimm einen Kippschalter mit Mittelstellung und 2 Relais. Der ist serie drin. Diesen will ich ja ersetzen. Und es sind zwei verschiedene Ausgänge (entweder low oder high aber nicht beide zusammen @michael). Ich muss jetzt noch die anderen Ideen anschauen ihr seid mir fast bisschen zu schnell. Ich will nicht nur doof antworten sondern auf das Geschriebene auch eingehen. Das Finder Ding schau ich mir an.
Jobst M. schrieb: > Q0 ist aus, > Q1 Stufe 1 -> Treiber (FET) -> Relais 1 > Q2 Stufe 2 -> Treiber (FET) -> Relais 2 > Q3 mit Reset verbinden -> Q0 Korrektur: Q0 ist aus -> Inv. Treiber (FET) -> Relais 1 Q1 Stufe 1 Q2 Stufe 2 -> Treiber (FET) -> Relais 2 Q3 mit Reset verbinden -> Q0 Gruß Jobst
Philipp G. schrieb: > Was mir daran widerstrebt ist die Tatsache dass das Ding ständig Strom > zieht nur um auf einen Tastendruck zu warten der es den ganzen Sommer > über nie geben wird. Wenn man es richtig macht reden wir hier über einen Ruhestrom von <1uA?
Philipp G. schrieb: > Was mir daran widerstrebt ist die Tatsache dass das Ding ständig Strom > zieht nur um auf einen Tastendruck zu warten der es den ganzen Sommer > über nie geben wird. Warum soll das Ding ständig Strom ziehen? Der uC kann ständig im Sleep sein und muss nur durch den Tastendruck geweckt werden. Die Stromaufnahme im Sleep kannst du in Relation zur Selbstentladung der Batterie vergessen. Fahrzeugherstellern fordern für diesen Zustand Werte von <100uA.
:
    Bearbeitet durch User
  
  Philipp G. schrieb: > Jörg R. schrieb: >> Nimm einen Kippschalter mit Mittelstellung und 2 Relais. > > Der ist serie drin. Diesen will ich ja ersetzen. Warum? Zu simpel? Zu sicher? Weshalb galvanische Trennung..im Auto? Oder geht es bei Sitzheizung nicht um ein Auto? Jobst M. schrieb: > Taster entprellen (R-C + Schmitt-trigger) > -> 4017 > Q0 ist aus, > Q1 Stufe 1 -> Treiber (FET) -> Relais 1 > Q2 Stufe 2 -> Treiber (FET) -> Relais 2 > Q3 mit Reset verbinden -> Q0 👍 Jörg R. schrieb: > Nimm einen CD4017 und Mosfets, die kann er direkt ansteuern. Ein > Attiny85 wäre allerdings kleiner.
:
    Bearbeitet durch User
  
  Philipp G. schrieb: > Was mir daran widerstrebt ist die Tatsache dass das Ding ständig Strom > zieht Hast Du mal ins Datenblatt geschaut, was z.B. ein ATtiny13A im Powerdown so verschlingt? Und 5V Regler mit <1µA gibt es auch reichlich.
H. H. schrieb: > Finder 26.06.... https://www.tme.eu/de/details/26.06.8.012.0000/installationsrelais/finder/
H. H. schrieb: > https://www.tme.eu/de/details/26.06.8.012.0000/installationsrelais/finder/ Die Verwendung für eine Sitzheizung spricht ja für Einbau in ein KFZ? Ob da ein Relais mit Spule für AC die richtige Wahl ist?
H. H. schrieb: > Finder 26.06.... Grundsätzlich genial einfache Lösung! Nur sind die Relais der Baureihe 26.06 alle mit AC Spulen ausgelegt. Ob die auch mit 12Volt DC klarkommen? Bei nur kurzzeitiger Betätigung.....
Puh, ich dachte ich wäre der einzige der nicht ins DaBla geschaut hat.
H. H. schrieb: > Funktioniert auch ab 9VDC. Mein Fehler, hatte nur das Übersichtsblatt gelesen. Bei dem DC Zusatzmodul handelt es sich dann vermutlich um eine simple Diode? Oder ist in dem Kästchen noch mehr drin?
Thomas R. schrieb: > H. H. schrieb: >> Funktioniert auch ab 9VDC. > > Mein Fehler, hatte nur das Übersichtsblatt gelesen. Bei dem DC > Zusatzmodul handelt es sich dann vermutlich um eine simple Diode? Oder > ist in dem Kästchen noch mehr drin? Widerstand, und parallel dazu Elko.
H. H. schrieb: > H. H. schrieb: >> Finder 26.06.... > > https://www.tme.eu/de/details/26.06.8.012.0000/installationsrelais/finder/ https://asset.conrad.com/media10/add/160267/c1/-/en/000506066DS00/datenblatt-506066-stromstoss-schalter-unterputz-finder-260280120000-2-schliesser-12-vac-10-a-2500-va-1-st.pdf Also bei einem Impuls leuchtet lampe 1 und bei zweiten Lampe 2 und beim dritten Aus? edit: ja, aber ich habe getrennte Schaltkreise entweder low oder high. Aber dann würde ich mir so behelfen dass bei Stufe high low über ein Zusatzrelais mittels Ruhekontakt abgeschaltet wird. Und damit es DC kann baue ich mir den Zusatz Kasten selber mit einem C und R?
:
    Bearbeitet durch User
  
  Philipp G. schrieb: > Moin > > Ich möchte den Wechsel Schalter einer Sitzheizung gegen einen Taster > ersetzen. > > Aber dieses Mal mit rein analogen Mitteln ein uC wäre overkill. > > Der Ablauf: > - Taster einmal gedrückt. Stufe low, eine LED geht an > - Taster erneut gedrückt. Stufe high, zweite LED geht an > - Taster erneut gedrückt, Off, beide LEDs off Die Automobilindustrie nimmt dafür passende Taster. So einen z.B. https://www.digikey.de/de/products/detail/judco-manufacturing-inc/50-0119-00/22077923 1* drücken: A an 2* drücken: B an 3* drücken: A und B aus. alles rein mechanisch
Habe jetzt mal nach geschaut jetzt klemmt es wieder zwischen den Ohren. Der Anfang ist einfach. Die control unit bekommt Strom über die Batterie, sobald Zündung an ist (relais), 18 hat plus 12V. 21 hat dauerhaft Masse. Stufe low: 80 und 81 bekommen Strom, einer davon über einen Widerstand. Stufe high: 81 bekommt Strom, 80 wird auf Masse gelegt. Hiesse für mich mit dem Finder Relais: Click 1 bestromt 80 und 81, click 2 ein weiteres Relais welches 80 auf Masse legt. Richtig?
:
    Bearbeitet durch User
  
  Michael B. schrieb: > Man braucht also ein 74HC76 als dual JK FlipFlop und einen 74HC14 zur > Tastenentprellung. Mit einem Dual-JK-Master-Slave-FlipFlop (74HC73) klappt's aber auch (nur 14 Pins). Die zusätzlichen Setzeingänge werden ja sowieso nicht benötigt. Ich gebe aber zu, dass ein CD4017 mit einem RC-Glied als Magerentprellung einfacher ist, zumal der CD4017 direkt 12V verträgt.
Enrico E. schrieb: > zumal der CD4017 direkt 12V verträgt. Guck dir mal die Beschaltung der Versorgungsspannung für KFZ an... Dein JK-FF könnte bereits beim ersten Mal sterben, flattern wird es eh immer wahllos... wenn man es so macht wie beschrieben... Guckst du: http://www.dse-faq.elektronik-kompendium.de/dse-faq.htm#F.23 https://www.mikrocontroller.net/attachment/113036/KFZ-Stabi.PNG Das ist alles nicht mal so eben. Mechanisch rein als Tastwähler oder elektromechanisch mit einem externen Taster ist die beste Lösung für Leute die eher Anfänger bei der Elektrik sind...
:
    Bearbeitet durch User
  
  Ernsthaft Ruhestromproblem bei einer Sitzheizung? Die eh nur laufen sollte, wenn nicht nur die Zündung an ist, sondern auch der Motor läuft? (Verbrenner vorausgesetzt). Das lässt sich mit einem Mikrocontroller wesentlich einfacher umsetzen, plus maximaler Komfortgewinn: - Autoboost: Nach eintasten 5 Minuten Stufe 2, dann runter auf Stufe 1. - Memory: schaltet sich bei erneutem Fahrzeug-Start nicht wieder ein, oder, wenn man z.B. 5 Sekunden drückt eben doch - Autooff: geht nach 20 Minuten wieder aus. Und noch mehr wäre denkbar, z.b. Autoon bei kaltem Wetter, verzögertes Einschalten um die Batterie zu schonen, Leistungsstellung via PWM/Taktung weil "Stufe 2 ist mir zuviel" und und und. You name it, you program it. Stromversorgung via zerfrickeltem Handy-USB-Stecker sollte alles KFZ-mäßige erledigen, Steuerung mit einem Arduinoboard, ne hand voll Code und fertig.
Philipp G. schrieb: >> Nimm einen Kippschalter mit Mittelstellung und 2 Relais. > > Der ist serie drin. Diesen will ich ja ersetzen. Die bestehende Lösung soll also Zerfektioniert werden.
Philipp G. schrieb:
> IMG_0020.jpeg
Hättest mal gleich die ganze Salami gezeigt.
  Jens M. schrieb: > Ernsthaft Ruhestromproblem bei einer Sitzheizung? > Die eh nur laufen sollte, wenn nicht nur die Zündung an ist, sondern > auch der Motor läuft? (Verbrenner vorausgesetzt). > Das lässt sich mit einem Mikrocontroller wesentlich einfacher umsetzen, > plus maximaler Komfortgewinn: > > Autoboost: Nach eintasten 5 Minuten Stufe 2, dann runter auf Stufe 1. > Memory: schaltet sich bei erneutem Fahrzeug-Start nicht wieder ein, > oder, wenn man z.B. 5 Sekunden drückt eben doch > Autooff: geht nach 20 Minuten wieder aus. > > Und noch mehr wäre denkbar, z.b. Autoon bei kaltem Wetter, verzögertes > KFZ-mäßige erledigen, Steuerung mit einem Arduinoboard, ne hand voll > Code und fertig. Ja plus Überwachung der Spannung. Nun musst mir noch erklären wie man einen Arduino Nano dazu zu bringt weniger als 5mA zu ziehen? Selbst bei sleep, Taktung runter und onboard Leds auslöten.
Philipp G. schrieb: > Nun musst mir noch erklären wie man einen Arduino Nano ... Nein. Ich erkläre dir lieber, daß man dazu keinen Arduino nano verwendet. Tip: es gibt nicht deswegen so viele verschiedene µC am Markt, weil den Herstellern langweilig war. Und sagt dir eigentlich das Adjektiv "automotive" etwas?
Philipp G. schrieb: > wie man einen Arduino Nano dazu zu bringt > weniger als 5mA zu ziehen? Ich würde einfach einen Attiny13 nehmen und über USB versorgen. Dann entfällt der 5V Regler + Schutzschaltung.
Philipp G. schrieb: > Nun musst mir noch erklären wie man einen Arduino Nano dazu zu bringt > weniger als 5mA zu ziehen? Selbst bei sleep, Taktung runter und onboard > Leds auslöten. Auf dem Foto des Nano im offiziellen Arduino Store sieht man einen 328P auf der Platine. Das 'P' steht für 'Picopower'. Wenn man LED und Wandler vorsichtig wegknipselt, braucht der im Deep Sleep nur ca. 1 µA. Geht genauso beim Arduino Pro Mini.
Philipp G. schrieb: > Ja plus Überwachung der Spannung. Irgendwie werde ich hier nicht schlau - kannst du mal vernünftig beschreiben, was genau vorhanden ist und was genau du eigentlich nun möchtest? Stichwort https://de.wikipedia.org/wiki/Lastenheft Nimmst du nun das Finder Relais oder gehts nun weiter mit etwas Arduino Gefrickel oder...? H. H. schrieb: > Hättest mal gleich die ganze Salami gezeigt. Anscheinend ist hier noch gar nicht klar ob Wurst oder doch Käse wird, da braucht man sich um die Wurstsorte noch lange keine Gedanken machen... Momentan sieht hier alles eher nach Käse aus...
:
    Bearbeitet durch User
  
  Philipp G. schrieb: > Nun musst mir noch erklären wie man einen Arduino Nano dazu zu bringt > weniger als 5mA zu ziehen? Selbst bei sleep, Taktung runter und onboard > Leds auslöten. Man braucht keinen Nano, ein ProMini reicht. Und "Weniger als 5mA" ist kein Problem, denn der läuft nur wenn die Zündung an ist und sofern vorhanden der Generator läuft. Moderne Fahrzeuge haben durchaus 2-3stellige mA als Ruhestrom, wenn sie abgeschlossen auf dem Hof stehen, für Stunden, wenn nicht dauerhaft, ohne einen Defekt. Da machen selbst 50mA während der Motor läuft genau gar nichts. Axel S. schrieb: > Und sagt dir eigentlich das > Adjektiv "automotive" etwas? Ach komm. Ein Arduinoboard kann auch ohne die tolle Software benutzt werden, ein bastelfähiges Mikrocontrollerboard mit Quarz und Programmierschnittstelle für 3€, das kann man durchaus nehmen. Und Automotive muss es nu wirklich nicht sein, für einen selbstgefrickelten Sitzheizungssteuerer. Die Chips tun es problemlos auch bei Minusgraden und der übliche Resonator hat auch kein Problem mit Frost. Gegen Tau sollte man den Kram vielleicht einmal mit Plastik 70 übersprühen, aber ansonsten tut was man bei ebay kaufen kann. Denn wenn du dieses Fass aufmachst, brauchts du auch jemanden, der die Frickelei mit einer e-Nummer versieht, ne? Peter D. schrieb: > Ich würde einfach einen Attiny13 nehmen und über USB versorgen. Yep. Arduinos sind aber einfacher zu programmieren, wegen des Bootloaders. Rein preislich jetzt, für Einzelstücke. Wenn man einen "richtigen" Progger hat sieht das evtl. anders aus. Rolf schrieb: > Wenn man LED und Wandler > vorsichtig wegknipselt, braucht der im Deep Sleep nur ca. 1 µA. Wo-f*ing-zu? Um auf 10 Millionen Kilometer eine Tasse Benzin zu sparen? Sitzheizungen verbrauchen so viel Strom, das Betrieb ohne Zündung/Generator sinnlos oder gar gefährlich ist. Alle OEM- und Kaufteile laufen erst wenn Karre an, egal ob fest verbaut oder am Ziggy-Stecker. Da machen es wenige mA für Spannungsregler und Controller nicht fett. Viel schlimmer könnte es sein, dass die neue Steuerung die Heizung anmacht, ohne dem CANbus Meldung zu geben, so dass der Generator nicht ebenfalls auf höhere Leistung umgestellt wird. Daniel S. schrieb: > kannst du mal vernünftig > beschreiben, was genau vorhanden ist und was genau du eigentlich nun > möchtest? Das ist allerdings eine gute Idee. Andersrum, wer das Problem von Anfang an mit Relais und "analoger" Technik ohne uC lösen will, dürfte nur wenige Features wollen/brauchen. Oder hat da einer Blut geleckt? ;)
Rolf schrieb: > Wenn man LED und Wandler vorsichtig wegknipselt, braucht der im Deep > Sleep nur ca. 1 µA. Wenn man das alles 'wegknipst' ist es kein Arduino mehr, sondern nur ein nackter uC.
Rolf schrieb: > Philipp G. schrieb: >> Nun musst mir noch erklären wie man einen Arduino Nano dazu zu bringt >> weniger als 5mA zu ziehen? Selbst bei sleep, Taktung runter und onboard >> Leds auslöten. > > Auf dem Foto des Nano im offiziellen Arduino Store sieht man einen 328P > auf der Platine. Das 'P' steht für 'Picopower'. Wenn man LED und Wandler > vorsichtig wegknipselt, braucht der im Deep Sleep nur ca. 1 µA. > Geht genauso beim Arduino Pro Mini. probier ich.
Philipp G. schrieb: > Nun musst mir noch erklären wie man einen Arduino Nano dazu zu bringt > weniger als 5mA zu ziehen? Selbst bei sleep, Taktung runter und onboard > Leds auslöten. Garnicht. Rolf schrieb: > Auf dem Foto des Nano im offiziellen Arduino Store sieht man einen 328P > auf der Platine. Das 'P' steht für 'Picopower'. Wenn man LED und Wandler > vorsichtig wegknipselt, braucht der im Deep Sleep nur ca. 1 µA. Auf dem Nano sitzt zusätzlich die USB-Schnittstelle, bei den Clones ein CH340. Den bekommt man nicht aus, weshalb man sleep mit dem garnicht erst probieren muß. Philipp G. schrieb: >> Geht genauso beim Arduino Pro Mini. > probier ich. Genau den, ProMini, dazu natürlich ein externes USB-Platinchen zum Programmieren. Da natürlich auch den Spannungsregler und die LED runter und das Ding extern versorgen. Die 5V-Versorgung muß Kfz-tauglich sein, mit der Automotive-Version des LP2950 kommt man realistisch kurz unter 100µA. In einer ruhigen Umgebung, nicht Kfz, speise ich einen ProMini per MCP1703. Der µC wacht alle 8s auf und erhöht einen Zähler, etwa alle 15 Minuten misst er die Akkuspannung. Das tut der im Durchschnitt um 25µA. Mit dem MCP1703 würde ich mich aber nicht ins Auto trauen, da muß etwas robusteres her.
Philipp G. schrieb: > Aber dieses Mal mit rein analogen Mitteln ein uC wäre overkill. Mikrocontoller kann niemals Overkill in einem Mikrocontrollerforum sein.
H. H. schrieb: > Daniel S. schrieb: >> Momentan sieht hier alles eher nach Käse aus... > > Gibts denn Käsesalami? Natürlich! Uwe
Manfred P. schrieb: > Auf dem Nano sitzt zusätzlich die USB-Schnittstelle, bei den Clones ein > CH340. Den bekommt man nicht aus, weshalb man sleep mit dem garnicht > erst probieren muß. In einem Stück auszulöten kann ein Problem sein. Aber stückweise mit Knipex Superknips müsste es gehen.
Jens M. schrieb: > Man braucht keinen Nano, ein ProMini reicht. Man braucht auch keinen ProMini, ein ATtiny13 reicht. Aber er braucht in den beiden letzteren Fällen noch einen Adapter zum Programmieren. Beim Arduino Nano nicht. Michael B. schrieb: > Wenn man das alles 'wegknipst' ist es kein Arduino mehr, sondern nur ein > nackter uC. Es gibt Arduino Uno Boards, deren Mikrocontroller man dank Steckfassung einfach entnehmen kann.
Sherlock 🕵🏽♂️ schrieb: > Es gibt Arduino Uno Boards, deren Mikrocontroller man dank Steckfassung > einfach entnehmen kann. Es gibt Autos, bei denen man das Ersatzrad entnehmen kann. Trotzdem ist ein Ersatzrad kein Auto
Axel S. schrieb: > Philipp G. schrieb: >> Nun musst mir noch erklären wie man einen Arduino Nano ... > > Nein. Ich erkläre dir lieber, daß man dazu keinen Arduino nano > verwendet. Tip: es gibt nicht deswegen so viele verschiedene µC am > Markt, weil den Herstellern langweilig war. Und sagt dir eigentlich das > Adjektiv "automotive" etwas? Also so geht es weiter: Bestellt habe ich zwei Finder Relais. Zu meiner eigenen Neugier werde ich die Tage mal mit einem Nano versuchen wie weit man den in Sachen standby Verbrauch runter bringt. Falls es hier noch jemanden interessiert berichte ich gerne. pro mini habe ich nicht da.
Bitte melde dich an um einen Beitrag zu schreiben. Anmeldung ist kostenlos und dauert nur eine Minute.
  
  Bestehender Account
  
  
  
  Schon ein Account bei Google/GoogleMail? Keine Anmeldung erforderlich!
Mit Google-Account einloggen
Mit Google-Account einloggen
  Noch kein Account? Hier anmelden.


