Im September erschienen interessante Bauteile: neben einem schlüsselfertigen QR-Code-Scanner und einer innovativen Antistatikmatte sorgt ein für die Ansteuerung von Außenspiegeln vorgesehener IC für Verwunderung. Was es sonst Neues gibt, vermelden wir – wie immer – hier.
M5Stack QR Code Scanner Module 13.2 - kompaktes Barcodescannermodul.
Im Hause Espressif arbeitet man daran, „neue“ Module auf den Markt zu bringen. Die neueste Version ist das in der Abbildung gezeigte Scanner-Modul, das sich selbst um die Dekodierung der von der Kamera abgefolmten QR-Codes kümmert.

Bildquelle: https://shop.m5stack.com/products/qr-code-scanner-module-13-2?.
Als Scanner kommt ein mit VGA-Auflösung arbeitender PI4IOE5V6408 zum Einsatz, die Linse bietet einen Erfassungsbereich von 50 ~ 160 mm. Im Bereich der unterstützten QML-Code-Formate gibt es zwei Listen. Für zweidimensionale Codes kommen folgende zum Einsatz:
1 |
PDF417, QR Code, Data Matrix |
Im Fall der eindimensionalen QR-Codes fällt die Auswahl, wie gezeigt, umfangreicher aus:
1 |
Code11, Code39, Code93, Code128, EAN-13, EAN-8, UPC-A, UPC-E, |
2 |
Codabar, Interleaved 2 of 5, Matrix 2 of 5, Industrial 2 of 5, MSI, GS1 Databar |
Espressif ESP-Prog-2 - ESP32 - Kommandogerät auf Basis eines ESP32-S3
Zur Zeit der klassischen Sprut-USB-Brenner für PICs gab es die Henne-Ei-Problematik, dass der Brenner8 einen bereits programmierten PIC zur Inbetriebnahme voraussetzte. Im Fall von Programmiergeräten für Mikrocontroller findet man häufig Systeme, die einen Controller der Konkurrenz als Kommunikationschip verwenden. Mit dem Espressif ESP-Prog-2 möchte Espressif in diesem Bereich aufräumen - seine Intelligenz kommt, wie in der Abbildung gezeigt, aus einem ESP32-S3.

Bildquelle: https://docs.espressif.com/projects/esp-dev-kits/en/latest/other/esp-prog-2/user_guide.html
Im Bereich der „unterstützten Chips“ sind nur vergleichsweise wenig Bauteile vertreten:
1 |
• ESP8266 (kein JTAG) |
2 |
• ESP32 |
3 |
• ESP32-S2 |
4 |
• ESP32-S3 |
5 |
• ESP32-C3 |
Bei ESP32-bezogenen Programmiergeräten ist immer der Preisvergleich zum des FTDI-Minimodul von besonderer Relevanz. Im Fall des vorliegenden Geräts geht diese Runde - wie gezeigt - klar an Espressif.

Bildquelle: https://www.oemsecrets.com/compare/ESP-Prog-2
Chip Quik ESD-MAT-FLOOR-BLACK - angenehm nutzbare Antistatik-Bodenmatte.
Das Verlegen von Antistatik-Material geht oft mit erheblichem Gewefze einher. Chip Quik lanciert nun zwei in Einzelstückzahlen um rund € 85 erhältliche ESD-Bodenmatten, die dank ergonomischer Form - wie in der Abbildung gezeigt - weniger Konzerte auslösen dürften.

Bildquelle: Chip Quik.
Hervorzuheben ist außerdem die Polsterung, die bequemes Ablegen von Beinen ermöglicht. Über den Widerstand der Matte verwendet man im Datenblatt dann 106Ω to 109Ω resistance (static dissipative).
m5stack Audio Player Unit (N9301) – Grüße vom Sony CLIE
Die ersten Varianten von Sonys Clie-PDA nutzten einen Coprozessor, um die damals nur 33 oder 66 MHz schnellen Hauptprozessor zu entlasten. Im Hause M5Stack bietet man nun ein ähnliches Produkt an, das für die MP3-Dekodierung auf einen Chip vom Typ N9301 setzt.

Bildquelle: https://docs.m5stack.com/en/unit/Unit_AudioPlayer
Für das Anliefern der wiederzugebenden MP3-Daten kommt dabei eine Micro SD-Karte zum Einsatz; der Applikations-Mikrocontroller muss „nur“ Befehle anliefern, die über die abzuspielende MP3-Datei sowie die zu verwendenden Wiedergabeparameter informieren.
Keysight E36441A - Vierkanal-Labornetzgerät
Im Hause Keysight bietet man neue, kompaktere Messtechnik für den Laboreinsatz an. Kandidat Nummer eins ist das in der Abbildung gezeigte Vierkanal-Netzgerät, das - um rund € 3300 erhältlich - auf den Spuren von Klassikern wie dem HP 6624A wandelt.

Bildquelle: https://www.keysight.com/zz/en/assets/3125-1240/data-sheets/E36441A-Autoranging-Bench-Power-Supply.pdf
Ganz analog zum großen Vorbild gilt auch hier, dass die einzelnen Ausgangs-Kanäle zum „Moduswechsel“ befähigt sind. Die folgende Abbildung zeigt, wie sich das Strom-Spannungs-Diagramm präsentiert.

Bildquelle: https://www.keysight.com/zz/en/assets/3125-1240/data-sheets/E36441A-Autoranging-Bench-Power-Supply.pdf
Keysight DM34460A - 6,5 D-Multimeter mit 7 Zoll-Display.
Kandidat Nummero zwei aus dem Hause Keysight ist das in der Abbildung gezeigte Multimeter.

Bildquelle: https://www.keysight.com/zz/en/assets/3125-1238/data-sheets/DM34460A-DM34461A-Digital-Multimeter.pdf
Zu beachten ist, dass Keysight zwei Varianten des Produkts anbietet. Wie in der folgenden Tabelle gezeigt unterscheidet sich die „teuerste“ Variante durch eine zusätzliche Data Logging-Fähigkeit.

Bildquelle: https://www.keysight.com/zz/en/assets/3125-1238/data-sheets/DM34460A-DM34461A-Digital-Multimeter.pdf
Keysight FG33531A - arbiträrer Wellenformgenerator.
Produkt Nummero drei ist der FG33531A – ein arbiträrer Wellenformgenerator mit 100 MHz Bandbreite. Keysight offeriert hier zwei Varianten, die sich - wie in der Abbildung gezeigt - in der Kanal-Anzahl unterscheiden.

Texas Instruments INA187 / INA299 - Differenzverstärker zur Strommessung.
Das Messen von Stromverbräuchen ist eine immer häufiger werdende Aufgabe. Mit INA187 und INA299 schickt Texas Instruments eine im SOT23-Format vorliegende Chipfamilie ins Rennen, die auf diese Aufgabe optimiert ist. Die Prinzipschaltung ist in der folgenden Abbildung gezeigt.

Bildquelle: Texas Instruments.
Zu beachten ist, dass Texas Instruments zwei Versionen mit „unterschiedlicher“ Spannungsfestigkeit anbietet. Variante INA187 arbeitet im Messbereich −2V bis +42V, während Variante INA299 im Messbereich −2V bis +80V arbeitet.
onSemi NCV7705/NCV7706 - Motor- und Diodentreiber für Außenspiegel.
Außenspiegel in Fahrzeugen enthalten durchaus komplizierte Technologie: Neben verschiedenen Positionierungsmotoren gibt es mitunter auch Lampen, die beispielsweise für zusätzliches Blinken sorgen. Im Hause OnSemi stellt man nun einen Leistungshalbleiter zur Verfügung, der auf die Bedürfnisse der Leistungselektronik von Rückspiegeln in Fahrzeugen optimiert ist. Seine grundlegende Struktur präsentiert sich wie in der Abbildung gezeigt.

Bildquelle: On Semi.
Texas Instruments TPS60800-Q1 - sehr kompakte Ladungspumpe.
Es gibt immer wieder Situationen, in denen man eine - gering belastbare - komplementäre, negative Spannung benötigt. Eine Ladungspumpe ist ein preiswerter Weg zum Erreichen dieses Ziels, weshalb Texas Instruments mit dem TPS60800 nun ein dafür optimiertes Element anbietet. Die folgenden Abbildungen zeigen sowohl die Prinzipschaltung als auch eine Tabelle, die die Eingangs- und die Ausgangsspannung in Bezug zueinander setzt.


Bildquelle, beide: Texas Instruments.
Interessant ist in diesem Zusammenhang außerdem, dass Texas Instruments in der Datenbank die „extrem kompakte“ Topologie betont:
1 |
Only three external 1μF capacitors are required |
2 |
to build a complete DC-DC charge pump inverter. |
3 |
Assembled in a 6-pin SOT563 package, the complete |
4 |
converter can be built on a 40mm2 board area. |
5 |
Additional board area and component count reduction |
6 |
is achieved by replacing the Schottky diode that is |
7 |
typically needed for start-up into load by integrated |
8 |
circuitry. |
Analog Devices LTC9105 - Power Over Ethernet-PD-Controller.
Zur Zusammenarbeit und zum Wohlverhalten eines POE-befähigten Netzwerks ist es sinnvoll, wenn alle energiekonsumierenden Geräte einen PD-Controller implementieren. Mit dem LTC9105 bietet Analog Devices nun ein diesbezügliches Bauteil an, dessen grundlegende Implementierung in der folgenden Abbildung gezeigt ist.

Bildquelle: Analog Devices.
Hervorzuheben ist, dass der in der Abbildung unten links gezeigte Sensor-Widerstand der „Applikationslogik“ das Überwachen der Gesundheit der POE-Energieversorgung ermöglicht.
OnSemi NSBCMXW - NPN-Transistor mit eingebauten Teiler-Widerständen.
Wer externe Bauteile eliminiert, vereinfacht die Assemblage und spart Platz auf der Platine. Damit ist der Lebenssinn dieser von OnSemi angebotenen Familie von diskreten Transistoren auch schon erklärt - zu beachten ist lediglich, dass es unter der SKU-Gruppe NSBAMXW auch komplementäre PNP-Transistoren gibt.


Bildquelle, beide: OnSemi
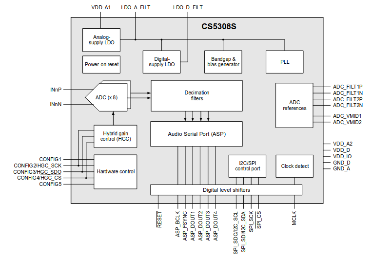
Cirrus Logic CS5302P / CS5308S et al – 32bit-ADC für den Audioeinsatz
Im Hause Cirrus Logic bietet man eine Gruppe von ADCs an, die eine 32 Bit-Auflösung versprechen und für Audioapplikationen vorgesehen sind.

Bildquelle: Cirrus Logic
Zu beachten ist, dass es unterschiedliche Varianten des Bauteils gibt - der CS5302P ist beispielsweise ein 2-Kanal-ADC, während sein Kollege CS5308S der Kanäle acht mitbringt.
Recom REC10K-RW - 10W-DC-DC-Konverter mit sehr breitem Eingangsspannungsbereich.
Wer einen schlüsselfertigen DC-DC-Konverter kauft, erspart sich mitunter sowohl bei der Zertifikation als auch beim PCB-Layout einiges an Arbeit. Mit der REC10K-Familie schickt Recom nun eine ganze Serie von Konvertern ins Rennen - die Tabelle zeigt die angebotenen Varianten. Zu beachten ist, dass sich diese Bauteile durch externe Widerstände im Bereich plus/minus 10 % „trimmen“ lassen.

Bildquelle: Recom.
Fair-Rite SINTERED FERRITE POWDER – Ferritpulver, unsintriert
Ferrit-Materialien findet man normalerweise in Form des berühmten-berüchtigten Snapon-Ferritkerns. In manchen Fällen kann es wünschenswert sein, Ferritpulver frei verteilen zu können. Fair-Rite - das Unternehmen könnte man auch als Ferrit-is-us bezeichnen - bietet nun genau das an. Die verwendeten Materialien stammen dabei im Allgemeinen von den bekannten und fertig sintriert erhältlichen Kernen. Da es sich hierbei um loses Material handelt, fallen die magnetischen Eigenschaften etwas anders aus. Im Datenblatt des Materials findet sich Spezifischerweise die folgende Warnung:
1 |
Most ferrite components are pressed before firing; this pressure allows |
2 |
them to form continuous crystalline structures during firing. Since our |
3 |
sintered powder products are not pressed, they do not form continuous |
4 |
crystalline structures. Instead, there is free space between each particle. |
5 |
The net result is that the normal properties associated with a pressed |
6 |
component–permeability, temperature response, and saturation–will |
7 |
be muted in sintered powder of the same material. This makes sintered |
8 |
powder well-suited for use in areas where air would already exist. |
Morse Micro - HaLow-Evaluationstechnologie taucht bei Distributoren auf
Im Hause Morse Micro arbeitet man daran, die Low-power-WLAN-Variante HaLow zu popularisieren - erst vor wenigen Tagen hatten wir über den neuen Funkchip berichtet. Die zur Evaluation vorgesehene Hardware taucht langsam, aber sicher im Markt auf. Mit dem MM8108-EKH05-01 steht beispielsweise ein unter anderem auf einem STM32-Mikrocontroller basierendes Evaluationsboard zur Verfügung, das die Realisierung von „Endgeräten“ ermöglicht.

Bildquelle: https://www.morsemicro.com/evaluation-kits/
Aus der Logik folgt, dass für eine „erfolgreiche“ Daten-Kommunikation auch eine Gegenstelle erforderlich ist. Diese lässt sich aus zwei SKUs realisieren - einerseits das auf einem Raspberry Pi 4 basierende MM8108-EKH01-01, andererseits SKU MM8108-EKH19, das einen „klassischen“ Router realisiert.
Mill-Max 836/838 – Pogo-Pins mit SMD-Befestigbarkeit
Pogo-Pins sind für viele Arten von Anwendung nützlich. Im Hause Mill-Max hat man sich seit längerer Zeit auf das Anbieten verschiedenster Pogo-Pin-Varianten spezialisiert. Mit der 83x-Serie stehen nun sowohl ein - als auch zweireihige Pogo-Pins zur Verfügung - die folgende Abbildung zeigt ein Beispiel.

Bildquelle: Mill-Max
Nexperia NEVB-LOGIC01 et al - SMD-zu-DIP-Adapter.
Wer eine SMD-Komponente „bequem“ evaluieren möchte, steckt sie oft in eine Steckplatine. Hierzu ist – logischerweise - ein SMD-DIP-Adapter erforderlich. Bisher stammen diese vor allem von Anbietern von Printplatten. Der Logik-IC-Hersteller Nexperia bietet nun, wie in der Abbildung gezeigt, ebenfalls eine Variante an.

Bildquelle: Nexperia.
SameSky: Knöpfe fortan auch aus Aluminium.
Im Hause SameSky - bis vor einiger Zeit als CUI Devices bekannt - bietet man seit Jahr und Tag verschiedenste Knöpfe an, die auf die hauseigenen Potentiometer und Encoder passen. Fortan gibt es diese auch aus Aluminium - die als Bildquelle angegebenen URL führt direkt in die relevanten Seiten des Kataloges.

Bildquelle: https://www.sameskydevices.com/catalog/motion-and-control/motion-and-control-accessories/knobs?q=KvUF
LEDiL LEILA – Linsen für LEDs
Im Hause LEDiL bietet man verschiedenste Linsen an, die die Ausrichtung von Licht ermöglichen. Mit der LEILA-Serie steht nun eine neue Serie zur Verfügung, die sich wie in der Abbildung gezeigt präsentiert.

Bildquelle: https://www.ledil.com/product-landing/single-lenses/leila/
Taoglas SPKW – Lautsprecher mit WLAN-Antenne
Wer Bauteile kombiniert, spart BOM-Zeilen. Aus dieser einfachen Theorie folgt das in der Abbildung gezeigte Produkt, das eine WLAN-Antenne in einem Lautsprecher unterbringt.

Bildquelle: Taoglas
Analog Devices / Maxim MAX16150 – “Batterie-Auslieferungssiegel”
Wenn ein System ausgepackt wird, ist seine Batterie normalerweise halb leer. Mit dem hier gezeigten IC möchte Analog Devices gegensteuern – der Eigenstromverbrauch im Bereich von nur 20nA dürfte unter der Selbstentladung der meisten Batterien liegen, während der maximale Ausgangsstrom im Bereich 20mA liegt.

Bildquelle: Analog Devices
Microchip MCP9604 – Treiber für vier Thermoelemente
Die Auswertung von Thermoelementen ist ob ihrem nichtlinearen Verhalten eine interessante Aufgabe. Microchip bietet seit einiger Zeit dafür spezialisierte Bauteile an, und offeriert fortan eine mit vier Eingängen ausgestattete Variante.

Bildquelle: Microchip
Über die sonstigen Fähigkeiten des in Stückzahlen rund 10 USD kostenden Bauteil vermeldet Microchip folgendes:
1 |
The MCP9604 device delivers its advanced measurement accuracy at four thermocouple locations by using higher-order NIST ITS-90 equations rather than the single-order linear approximations of analog amplifier designs. As an example, it achieves ninth-order accuracy with K-type thermocouples, all in one integrated chip containing the ADCs, cold junction compensation temperature sensors, amplifiers and other components required for the signal chain, temperature measurement and math engine. |
2 |
. . . |
3 |
The MCP9604 also offers flexibility and versatility by supporting the eight most common thermocouple types including the J option as well as the K option for operating at temperatures as low as -200°C. In addition to supporting a wide, -200°C to +1372°C temperature range across a diverse range of industrial applications, the MCP9604 also supports I2C communication to allow easy integration with microcontrollers and other digital systems. |
Phoenix Contact – M17-Steckverbinder gemäß IEC-Standard 61076-2-117
Im Bereich der Rundstecker gibt es mit M17 seit einiger Zeit eine neue Norm. Phoenix Contact lanciert nun zusätzliche Produkte, die den Standard implementieren. Über die technischen Eigenschaften kündigt Phoenix folgendes an:
1 |
Der M17 PRO-Hybridsteckverbinder ist in Varianten für 50 V und 630 V erhältlich. Mit Strömen bis zu 16 A und einem Anschlussquerschnitt der Leistungspins bis 1,5 mm² erfüllt er hohe Anforderungen. Die Schutzarten IP66 und IP68 (2 m/24 h) bieten eine hohe Zuverlässigkeit auch unter anspruchsvollen Bedingungen. |
Phoenix Contact, zur Zweiten – explosionssichere Funktechnologie
In der Cellulink-Familie bietet Phoenix Contact seit einiger Zeit Router an, die explosionssicher sind – auch hier steht eine Erweiterung des Produktportfolios an:
1 |
Die Produktreihe Cellulink Outdoor-Mobilfunk-Router von Phoenix Contact wird erweitert: Ab sofort sind neue Varianten erhältlich, die speziell für den Einsatz in explosionsgefährdeten Bereichen der Zone 2 entwickelt wurden. Die Geräte verfügen über eine IECEx- und ATEX-Zulassung und ermöglichen damit den sicheren Betrieb in anspruchsvollen Industrieumgebungen. |
Samtec AcceleRate® HP – Board to Board-Verbinder nun mit bis zu 800 Signalen
Samtec erweitert das hauseigene Steckverbinderportfolio um SKUs, die bis zu 800 Signale übertragen können.

Bildquelle, beide: Samtec
Spezifischerweise verspricht man die folgenden Spezifikationen:
1 |
Protocol compatibility with PCIe 6.0, CX 3.2, and 100 GbE |
2 |
• 800-position configuration (8 rows × 100 positions) in a dense footprint of 68.62mm × 18.20mm (2.701” × 0.717”) |
3 |
• 5mm mated stack height, with a 10mm version planned for Q2 2026 |
4 |
• 5 Ohm impedance |
5 |
• 2 A max current rating (one pin powered per row), and 150 VAC (212 VDC) max voltage rating |
6 |
• Open pin field array design for maximum grounding and routing flexibility |





























