Hallo, ich habe eine Frage zu analoger Elektronik: ein Studio-CD/RW-Brenner (Marantz CDR 630) mit Philips CDL3610/01 Laufwerk kann noch über Kopfhörer wiedergeben, aber nicht mehr über den (Cinch-) Audio-Out. Das Gerät verfügt in beiden Ausgangspfaden über eine sogenannte „Kill“-Schaltung, diese soll wohl Einschaltgeräusche und Rauschen in Programmpausen unterdrücken. Die Kill - Transisroren (BC847B) sind SMD, und das traue ich mich nicht aus/einzulöten. Ausserdem besitzt auch der KH-Pfad diese Schaltung, und der tut es ja noch. Meine Idee war jetzt, vor dem internen Kopfhörer – Verstärker das Audio- abzugreifen, und mit 2 geschirmten Kabeln mit dem Cinch-Out zu verbinden (evt. Gleichspannungs-Block-Elkos noch einfügen-welche Grösse, wenn ja?) Kann ich das einfach so machen, oder verändere ich die Ausgangsimpedanz zu stark, sodass Klangeinbussen zu erwarten sind?
:
Verschoben durch Moderator
Wenn ich nicht irre sind die Geräte nicht ganz günstig. Da solltest du so eine not lösung möglichst vermeiden. Mach doch mal Bilder vom inneren. Eventuell erkennt man ja was oder jemand aus deiner nähe möchte etwas zeit investieren und wenn nötig die smd ersetzen.
_Forum: Mikrocontroller und Digitale Elektronik Für alle Fragen rund um Mikrocontroller und sonstige digitale Elektronik._ Florian S. schrieb: > Hallo, > ich habe eine Frage zu analoger Elektronik:
@Andreas: bis jetzt scheint es ein analoges Problem in einem NF-Verstärkersystem zu sein. S. M. schrieb: > Mach doch mal Bilder vom > inneren. Das fände ich auch gut, dann kann man viel besser helfen.
Florian S. schrieb: > kann noch über Kopfhörer wiedergeben, aber nicht mehr über den (Cinch-) > Audio-Out. Auf beiden Kanälen? Und Du bist ganz sicher, daß es nicht am Kabel und dem angeschlossenen Gerät (Mixer, Verstärker) liegt. > Das Gerät verfügt in beiden Ausgangspfaden über eine sogenannte > „Kill“-Schaltung, diese soll wohl Einschaltgeräusche und Rauschen in > Programmpausen unterdrücken. Schon mal die Spannung des Kill-Signals gemessen? Schon mal die Stecker des Kabels zwischen Hauptplatine und Connector Board abgezogen und wieder aufgesteckt? Nicht, daß es dort an einer schlechten Verbinung liegt. Schon mal das Signal von der Hauptplatine bis zur Kill-Schaltung verfolgt? > Die Kill - Transisroren (BC847B) sind SMD, und das traue ich mich nicht > aus/einzulöten. Ich denke mal nicht, daß die defekt sind. Da müßte es zufällig mindestens je einen in jedem Kanal erwischt haben. > Ausserdem besitzt auch der KH-Pfad diese Schaltung, und der tut es ja > noch. > Meine Idee war jetzt, vor dem internen Kopfhörer – Verstärker das Audio- > abzugreifen, und mit 2 geschirmten Kabeln mit dem Cinch-Out zu verbinden Jeder, wie er mag. ich würde ja erst mal den Fehler suchen, statt in der Schaltung rumzuwurschteln.
Daniel schrieb: > S. M. schrieb: >> Mach doch mal Bilder vom >> inneren. > > Das fände ich auch gut, dann kann man viel besser helfen. Wozu? Service Manual ist einsehbar.
Jap das ist sie. Aber offensichtlich dicke Elkos, dreck, schwarze bauteile oder andere eventuelle Probleme lassen sich manchmal über ein bild schon erkennen.
Hi Florian, ich würde auch mal alle Steckverbindungen ziehen und wieder reinstecken, eventuell ist da irgendwo ein Wackler. Ich hatte sowas auch schon bei einem TEAC-CD-Spieler. Da hab ich den Fehler leider nicht gefunden (vielleicht hatte auch die CPU ne Macke) und hab dann kurzerhand die Kill-Transistoren ausgelötet. Habe nicht den Eindruck, dass es rauscht oder Einschaltgeräusche gibt.
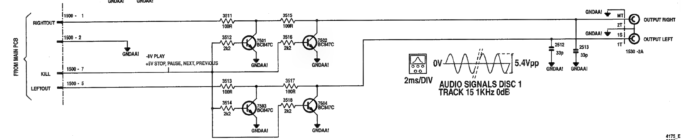
Michael L. schrieb: > Service Manual ist einsehbar Damit alle vom gleichen sprechen, hier der Schaltplan-Schnippsel. Wüsste jetzt nicht, wie man die vier "Kill"-Transistoren kaputt kriegen sollte, außer wenn man es mit einer externen Spannungsquelle an den Audio-Ausgängen extra darauf anlegt. Eher: Der Fehler liegt woanders, und schon das "Kill-Signal" liegt fälschlicherweise dauerhaft an. => Dort mal nachmessen, oder schauen ob man das Signal testweise am Platinenverbinder trennen kann. Ist aber insofern unwahrscheinlich, weil vmtl. dasselbe Kill-Signal auch für den Headphone-Ausgang verwendet wird.
Florian S. schrieb: > ein Studio-CD/RW-Brenner (Marantz CDR 630) mit Philips CDL3610/01 > Laufwerk > kann noch über Kopfhörer wiedergeben, aber nicht mehr über den (Cinch-) > Audio-Out. Bau Dir doch einfach einen passenden Kabeladapter KH-Stecker auf Cinch-Buchse.
Harald W. schrieb: > Bau Dir doch einfach einen passenden Kabeladapter > KH-Stecker auf Cinch-Buchse. Das erinnert mich an die Anhängerkupplung für das Mofa aus dem Film "Werner" Ähm, ich würde tatsächlich den Verbinder 1500 überprüfen. (und den 1400 auf dem Mainboard unter dem Laufwerk) Und auch das Connectorboard selbst mal genauer ansehen. Leider gibt es keinen Schaltplan vom Mainboard. Dieser gehört zum Laufwerk, von dem ich kein Manual gefunden habe. Das macht es schwierig herauszufinden, wie KILL erzeugt und verteilt wird. Wenn das Gerät keine totale Krücke ist, sind die Transistoren auch gar nicht notwendig (evtl. beim einschalten). Als letzte Lösung wäre also sie herauszuwerfen denkbar. Wenn Du eine Cinchbuchse zur Hand hast, stecke einen Stecker vom Kabel zum Verstärker in einen Ausgang (für Masse) und den anderen Stecker in die Cinchbuche, an deren Mittelkontakt Du zuvor einen Draht angelötet hast. Nimm Verstärker und Player in Betrieb und spiele eine CD ab. Den Verstärker nicht besonders laut drehen um Störgeräusche nicht aus den Lautsprechern krachen zu lassen. Dann bewegst Du Dich mit dem offenen Draht auf den Steckverbinder 1500 zu und tastest dort an Pin 1 und 5 und horchst dort, ob da Musik ist. Ist dort ebenfalls nichts, dann liegt es nicht an den Transistoren. Dann kannst Du mal auf dem Mainboard Stecker 1400 an die entsprechenden Pins gehen. Ist dort auch Ruhe, liegt das Problem auf dem Mainboard, ist dort etwas zu hören, ist die Verbindung Mainboard<->Connectorboard nicht okay. Gruß Jobst
Florian S. schrieb: > Das Gerät verfügt in beiden Ausgangspfaden über eine sogenannte > „Kill“-Schaltung, diese soll wohl Einschaltgeräusche und Rauschen in > Programmpausen unterdrücken. Da es sehr unwahrscheinlich ist, das beide Mute Transistoren zur gleichen Zeit frittiert werden, wird der Fehler da nicht sein. Aber du kannst mal mit dem Ohmmeter in der Schaltung zwischen Emitter und Kollektor der Transistoren messen. Null Ohm würde auf einen Defekt hindeuten. Messung bitte ausgeschaltet machen. Hast du aus Versehen da Strom in den Ausgang geschickt?
Hallo, ersteinmal vielen Dank für die vielen hilfreichen Antworten. Ich komme leider erst jetzt dazu, diese gründlich zu lesen, und zu antworten. Die spärliche Dokumentation des Laufwerkes (CDL3610-1) im „Service Manual“ ist vermutlich Urheberschutzechten geschuldet, daher auch der verjährte Hinweis auf die Reparaturmöglichkeit durch Philips selber. Das galt sicher vor 25 Jahren. Heutzutage ist aber leider der Support durch Marantz und Philips nicht mehr gegeben (schon vor 10 Jahren erhielt ich auf eine Anfrage bei der deutschen Niederlassung von Marantz hin den Hinweis, dass keine Originalersatzeile für dieses Gerät mehr lieferbar seien). Anhang 1 zeigt die Signalführung nach der D/A-Wandlung leider nur unvollständig: es ist ersichtlich, dass Bauteil 7481 (Treiber?) das Signal stereo an des Connectorboard (Header 1400) und das Headphoneboard (Header 1410) leitet. Was es mit Transistor (?) 7482 auf sich hat, erschließt sich mir jedoch nicht. Dieser und 7481 sind auf Anhang 2 gekennzeichnet. Dieser zeigt auch den Zustand der Elkos, die noch nicht aufgebläht sind. Anhänge 3 + 4 zeigen wiederum die Signalführung, (für mich leider unverständlich). Ich habe mir ein Oszilloskop mit Signalgenerator besorgt, und werde versuchen, das Signal vom D/A-Wandler aus zu verfolgen (habe ich noch nie gemacht, das dauert bestimmt seine Zeit). Grüße, flori54
Florian S. schrieb: > werde versuchen, das Signal vom D/A-Wandler aus zu verfolgen Mach doch nicht so ein Getüddel von. Stecker 1400/1500 trennen (je nach dem, was bequemer ist) und schauen, ob das Singal dann an 1400 anliegt. Dann kann man weitersehen. Edit: Wie sieht's an den XLR aus?
:
Bearbeitet durch User
Hallo Florian Nun messe doch mal endlich die Ansteuerspannung der Kill-Transistoren - Mute-Transistoren fände ich ja besser-naja. Bild LineOutKill.png Pin 1500-7 hat welche Spannung ??? Wenn Du da nicht gut ran kommst, geht es auch direkt die BE-Spannungen der vier Transistoren zu messen. < 0,5 Volt - sollten sie sein damit kein Mute auftritt. Was mich etwas irritiert, ist die im Bild gezeigte hohe Ausgangsspannung von 5,4 VPP. Das hieße für die BC847 immer in der negativen Halbwelle eine Falschpolung von 2,7 Volt. Müssten sie überstehen, wenn es dabei bleibt. Es gibt spezielle Mute-Transistoren z.B. 2SC2878, die können höhere Falschpolungsspannung ab und behalten auch bei Falschpolung eine hohe Stromverstärkung. (Mal das Datenblatt aufrufen, aus Interesse.) Andererseits haben die BC847 ja jahrelang gehalten. Also ich nehme immer noch alles in allen an, das die Ansteuerung das Problem ist oder irgendwo anders eine Verbindung, fehlende Speisespannung, etc... und die Mutetransistoren wahrscheinlich ganz sind. Schöne Grüße Lothar
Florian S. schrieb: > Die spärliche Dokumentation des Laufwerkes (CDL3610-1) im „Service > Manual“ ist vermutlich Urheberschutzechten geschuldet, daher auch der > verjährte Hinweis auf die Reparaturmöglichkeit durch Philips selber. Schreib keine Romane, der Schaltplan vom Laufwerk ist im Netz einsehbar. Florian S. schrieb: > Ich habe mir ein Oszilloskop mit Signalgenerator besorgt, und werde > versuchen, das Signal vom D/A-Wandler aus zu verfolgen (habe ich noch > nie gemacht, das dauert bestimmt seine Zeit). Es reicht für den Anfang, die Spannung des Killsignals an den schon mehrmals genannten Punkten zu messen.
Bitte melde dich an um einen Beitrag zu schreiben. Anmeldung ist kostenlos und dauert nur eine Minute.
Bestehender Account
Schon ein Account bei Google/GoogleMail? Keine Anmeldung erforderlich!
Mit Google-Account einloggen
Mit Google-Account einloggen
Noch kein Account? Hier anmelden.




