Hi Auf einer Platine sind mehrere Leds (MV57173) in Ketten und parallel verschaltet. Die Leds haben laut Datenblatt 2-2,5V und max 35mA Dauerstrom. Die Verschaltung ist: 6 Stück in Reihe, davon 2 Stränge parallel, Vorwiderstand für beide Stränge 47 Ohm. 5 Stück in Reihe, davon 2 Stränge parallel, Vorwiderstand für beide Stränge 47 Ohm. 6 Stück in Reihe, Vorwiderstand 100 Ohm. 3 Stück in Reihe, davon 2 Stränge parallel, Vorwiderstand für beide Stränge 47 Ohm. Alle Stränge an der gleichen Betriebsspannung. Wenn ich max. Strom und Spannung der Leds annehme, komme ich auf Betriebsspannungen von 18,3V, 15,8V, 18,5V und 10,8V (!). Welche Betriebsspannung wäre für die Platine vermutlich vorgesehen?
Bei typisch 2,2V x 6 kommt man auf 13,2V. Bei 100 Ohm Vorwiderstand und typsich 20mA ist man bei 15,2V. Das klingt nach der gesuchten Betriebsspannung. Wenn an der gleichen Spannung aber nur drei LEDs + Vorwiderstand hängen, kriegen die so oder so deutlich mehr Strom ab. Aber die Bahnwiderstände der LEDs haben da auch ein Wörtchen mitzureden.
Peter N. schrieb: > Welche Betriebsspannung wäre für die Platine vermutlich vorgesehen? Es gibt nur 1 Versorgung für alle diese Reihen- und Parallelschaltungen? Dann bleibt nur, ein Labornetzteil zu nehmen und die Spannung so lange hochzudrehen, bis die LEDs in der 3er-Reihe 35mA abbekommen. Damit hast du dann die höchste erlaubte Betriebsspannung ermittelt. Würde mich allerdings wundern, wenn die anderen LEDS dann mehr tun als nur vor sich hin zu glimmen.
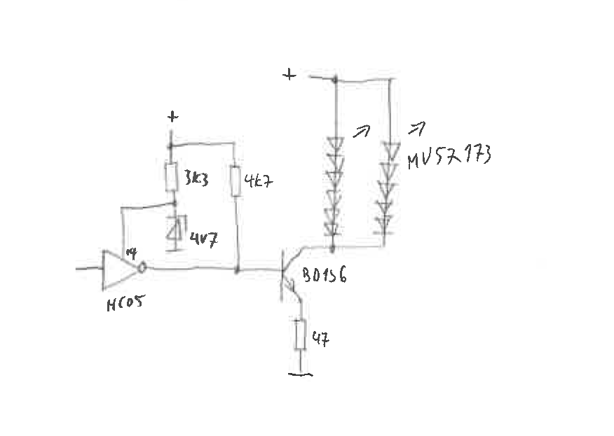
Nächste Käsescheibe: Die Led-Stränge werden mit BD135 geschaltet, Basis über 4k7 an + Die Basis wird mit 74HC05 auf GND gezogen. Was ich jetzt nicht verstehe: Die restliche Elektronik bekommt 5V aus + durch einen 7805. Die HC05 bekommen ihre eigene Betriebsspannung über 3k3 und C4V7PH von + Wieso?
Moin, Ich bitte um weniger Gelaber und dafuer mehr Schaltbild. scnr, WK
Dergute W. schrieb: > Ich bitte um weniger Gelaber und dafuer mehr Schaltbild. Bitte sehr, die Prinzipschaltung. Wenn das nicht einfacher geht (zeichnen -> scannen zu pdf, exportieren, beschneiden...) verzichte ich künftig drauf.
Peter N. schrieb: > Bitte sehr, die Prinzipschaltung. Die tatsächliche Schaltung wäre besser um das Rätselraten zu beenden. Am besten incl. scharfer Bilder beider Seite der Platine. Das solltest du nach über 3000 Posts eigentlich wissen. Vermutung: Über den 47 Ohm, den Transistor und den Teil der Schaltung, den du nicht zeigst, wird eine Konstantstromquelle implementiert. Die beiden Led Stränge unterschiedlicher Anzahl sind so Unfug. Da leuchtet nur der eine mit 5 Leds, der andere glimmt höchstens. (Annahme, alles gleiche Leds)
:
Bearbeitet durch User
Moin, Peter N. schrieb: > Bitte sehr, die Prinzipschaltung. Aha, schon mal etwas besser als die unpraezise Prosa vorher. Da faellt mir z.B. gleich mal die strombegrenzende Verschaltung des 47R Widerstands auf. Sowie die etwas schwachsinnige Schaltung: Erst Open-Drain-Gatter, dann aber schaendliche Ausnutzung (oder wars Versehen) der Schutzdioden nach +Vcc im Chip... > Wenn das nicht einfacher geht (zeichnen -> scannen zu pdf, exportieren, > beschneiden...) verzichte ich künftig drauf. Naja, aber was wird dir dann wohl mehr auf den Keks gehen: Dein Misserfolg bei der Informationsfindung vs. dein Triumphieren, weil hier bestimmt dann alle denken: Ohh, kacke, der Peter N. fragt garnix mehr nach, was haben wir nur falsch gemacht... Gruss WK
Udo S. schrieb: > Die beiden Led Stränge unterschiedlicher Anzahl sind so Unfug. Sorry, mein Fehler. Da habe ich mich verzählt. Die parallelen Stränge enthalten immer die gleiche Anzahl an Leds. Dergute W. schrieb: > Da faellt > mir z.B. gleich mal die strombegrenzende Verschaltung des 47R > Widerstands auf. Sowie die etwas schwachsinnige Schaltung: Erst > Open-Drain-Gatter, dann aber schaendliche Ausnutzung (oder wars > Versehen) der Schutzdioden nach +Vcc im Chip... Ah, jetzt, ja. Das deutet auf eine Erklärung hin...
Peter N. schrieb: > Bitte sehr, die Prinzipschaltung. Oh ha, schon mal KEIN Vorwiderstand, sondern eine Konstantstromschaltung. (4.7-0.7)/47= satte 85mA an LED die zumindest 4.7+6x2.5= 19.7V bekommen aber nur 20mA pro Strang aushalten. Wenn irgendwas kaputt sein sollte: kein Wunder, LED parallel geschaltet ohne Vorwiderstand geht halt kaputt. Die Ansteuerung über HC05 taugt auch nichts, demm ein HC05 ist nicht wirklich open drain wie der LS05 open collector ware, denn er erlaubt höchstens VCC+0.7V am Ausgang sonst leitet die Body-Diode. Wenn wir auf sinnvolle 40mA bei 47 Ohm und 20mA bei 100 Ohm gehen, sollte die Logik nur mit 2.6V versorgt werden, auch etwas wenig. Es würde an 5V passen wenn statt HC05 dort LS04 eingebaut werden, denn der liefert nur 3V, aber dann reicht die Versorgung über 3k3 nicht mehr. Also: WENN die Schaltung funktionieren soll, z.B. an 24V, dann schalte in JEDEN LED Strang 100 Ohm als Stromverteilungswiderstand und ersetze die 47 Ohm gegen 100 Ohm, die 100 Ohm gegen 220 Ohm und die HC05 gegen HC04. Die 4k7 könnten dann entfallen. Dank der Stromverstarkung von ca. 100 und ca. 1.5mA Summenstrom fur die Basis geht das aus den 3k3 zu versorgen. Merke dir: deine Prosa war völlig falsch und irrefuhrend, erst der komplette Schaltplan zeigte die Wahrheit
Dergute W. schrieb: > Erst > Open-Drain-Gatter, dann aber schaendliche Ausnutzung (oder wars > Versehen) der Schutzdioden nach +Vcc im Chip... Ah, danke. Das hatte ich übersehen. Also ist es so schon eine Konstantstromquelle. Peter N. schrieb: > Wenn das nicht einfacher geht (zeichnen -> scannen zu pdf, exportieren, > beschneiden...) verzichte ich künftig drauf. Aber von uns erwartest du deine Prosa zu verstehen. Wie du siehst hat sich dein bisschen Aufwand schon schnell ausgezahlt. Statt scannen könntest du auch ein Foto machen oder dir einen Schaltplan-Editor zulegen.
Udo S. schrieb: > oder dir einen > Schaltplan-Editor zulegen. Gibt es einen, dessen Bedienung nicht aufwändiger als Papier und Bleistift ist, und dessen Ergebnisse nicht so "verknotet" aussehen, wie die meisten hier veröffentlichten "Schaltpläne"?
Peter N. schrieb: > Dergute W. schrieb: >> Da faellt >> mir z.B. gleich mal die strombegrenzende Verschaltung des 47R >> Widerstands auf. Sowie die etwas schwachsinnige Schaltung: Erst >> Open-Drain-Gatter, dann aber schaendliche Ausnutzung (oder wars >> Versehen) der Schutzdioden nach +Vcc im Chip... > > Ah, jetzt, ja. > Das deutet auf eine Erklärung hin... Die Schaltung wäre so trotzdem Käse. Da hat entweder der Designer oder (wahrscheinlicher) der Abzeichner Fehler gemacht. Mit 47R Emitterwiderstand und 35mA Maximalstrom dürfen da maximal 1.6V am Emitter anliegen. Mithin maximal 2.3V an der Basis. Die Schaltung liefert aber maximal Vcc (des HC05) + 0.7V. Mit der 4V7 Z-Diode also um die 5V. Und wie ein Vorredner schon anmerkte, ist es sehr ungewöhnlich die Schutzdioden am Ausgang des open drain Treibers so zu benutzen. Eigentlich wäre ein push-pull Treiber (HC04) passender. Und ein Emitterwiderstand an dem bei Nennstrom dann 4.3V abfallen dürfen.
Peter N. schrieb: > Gibt es einen, dessen Bedienung nicht aufwändiger als Papier und > Bleistift ist, und dessen Ergebnisse nicht so "verknotet" aussehen, wie > die meisten hier veröffentlichten "Schaltpläne"? Das verknotete Aussehen liegt einzig an den Autoren der Schaltpläne. Mit LTSpice könntest du Schaltpläne zeichnen und die Funktion der Schaltung auch gleich prüfen.
Moin, Axel S. schrieb: > Mithin maximal 2.3V an der Basis. Es sei denn, der ominoese BD156 (ueber den anscheinend nicht viel im www bekannt ist) heisst in Wirklichkeit anders und/oder ist ein Darlingtontyp. Das schwierige an so gearteten Problemstellungen ist halt, dass da dann verschiedene Leute an verschiedenen Stellen (HW-Entwickler, -Bestuecker, Schaltungsbeschreiber, Schaltungsabzeichner, ...) die Moeglichkeit haben, beliebigen Quatsch zu machen. Da sollte man die Freiheitsgrade durch genaue Kontrolle moeglichst einengen. Gruss WK
Dergute W. schrieb: > Es sei denn, der ominoese BD156 (ueber den anscheinend nicht viel im www > bekannt ist) heisst in Wirklichkeit anders und/oder ist ein > Darlingtontyp. Er hatte in einem oberen Post schon was von einem BD135 geschrieben. Könnte bei der Sauklaue auch stimmen.
Axel S. schrieb: > Mit 47R Emitterwiderstand und 35mA Maximalstrom dürfen da maximal 1.6V > am Emitter anliegen. Wie kommst du auf 35mA? Das ist der Nenn-/Maximalstrom (?) der LEDs. Bei zwei parallelen Strängen wären das zusammen 70mA, sofern sich der Strom gleichmäßig aufteilt. Aus den 1.6V an 47Ω werden dann schonmal 3,3V. Dazu kommt die U_BE des Transistors. Bei einer 4.7V Z-Diode mit mit 3.3kΩ Widerstand gegen +5V fließt ein Strom, der mehr als einen Faktor 50 unter dem Nennstrom liegt, zumal daraus auch noch der Basisstrom für den BJT kommen muss. Bei einer angenommenen Stromverstärkung von 100 müssten für 70mA LED-Strom schon 700µA über den 74HC zur Basis des BJT fließen. Alleine das ergibt an den 3.3kΩ einen Spannungsabfall von 2.3V, d.h. die Z-Diode bekommt bei H-Pegel am Ausgang des 74HC überhaupt keinen Strom ab und stabilisiert genau gar nichts, falls das '+' in der Schaltskizze für '+5V' vom Ausgang des 7805 steht. Die Spannung wird abhängig von Exemplarstreuungen und Tagesform des Transistors kräftig einbrechen. Bei einer Stromverstärkung von 100 würde die Steuerspannung nicht einmal ausreichen, um die 70mA zu erreichen. Die Schaltung ist mehr als wabelig und die Welt besteht aus mehr als dem 47Ω Emitterwiderstand. Nachmessen würde etwas Klarheit schaffen. Damit der Strom sich gleichmäßig aufteilt, müssen die LEDs auch noch gut selektiert und thermisch gekoppelt montiert sein.
:
Bearbeitet durch User
Rainer W. schrieb: > Bei einer 4.7V Z-Diode mit mit 3.3kΩ Widerstand gegen +5V Das "+" ist die (noch unbekannte) Betriebsspannung der Platine. Die Led-Stränge gehen auch daran, wie man auf der Skizze sieht. 5V hätte ich mit +5 bezeichnet.
Peter N. schrieb: > Das "+" ist die (noch unbekannte) Betriebsspannung der Platine. Dann häng da irgendeine ausreichend hohe Spannung ran. Der Transistor, die Z-Diode und der 3.3kΩ Widerstand müssen die überschüssige Leistung verheizen, bei der 3er-Kette eben mehr als bei den anderen. Den Wert des 47Ω Widerstandes solltest du allerdings noch einmal überdenken. Wenn die Z-Diode (Typ ?) für einen Nennstrom von 5mA spezifiziert ist, dieser Strom fließt und ich mich nicht verrechnet habe, landest du damit bei einem Strom von 85mA.
1 | I = (4.7V - U_BE) / 47Ω |
Guck's dir in eine Simulation, z.B. mit LTSpice an.
:
Bearbeitet durch User
Michael B. schrieb: > Oh ha, schon mal KEIN Vorwiderstand, sondern eine > Konstantstromschaltung. Ja. > (4.7-0.7)/47= satte 85mA an LED die zumindest 4.7+6x2.5= 19.7V bekommen > aber nur 20mA pro Strang aushalten. 85mA setzten voraus, dass "+" 4,7 Volt beträgt - das sehe ich in diesem Gebastel nicht gewährleistet. > WENN die Schaltung funktionieren soll, z.B. an 24V, dann schalte > in JEDEN LED Strang 100 Ohm als Stromverteilungswiderstand und ersetze > die 47 Ohm gegen 100 Ohm, Baue es real auf. Ein Vorwiderstand pro Strang verbessert die Lage, aber ergibt an einer KonstantSTROMquelle keine saubere Verteilung.
Falk B. schrieb: > Aber die Bahnwiderstände > der LEDs haben da auch ein Wörtchen mitzureden. So ist es Man kann sogar bei Betrieb an einer KonstantSPANNUNGSquelle die LED-Reihe ohne einem konkreten Vorwiderstand betreiben. (mein Slogan: „wenn man es richtig macht“, Grenzwerte nicht überschreiten) Bei mir laufen nun schon über 15 Jahre hunderte LED an einer Konstantspannungsquelle , ohne dass sich eine einzige LED davon verabschiedet hat. Diese Betriebsweise wurde hier im Forum schon ausführlich durchgekaut. Ring frei!
Wolle G. schrieb: > Bei mir laufen nun schon über 15 Jahre hunderte LED an einer > Konstantspannungsquelle , ohne dass sich eine einzige LED davon > verabschiedet hat. > Diese Betriebsweise wurde hier im Forum schon ausführlich durchgekaut. > Ring frei! Und täglich grüßt das Murmeltier. Nur weil es bei chinesischen LED Ketten aus Stahldraht so gemacht wird, und hier gebetsmühlenartig von einigen Unverbesserlichen wiederholt wird, wird es dadurch nicht automatisch richtig.
Manfred P. schrieb: > 85mA setzten voraus, dass "+" 4,7 Volt beträgt - das sehe ich in diesem > Gebastel nicht gewährleistet. Die 4,7V ergeben sich über der Z-Diode und damit auch am Ausgang des 74HC. An '+' muss dafür so viel Spannung liegen, dass ausreichend Strom durch die Z-Diode fließt. > Baue es real auf. Ein Vorwiderstand pro Strang verbessert die Lage, aber > ergibt an einer KonstantSTROMquelle keine saubere Verteilung. Die "saubere Verteilung" wird durch den Betrieb an einer Konstantstromquelle nicht schlechter als an einer Spannungsquelle. Beide Stränge bekommen die selbe Spannung (weil sie parallel geschaltet sind) und die Stromverteilung ergibt sich dann aus der Asymmetrie der LEDs und den Serienwiderständen (Arbeitspunkt folgt aus Kennlinienschnittpunkt von LED-Kette und Widerstand). Der 4.7kΩ Widerstand in der Schaltskizze ist allerdings Unfug. Im H-Zustand des 74HC liegt der parallel zu den 3.3kΩ. Was soll das? Peter N. schrieb: > D5AR26020508130.png
:
Bearbeitet durch User
Wolle G. schrieb: > So ist es > Man kann sogar bei Betrieb an einer KonstantSPANNUNGSquelle die > LED-Reihe ohne einem konkreten Vorwiderstand betreiben. (mein Slogan: > „wenn man es richtig macht“, Nicht schon wieder diese fake news, wir brauchen hier keine Querdenker die Grundlagen der Halbleiterphysik nicht verstanden haben.
Rainer W. schrieb: > Der 4.7kΩ Widerstand in der Schaltskizze ist allerdings Unfug. Im > H-Zustand des 74HC liegt der parallel zu den 3.3kΩ. Was soll das? Allerdings liegt dann zwischen den 3,3k und der Basis des Transistors noch die Clamp-Diode im 05 in Sperrichtung. Bei H (= OC) am Ausgang des 05 bekommt der Transistor ohne den 4,7k keinen Basisstrom.
Peter N. schrieb: > Bei H (= OC) am Ausgang des 05 bekommt der Transistor ohne den 4,7k > keinen Basisstrom. Du hast recht, ich hatte nicht gesehen, dass der 74HC05 ein Open-Drain Ausgang besitzt. Die Schaltskizze zeigt das leider nicht. Dann nehme ich alles zurück und frage mich nur, was der Sinn und Zweck des 74HC05 ist. War der über und musste beschäftigt werden? Sonst könnte man an Stelle von 74HC05, Z-Diode und 3.3kΩ Widerstand einfach einen kleinen MOSFET oder BJT nehmen.
:
Bearbeitet durch User
Michael B. schrieb: > Wolle G. schrieb: >> Man kann sogar bei Betrieb an einer KonstantSPANNUNGSquelle die >> LED-Reihe ohne einem konkreten Vorwiderstand betreiben. > > Nicht schon wieder diese fake news, wir brauchen hier keine Querdenker > die Grundlagen der Halbleiterphysik nicht verstanden haben. Laß bitte die Querdenker aus dem Spiel. Die Fähigkeit quer denken zu können, hat nun wirklich nichts mit diesem Unsinn zu tun.
Rainer W. schrieb: > was der Sinn und Zweck > des 74HC05 ist Möglicherweise hatte der Entwickler Spaß daran, daß man die Funktion der Schaltung nicht gleich erkennt...? Rainer W. schrieb: > Sonst könnte man an Stelle von 74HC05, Z-Diode und 3.3kΩ Widerstand > einfach einen kleinen MOSFET oder BJT nehmen. Für jeden Led-Strang gibt es ein HC05-Gatter (insgesamt 12). Man hätte dafür jeweils Transistoren nehmen können, aber trotzdem die Entkopplungsdioden gebraucht oder jeweils eine 4V-Spannungsquelle verbauen müssen. So erscheint mir der Aufwand an geringsten.
Moin, Peter N. schrieb: > Möglicherweise hatte der Entwickler Spaß daran, daß man die Funktion der > Schaltung nicht gleich erkennt...? Da halte ich es doch fuer deutlich wahrscheinlicher, dass der Entwickler nix von der internen Diode nach +Vcc wusste und auch nicht wusste, wie man eine Konstantstromquelle korrekt ansteuert oder keine Ahnung hatte, was Open-Drain/Collector bedeutet. Da gibts andere Mittel, eine Schaltung zu verschleiern, allerdings sollte man dazu wirklich einen sehr guten Grund haben, sonst stellt man sich (in ein paar Jahren) oder Kollegen womoeglich ein Bein. Gruss WK
Dergute W. schrieb: > dass der Entwickler > nix von der internen Diode nach +Vcc wusste Dann hätte der Entwickler die Versorgungsspannung der HC05 an die normale 5V-Versorgung angeklemmt und keine Extra-Z-Diode verwendet. Wenn jemand wie ich nur das Datenblatt des LS05 (hat keine Clamp-Dioden) für Funktion und Pinbelegung hernimmt, bemerkt er die versteckten Stromquellen nicht. Ich bin nur über die seltsame Versorgung der HC05 mittels Z-Diode gestolpert.
Peter N. schrieb: > Für jeden Led-Strang gibt es ein HC05-Gatter (insgesamt 12). Das kann keiner wissen, weil du dich über die Ansteuerung ausgeschwiegen hast. Um so unverständlicher ist die Versorgung per Z-Diode, obwohl anscheinend 5V aus einem 7805 zur Verfügung stehen. > Man hätte dafür jeweils Transistoren nehmen können, aber trotzdem die > Entkopplungsdioden gebraucht oder jeweils eine 4V-Spannungsquelle > verbauen müssen. Welche Entkopplungsdioden und wofür? Welche 4V-Spannungsquelle? Zeig doch endlich einmal, worum es WIRKLICH geht, statt irgendeiner unvollständigen "Prinzipskizze".
Michael B. schrieb: > die Grundlagen der Halbleiterphysik nicht verstanden haben. Du meinst also, dass Falk.B mit seiner Aussage: Falk B. schrieb: > Aber die Bahnwiderstände > der LEDs haben da auch ein Wörtchen mitzureden. die Halbleiterphysik nicht verstanden hat?
Dergute W. schrieb: > Da halte ich es doch fuer deutlich wahrscheinlicher, dass der Entwickler > nix von der internen Diode nach +Vcc wusste und auch nicht wusste, wie > man eine Konstantstromquelle korrekt ansteuert oder keine Ahnung hatte, > was Open-Drain/Collector bedeutet. Auch so wird kein Schuh daraus. Wenn man mal annimmt, der Entwickler hätte an dieser Stelle "echte" open collector Inverter wie etwa 74LS07 eingeplant, dann würde es immer noch nicht passen. Denn die Konstantstromquelle mit BJT funktioniert nur, wenn die Basisspannung konstant ist. Nur dann erhält man den gewünschten konstanten Spannungsabfall am Emitterwiderstand. Wie gesagt: ich glaube nicht daß die gezeigte Schaltung tatsächlich so ist. Eine Z-Diode (z.B. 3V3) am Ausgang des Inverters würde hingegen wieder Sinn ergeben.
Wolle G. schrieb: > Du meinst Ich meine, dass man sich mit Grundschulmathematik und den Datenblattangaben hinreichend genau ausrechnen kann, dass eine feste Spannung am Beutel von LEDs einige gar nicht oder fast nicht (Schummerlicht) leuchten lässt während andere schon über den Grenzwerten und damit dem Risiko zu sterben betrieben werden, und selbst wenn man die Spannung an das gewählte Exemplar der verwendeten LED anpasst, nicht mal die halbe Helligkeit einstellen darf weil sonst durch Temperaturschwankungen der LED in Betrieb auch die absolute naximum ratings überschritten werden können. Aber solchen Fakten gehst du Lernverweigerer ja aus dem Weg, weil die Grundschulmathenatik schon deinen Intellekt übersteigt
Dergute W. schrieb: > Ich bitte um weniger Gelaber und dafuer mehr Schaltbild. > > scnr, > WK me2, sonst etwas gekrixeltes Laberkopprhabarber und Zeilen. Kann auch lustig sein, muß aber nicht. Und alv weiß das.
Etwas abweichend vom eigentlichen Thema: Es ist schon etwas eigenartig, wie die „Bewertung“ oder wie man das nennt, hier im Forum abläuft. z.B.: Wie kommt es, dass im Originalbeitrag die Aussage von Falk.B mit _4x lesenswert_, im Beitrag von Wolle G. schrieb: > Falk B. schrieb: >> Aber die Bahnwiderstände >> der LEDs haben da auch ein Wörtchen mitzureden. > So ist es das gleiche Zitat mit minus12x lesenswert bewertet wird? Als Wiederholung: Wolle G. schrieb: > Michael B. schrieb: >> die Grundlagen der Halbleiterphysik nicht verstanden haben. >> Du meinst also, dass Falk.B mit seiner Aussage: > Falk B. schrieb: >> Aber die Bahnwiderstände >> der LEDs haben da auch ein Wörtchen mitzureden. > die Halbleiterphysik nicht verstanden hat? Lustig, lustig oder vielleicht besser: traurig, traurig.
Wolle G. schrieb: > Wie kommt es, dass im Originalbeitrag die Aussage von Falk.B mit 4x > lesenswert, im Beitrag von Wolle G.: >> So ist es > das gleiche Zitat mit minus12x lesenswert bewertet wird? Weil du diese Aussage als Anlass nimmst, danach dein Lamento über "LEDs werden mit Spannung betrieben" anzustimmen. Die vielen Minusse kommen nicht von den ersten drei Worten deines Posts, sondern ganz einfach vom Rest des Posts, wo Wolle G. schrieb: > Man kann sogar bei Betrieb an einer KonstantSPANNUNGSquelle die > LED-Reihe ohne einem konkreten Vorwiderstand betreiben. ...... Und diese Aussage ist halt einfach technisch grundlegend falsch und die Lösung hingefrickelt. Das ist, wie wenn du die Drehzahl eines Autos fest auf 3000/min einstellst und dann nur mit Kupplung und Bremse fährst. Auch das "kann man" machen, es ist aber technisch grundlegend falsch. BTW: überleg mal, warum deine Links nicht funktionieren...
:
Bearbeitet durch Moderator
Michael B. schrieb: > Aber solchen Fakten gehst du Lernverweigerer ja aus dem Weg, weil die > Grundschulmathenatik schon deinen Intellekt übersteigt Bei dir scheinen die Aussetzer dann deutlich hervorzutreten, wenn es um Statistik geht. Bei einer Serienschaltung von 6 LEDs müsste es statistisch schon ziemlich dumm laufen, wenn alle 6 LEDs des einen Strangs mit ihrer Vf am unteren Ende liegen und alle 6 LEDs des anderen am oberen. Bei 6 LEDs mittelt sich schon einiges weg, auch wenn man nicht blind drauf vertrauen sollte.
Rainer W. schrieb: > Bei 6 LEDs mittelt sich schon einiges weg, auch wenn man > nicht blind drauf vertrauen sollte. Diese Erfahrung, dass bei LED Reihenschaltungen sich die Summenspannung mittelt, habe ich mit ca. 1000 (tausend) grüne LED bereits schon Anfang des Jahrhunderts gemacht. Wie schon mal gesagt, das Thema: „LED an Konstantspannungsquelle“ wurde hier im Forum bereits ausgiebig durchgekaut
Wolle G. schrieb: > Wie schon mal gesagt, das Thema: „LED an Konstantspannungsquelle“ wurde > hier im Forum bereits ausgiebig durchgekaut Es geht hier nicht um Betrieb an einer KonstantSPANNUNGSquelle. Das solltest du inzwischen mitbekommen haben.
:
Bearbeitet durch User
Wolle G. schrieb: > das Thema: „LED an Konstantspannungsquelle“ wurde > hier im Forum bereits ausgiebig durchgekaut Naturlich. 1000 Leute haben es auch verstanden, nur Wolle nicht.
Wolle G. schrieb: > Diese Erfahrung, dass bei LED Reihenschaltungen sich die Summenspannung > mittelt, habe ich mit ca. 1000 (tausend) grüne LED bereits schon Anfang > des Jahrhunderts gemacht. Und das mit Konstantspannung betrieben? Wie hoch, zweieinhalb, dreitausend Volt?
Norbert schrieb: > Und das mit Konstantspannung betrieben? > Wie hoch, zweieinhalb, dreitausend Volt? Wenn man alle 1000 LED in einer Reihe betreiben würde, dann müsste man schon eine Spannung, die im tausender Bereich liegt, anlegen.
Wolle G. schrieb: > ausgiebig durchgekaut ... und es wird immer von genau den selben wie von einem Ochsen ständig hochgewürgt und wiedergekäut. Wolle G. schrieb: > Wenn man alle 1000 LED in einer Reihe betreiben würde, dann müsste man > schon eine Spannung, die im tausender Bereich liegt, anlegen. Besser noch: eine Konstantstromquelle hat idealerweise eine unendlich hohe Leerlaufspannung und einen unendlich hohen Innenwiderstand. Klar, dass sich mit diesen Gedankengebilde der eine oder andere ein wenig schwertut und dann die vermeintlich einfachere Lösung der Konstantspannungsquelle bevorzugt (die genauso schwer verständlich idealerweise einen unendlich hohen Strom mit einem Innenwiderstand von 0 liefert).
Lothar M. schrieb: > Wolle G. schrieb: >> ausgiebig durchgekaut > ... und es wird immer von genau den selben wie von einem Ochsen ständig > hochgewürgt und wiedergekäut. Nicht "wie von ..", sondern von dem selben Ochsen, welche der Gattung Rindvieh zugehörig sind. > Besser noch: eine Konstantstromquelle hat idealerweise eine unendlich > hohe Leerlaufspannung und einen unendlich hohen Innenwiderstand. Mit dieser Definition habe ich mich in der Berufsschule schwer getan, aber sie stimmt natürlich. > Klar, dass sich mit diesen Gedankengebilde der eine oder andere ein > wenig schwertut und dann die vermeintlich einfachere Lösung der > Konstantspannungsquelle bevorzugt (die genauso schwer verständlich > idealerweise einen unendlich hohen Strom mit einem Innenwiderstand von 0 > liefert). Nö, die Definition der Spannungsquelle mit Ri=0 fand ich leichter zu begreifen.
Manfred P. schrieb: > die Definition der Spannungsquelle mit Ri=0 fand ich leichter zu > begreifen. Weils halt dem Gewohnten eher entspricht. Bei der Stromquelle ist halt Gi=0. Aber lustig wirds, wenn man mal ueberlegt, wie z.B. eine Hausinstallation (gerne erstmal nur einphasig) aussehen wuerde, wenn es kein 230V-Netz sondern z.b. ein 16A-Netz gaebe. Wie dann z.b. sowas wie Ueberschlagschutzschalter (das Pendant zu Leitungsschutzzschaltern) oder Sicherungen arbeiten muessten... Gruss WK
Wolle G. schrieb: > Falk B. schrieb: >> Aber die Bahnwiderstände >> der LEDs haben da auch ein Wörtchen mitzureden. > So ist es > Man kann sogar bei Betrieb an einer KonstantSPANNUNGSquelle die > LED-Reihe ohne einem konkreten Vorwiderstand betreiben. (mein Slogan: > „wenn man es richtig macht“, Grenzwerte nicht überschreiten) > Bei mir laufen nun schon über 15 Jahre hunderte LED an einer > Konstantspannungsquelle , ohne dass sich eine einzige LED davon > verabschiedet hat. Nein, tun sie nicht. Du verstehst es allerdings nicht, auch nicht in 100 Jahren. An dieser Stelle etwas OT, es wird demnächst einen Thread zum Thema deiner penetranten und immer wiederkehrenden Diskussion geben. Ich habe deine Schaltung zum Teil nachgebaut und mache Messungen damit. Allerdings habe ich die Schaltung auch korrekt aufgebaut. Das was du hier mal gepostet hast ist nicht korrekt. Anbei schon mal ein Foto vom Aufbau, die LEDs sind die die du auch verwendet hast: https://www.mikrocontroller.net/attachment/689764/V45011-LED-ohne-RV.jpg ### OT Ende ###
:
Bearbeitet durch User
Dergute W. schrieb: > Manfred P. schrieb: >> die Definition der Spannungsquelle mit Ri=0 fand ich leichter zu >> begreifen. > > Weils halt dem Gewohnten eher entspricht. Bei der Stromquelle ist halt > Gi=0. Mit "Gi" weiß ich nichts anzufangen. > Aber lustig wirds, wenn man mal ueberlegt, wie z.B. eine > Hausinstallation (gerne erstmal nur einphasig) aussehen wuerde, wenn es > kein 230V-Netz sondern z.b. ein 16A-Netz gaebe. Vielleicht in der Art eines Labornetzgerätes, maximal 16 Ampere, aber auf 230 Volt begrenzt? Zurück zur LED: In vielen Anwendungen hat man eine feste Spannung und einen Vorwiderstand. Ich habe dafür ein Blatt in meiner Tabellenkalkulation, wo ich mit den Grenzwerten der Versorgungs- und Flußspannung die Ströme sehe. Das sieht man eindeutig, dass der Strom weniger abweicht, je höher Versorgung und Vorwiderstand sind.
Jörg R. schrieb: > Du verstehst es allerdings nicht, auch nicht in 100 Jahren. Und Du schaffst es nicht, seinen Müll zu ignorieren. Es würde uns allen helfen, Dir (nicht nur in diesem) den Oberleerer zu verkneifen.
Moin, Manfred P. schrieb: > Mit "Gi" weiß ich nichts anzufangen. Der "Innenleitwert". Allgemein: G=1/R; Einheit: 1 Siemens. Manfred P. schrieb: > Vielleicht in der Art eines Labornetzgerätes, maximal 16 Ampere, aber > auf 230 Volt begrenzt? Nein, natuerlich nicht. Wo bliebe da der Spass? Da fliessen immer 16A. Egal, wie hoch die Spannung wird. Eine Hauptsicherung muesste dann z.B. das gesamte Haus kurzschliessen, wenn die Spannung am Hausanschluss zu hoch wird. Lichtschalter muessten parallel zur Leuchte geschaltet sein. usw... Gruss WK
Manfred P. schrieb: > Ich habe dafür ein Blatt in meiner > Tabellenkalkulation, wo ich mit den Grenzwerten der Versorgungs- und > Flußspannung die Ströme sehe. Das sieht man eindeutig, dass der Strom > weniger abweicht, je höher Versorgung und Vorwiderstand sind. Dafür reicht ein Blatt kariertes Papier und ein Bleistift.
Jörg R. schrieb: > Nein, tun sie nicht. Du verstehst es allerdings nicht, auch nicht in 100 > Jahren. Was soll ich nicht verstanden haben, wenn meine LED-Reihen an einer Konstantspannungsquelle ohne konkreten LED-Vorwiderstand unter Nutzung der Bahnwiderstände betrieben werden? > Das was du > hier mal gepostet hast ist nicht korrekt. Wieso nicht korrekt? Mein damaliges Schaltbild zeigte eine von der Raumhelligkeit gesteuerte Spannungsquelle (B3170) für den Betrieb einer Funkuhr. Die LED-Helligkeit der Uhr passt sich automatisch der Raumhelligkeit an. (abends und nachts reduzierte Helligkeit) Zwischenzeitlich über 15 Jahre zerstörungsfreier Betrieb!
Wolle G. schrieb: > Diese Erfahrung, dass bei LED Reihenschaltungen sich die Summenspannung > mittelt, habe ich mit ca. 1000 (tausend) grüne LED bereits schon Anfang > des Jahrhunderts gemacht. Ja Wolle, und diesen Unfug hast du in den 2346 Beiträgen, die du hier insgesamt schon gepostet hast, etwa 2300 mal geschrieben. Ist das das Einzige was du hier posten kannst? Such dir doch mal was neues aus. Dein Kampf mit den Windmühlen der Halbleiterphysik hast du schon seit vielen Jahren verloren. Es ist einfach nicht mehr witzig.
Wolle G. schrieb: > Was soll ich nicht verstanden haben, wenn meine LED-Reihen an einer > Konstantspannungsquelle ohne konkreten LED-Vorwiderstand unter Nutzung > der Bahnwiderstände betrieben werden? Ein Vorwiderstand kann überall mit den LEDs in Serie liegen und egal aus was bestehen und auch noch anders benannt werden: Es bleibt ein Vorwiderstand.
Ralf X. schrieb: > Wolle G. schrieb: >> Was soll ich nicht verstanden haben, wenn meine LED-Reihen an einer >> Konstantspannungsquelle ohne konkreten LED-Vorwiderstand unter Nutzung >> der Bahnwiderstände betrieben werden? > > Ein Vorwiderstand kann überall mit den LEDs in Serie liegen und egal aus > was bestehen und auch noch anders benannt werden: > Es bleibt ein Vorwiderstand. Der Bahnwiderstand ist allerdings ziemlich klein.
H. H. schrieb: > Der Bahnwiderstand ist allerdings ziemlich klein. Kann man sich da beim Wolle sicher sein?
a) Ralf X. schrieb: > Kann man sich da beim Wolle sicher sein? Muss man bei Wolle nicht sein. Aber größer 15 Jahre zerstörungsfreier Betrieb von LED in Reihenschaltung an einer Konstantspannungsquelle könnte man für eine Beurteilung heranziehen. b) Es ist schon eigenartig oder wie man das auch nennen könnte, dass man, obwohl einem Beitrag schon innerhalb von 3h unter „lesenwert“ 5 Minuspunkte verpasst wurden, trotzdem den Beitrag liest. Sollte es nicht reichen, schon bei wenigen Minuspunkten das Lesen eines Beitrages zu vermeiden. Spart viel Zeit.
Jörg R. schrieb: > Ich habe deine Schaltung zum Teil nachgebaut und mache Messungen damit. Wann kann man mit den Messergebnissen rechnen? Die Messungen sollten doch rel. schnell durchführbar sein. Bei der auf deinem Foto gezeigten 7- Segmentziffer kann man nicht meckern.
Bitte melde dich an um einen Beitrag zu schreiben. Anmeldung ist kostenlos und dauert nur eine Minute.
Bestehender Account
Schon ein Account bei Google/GoogleMail? Keine Anmeldung erforderlich!
Mit Google-Account einloggen
Mit Google-Account einloggen
Noch kein Account? Hier anmelden.

