Hallo Leute! Ich bin im Moment dabei ein Stroboskop mit einer U-Xenonröhre zu bauen. Aber da mir die "normalen" Schaltungen mit Glimmlampe o.ä. als Trigger zu langweilig sind würde ich das natürlich gern mit einem µC oder wenigstens einem NE555 machen. Wobei das mit nem ATtiny oder so natürlich viel toller wäre ;)... Nun wollte ich euch auch nicht mit irgendwelchen Codefragen überhäufen. Ich würde einfach gerne wissen, ob die Schaltung, wie ich sie angehängt habe, so funktionieren würde oder ob ich irgendwo fiese Potentiale übersehen habe. Zur Vereinfachung habe ich den ganzen Niederspannungsteil (also Spannungsregler, Glättungs-C, Controller...) stumpf als "Black-Box" ausgeführt. Das soll eigentlich so laufen, daß sich eben C1 und C4 aufladen, und wenn ich nen High auf den Thyristor gebe soll sich der C4 über der HV-Trafo TR2 entladen, so daß die Röhre (ich weiß, das ist ne Sicherung ;) ) C1 kurzschließt und es blitzt. Aber irgendwie hab ich etwas Skrupel die Elektronik (das "-" am Gleichrichter) mit an die 230V-Seite zu klemmen, versteht ihr? Ich hoffe ihr helft mir diese Frage flux aus der Welt zu schaffen... MfG, Joachim
Prinzipiell funktioniert die Schaltung, hat halt nurn paar Nachteile, aber die haben nix mit deiner Frage zutun.
Hey, danke für die rasche Antwort! FürVverbesserungsvorschläge bin ich selbstverständlich offen :) ! Klar hat sie ein paar Macken, falls du z.b. meist, daß der Widerstand R3 recht warm werden könnte... aber immer raus damit, falls noch mehr auffällt, ok? Die Schaltung ist auch nicht direkt auf Energiesparen optimiert ;)... VG, Joachim
Ja, in etwa sowas meine ich. Beitrag "[S] Ladeschaltung Elko für Blitzröhre" Aber so richtig DIE Lösung hab ich noch nicht gefunden.. Aber ich knobel immer im Hinterkopf daran..
@Matthias: Ach du Himmel, du arbeitest ja an einer Deluxe-Lösung staun! Etwas eleganter wäre natürlich statt R3 eine passende Drossel zu verwenden. Dann würde ich wohl auch C1 schneller voll kriegen. Aber dann hätte ich wieder nen Schwingkreis (grübel)... Aber Drosseln sind viel teurer und klobiger (wie ich finde)... Mir ging es hauptsächlich auch darum eben in der Triggerung der Röhre flexibler zu sein. Die Schaltung wäre dann ja ohne Probleme um z.B. eine Sound-Steuerung erweiterbar. Oder es könnten Blitz-Sequenzen abgespielt werden... Hauptsache mir fliegt das Ding nicht um die ohren, weil ich aus Versehen die Elektronik an 230V angeklemmt habe, oder so...
>Hauptsache mir fliegt das Ding nicht um die ohren, weil ich aus Versehen >die Elektronik an 230V angeklemmt habe, oder so... Nein, so wie du das gemalt hast, passt das schon. Nur halt Vorsicht: Du arbeitest am Netz. Evtl. Trenntrafo verwenden zur Sicherheit. Naja, ich bin pennen. GN8
alles klar, dann danke für die antworten :) ! @netzspannung: ist ok, ich ziehe manchmal sogar den stecker vorm löten ;) viel erfolg bei deinem projekt noch! VG, Joachim
Hallo Joachim, Fehler habe ich keine gefunden, aber einige Verbesserungsvorschläge: C1 über einen Brückengleichrichter aufladen. Weiterhin kann ein kein Schwingkreis entstehen wenn eine Diode im Kreis ist, die Drossel halte ich für die bessere Lösung, evtl. kombiniert mit einem Widerstand.
@Alexander: oh, wie peinlich, ein Schwingkreis mit Diode... Daß das mit der Drossel eine elegantere Lösung wäre denk ich auch, aber die habe ich 1.) grad nicht vorrätig und 2.) wird dann die Schaltung ja noch größer. Und den Widerstand kann ich dadurch ja auch nicht sparen. Und ein paar Hochlast-Widerstände hab ich hier noch rumliegen. Aber wie würdest du denn die Drossel und den Widerstand dann ungefähr dimensionieren? Und an einen zweiten Gleichrichter für ne 230V-Schiene hab ich auch schon gedacht. Aber da dachte ich, ob das nicht auch eine Stelle wäre, an der ich (Teile/Platz) sparen könnte (ok, bei nem Preis von 10ct...). Wenn ich den C1 mit nur einer Halbwelle nicht schnell genug voll genug kriege müßte ich das aber wohl nochmal in Betracht ziehen... Ich könnte doch die Teile wie folgt dimensionieren: R3 = 1,5k bei 5W (so einer ist auch in dem Strobo von Conrad) D1 = 1N4007 (1A, Sperrspannung 1kV) R1 = 200k (mit R3 in Reihe sind das 201,5k -> I = 1,14mA) evtl. 150k? T1 = TIC106D (Thyristor mit 400V, 5A) C4 = 0,1µF 400V (MKP o.ä.) C1 = 3µF (Elko) TR1 = 230V/12V TR2 = Strobo-Zündtrafo eben ;) bei der Dimensionierung von C1 hab ich mir folgendes gedacht: Die Röhre kann eine maxim. Blitzenergie von 60Ws ab bei 6 Blitzen pro Minute. Wenn ich aber 25 Bps haben will macht das doch 0,24 Ws Blitzenergie. Wenn E=1/2*C*U² ist, also 0,24Ws = 1/2*C*400V² wird C ja zu 3µF. Oder schlagt ihr was anderes vor? Evtl Spannung und Frequenz kleiner annehmen um dann mit C hochgehen zu können? VG, Joachim
hmmm, dan hab ich gewählt, weil der in dem Conrad-Strobo und hier http://www.knollep.de/Hobbyelektronik/projekte/16/index.htm auch verbaut ist... und der lag bei meiner letzten Bestellung nunmal mit bei ;)
So, jetzt habe ich den Plan mal parametriert. Wie gesagt: TR1: 230V -> 12V / 500mA (muß ja nur für elektronik reichen) TR2: Strobo-Zündtrafo C1: hab ich mit 4,7µF noch vorrätig R1: vielleicht etwas klein? Was meint ihr? Läuft das so wohl? Wenn ja können wir das hier als "closed" ansehen... Danke nochmal für die bisherigen Antworten, vg, Joachim
Die Kapazität von C1 hängt von der Leistung der Blitzröhre ab! Zu grosse Werte zerstören die Röhre schnell, zu kleine führen zu schwachen Blitzen. (Energie pro Blitz soll ungefähr der gespeicherten el. Energie entsprechen) Aber Vorsicht, ein normaler Elko wird dir nach ein paar Minuten schneller Blitzerei mit Schall und Rauch das Zeitliche segnen - ich spreche da aus Erfahrung! Wenn die Röhre zündet, bildet sie sozusagen ein Kurzschluss. Das hat kein Elko gern! Besser ist es, dicke Folienkondensatoren zu verwenden. Diese halten eine solche Behandlung besser aus... Gruss rayelec
Warum willst du da eigentlich einen Elko einsetzen? Ich glaube auch, dass der nicht lange tut.
@Rayelec: Danke für den Hinweis. Das mit der Blitzenergie hab ich versucht oben weiter mal vor zu rechnen. Mit einer größeren Kapazität hieße das dann ja, daß ich dann vielleicht nicht mehr mit 25Hz sondern nurnoch mit 20Hz oder so arbeiten kann. Das wär aber nicht so schlimm. Ich war sehr erstaunt als ich festgestellt habe, daß in der Schaltung, wo die Röhre vorher verbaut war, 30µF (!) verwendet wurden... Bei dem Elko hatte ich aber auch Bedenken, weil der eine in meinem Conrad-Strobo schon geplatzt ist. Aber ob ich so einen dicken "Foko" finde...
>Aber ob ich so einen dicken "Foko" finde...
Nimm mehrere parallel, das ist besser.
Nur so zur Info:
Dieselbe Energie, die im Elko gespeichert, wird auch beim Aufladen in
dessen Vorwiderstand in Wärme umgesetzt.
Bei professionellen Strobos werden die Röhren nur über einen FET an gleichgerichtete Netzspannung gehängt und gezündet. Je nach Phasenwinkel läßt sich die Röhre dimmen. In solchen Strobos findet man garkeine dicken Kondensatoren mehr. Ich hab beim Röhrewechseln mal ein paar Fotos gemacht, falls es jemanden interessiert: http://thfr.th.funpic.de/Strobo/
>Röhren nur über einen FET an gleichgerichtete Netzspannung gehängt und >gezündet.
Und wie werden die Oberwellen unterdrückt?
In Elektor gabs vor ca. 10 Jahren mal eine Bauanleitung für ein richtig dickes Stroboskop. Da wurden die 4.7uF/630V Fokos gleich im Dutzend parallel geschaltet! Dabei war auch ein Kommentar über die Qualität der auf dem Markt erhältlichen Blitzröhren. Die Unterschiede waren vorsichtig ausgedrückt enorm! Faktor 1:100 und so... Rein gefühlsmässig wird deine Schaltung niemals 20Hz Blitzfrequenz schaffen. Dazu ist die Ladeschaltung zu träge. Ich müsste mal die alte Elektor-Ausgabe suchen, um zu gucken wie die das damals gemacht haben... Gruss rayelec
@lippy Keine Ahnung. Ich weiß auch nicht, ob der FET die Röhre löscht, oder ob einfach der Nulldurchgang ausreicht. Die Teile sind wahnsinnig hell. Eine Blitzsalve mit nacktem Arm davor und es kreuseln sich die Haare. Ich kenne noch andere Geräte mit der gleichen Röhre und einer Kondensatorbank, die sind lange nicht so hell und können natürlich auch kein kontinuierliches Licht (>25Hz).
@TOM: Ah, das gleiche Gerät hatten wir schon oft im Rahmen von Veranstaltungstechnik im Einsatz. Das ist einfach ein Knaller *(schwärm* ... Aber jetzt tun sich mir schon wieder Rätsel auf: Wenn der A****C über FETs direkt an Netzspannung geklemmt wird, ich frag mal ganz doof: warum fliegt dann die Sicherung nicht raus? Weil der Impuls zu kurz ist? @Rayelec: hast du nen guten Tipp, wie ich sie schneller machen kann? Unter Berücksichtigung, daß mein Teil ja nicht kommerziell ein gesetzt wird ;)... Das mit dem Phasenanschnitt ist ne gute Sachen, aber ich glaube das ist mir (noch) zu kompliziert... Ich bin, was Programmierung angeht noch auf dem Stand, daß ich froh bin, wenn ich das Teil musikgesteuert blitzen lassen kann. Ich hab also (noch) nicht die Ansprüche wie ein den A****C ;)
>> Wenn der A****C über FETs direkt an Netzspannung geklemmt wird, ich frag >> mal ganz doof: warum fliegt dann die Sicherung nicht raus? Weil der >> Impuls zu kurz ist? Ja, die kurzen Impulse sind es. Ich weiß nicht, ob Du schonmal neben dem entsprechenden Sicherungsautomaten gestanden hast, wenn das Ding an ist, der tut heftige Schläge, löst aber nicht aus. Bei einer längeren Einschlaltdauer, wird die Leistung langsam reduziert. Ich nehme an um auch ein thermisch bedingtes Auslösen zu vermeiden. Während der Halbwellen, in denen die Röhre brennt, fließe >30 A über den Automaten.
Sooo, lang ists her, aber ich wollte mal den Stand der Dinge melden. Die Schaltung ist fertig aufgebaut. Wahrscheinlich nicht normgerecht, aber einiges funktioniert schonmal ganz gut: Hinter der "BlackBox" der Steuerelektronik verbirgt sich ein Spannungsregler auf 5V, Glättungs-C, Betriebs-LED und eine normale µC-Schaltung mit ATTiny12. Der Niedervolt-Teil funktioniert gut. Meine Skrupel den "-"-Pin an die eine Netzzuleitung an zu schließen waren also wirklich unberechtigt. Der Tiny läuft ohne Probleme. ABER: es blitzt nicht! Und ich weiß einfach nicht warum. Das Gate vom TIC106 hängt über 270R am PD0 vom Tiny. Als C1 hatte ich erst so einen Kompensations-C, weil der bei Kapazität und Spanungsfestigkeit die passenden Werte hatten. Aber das hatte nur zur Folge, daß R1 (950R, 15W(!)) sauheiß wurde. Dann hab ich einen Elko mit 1µF drangehängt. Da wurden R1 UND C1 heiß. Das passiert auch, wenn ich kein Signal an den TIC106 weitergebe. Ich hatte die Vermütung, daß der Thyristor evtl. nicht durchschaltet. da habe ich geguckt, ob ich einen funken an TR2 beobachten kann, wenn ich die Sekundärseite nahezu kurzschließe. Aber auch da: nichts! Nun steh ich in zwei Wäldern: warum werden die Teile so heiß, ohne, daß irgendwas anderes passiert? Und: warum krieg ich keine Zündspannung aus TR2?! An der Schaltung habe ich mich an dieser hier orientiert: http://www.knollep.de/Hobbyelektronik/projekte/16/index.htm und an der vom Conrad Strobo. Meine Anpassungen sind ja eigentlich leicht erkennbar. Als Testprogramm erzeugt der Tiny kurze Impulse (an Extra-Led sichtbar) mit anschließender längerer Pause (ca. 2 Impulse/sek). Wäre euch echt dankbar, wenn ihr mir helfen könnten der Wurm zu finden.Da ist ja scheinbar was grundlegendes faul... Danke und schönes Wochenende noch! Joachim P.S.: in der angehängten Bild sind Die Bauteilwerte z.T. noch nicht exakt (R1 z.B.) aber das steht ja hier alles :)...
Die innere Qualität der Bauteile hat entscheidenden Einfluss auf die Funktion. Als C1 und C2 eignen sich nur solche mit niedrigem ESR und niedriger Induktivität (gute Folien-Cs wie FKP, MKP o.ä.) bzw spezielle Blitzkondensatoren (gibts auch kolo in Einwegkameras). Wenn ohne Ansteuerung der R1 heiß wird, ist allerdings was größeres faul. Musst halt mal messen, wo der Strom fließt.
Hallo zusammen Der thread ist inzwischen zwar schon 4 Monate alt, doch vieleicht besteht ja trotzdem noch Interesse. ich habe früher diverse Xenon Stroboskope gebaut und als ich das eben durchlas hat mich das Interesse wieder gepackt =) Bei meinen Stroboskopen habe ich immer Motor-Entstörkondensatoren verbaut. Die Schaltung wurde dann immer über einen Spannungsverdoppler (auch mit Entstörkondensator) mit ca. 640V versorgt. Die höhere Betriebspannung bringt eine etwas kältere Farbe des Lichtes und vorallem eine meiner Meinung nach viel längere Lebensdauer der Lampe. Die Triggerung habe ich immer mit einem Optotriac realisiert, damit ich meine Stroboskope gefahrlos per 0/10V steuerung bedienen konnte. Die grösseren Strobos die ich habe (>1KW) laufen nicht über einen FET, sondern nur über eine Drossel mit mit Einweggleichrichter danach. Allerdings befindet sich hinter dem Einweggleichrichter noch ein kleiner Folienkondensator der auf 640V geladen wird, um die "kalte" Röhre startfähig zu machen (weil hier die 230VAC oder 320V peak nicht reichen). Die Helligkeit wird dann, wie schon erwähnt geregelt, indem die Röhre entweder am Anfang der Phase oder eher gegen das Ende gezündet wird. Zum löschen reicht dann der Unterbruch in der Stromversorgung, der sich bei einer Enweggleichrichtung ergibt. Mit einem Vollweggleichrichter bleibt die Röhre jedoch an, sprich die Sicherung fliegt raus=).
Hallo hill, bei mir besteht sogar sehr großes Interesse... Ich such schon lange nach einer Möglichkeit, ein Stroboskop in der Helligkeit zu steuern. So wie bei den großen DMX-Geräten. Aber 1. sind die mir viel zu teuer, und 2. viiiiel zu groß. ich hab nen selbergebauten biltz mit ner 40W-U-Röhre. Aber da kann ich halt nur die Frequenz ändern. Die Schaltung ist dieses allerwelts-standard-dings, was in allen billigen dingern drin ist. Aber ich wollt schon lang mal pimpen! Hättest du mir da nen schaltungsvorschlag, wie ich diese lampe dimmen kann? vielleicht über die einschaltzeit, indem ich sie zünde und dann nach ner variablen zeit wieder abschalte? wie lang müsste die sein, und wie schalt ich sie ab? mit nem dicken transistor in reihe? oder parallel mit triac löschen? dann verpulver ich halt die gnze energie im kondensator... von der frequenz her würden 25 blitze reichen, also bei jeder 2. halbwelle, wie du das beschrieben hast. aber nach deiner möglichkeit ist die helligkeit bestimmt nicht linear zum phasenwinkel, oder? außerdem kannst du auch nicht allzu fürh oder spät zünden, weil dann die brennspannung noch nicht erreicht ist... wie du siehst, probleme noch und nöcher... aber wenn ich schon mal nen profi gefunden hab... ich hoff auf deine hilfe, und natürlich auch auf die der anderen... Stephan
Hi Stephan Nachdem erstmal lange keine Antwort auf meinen Post gekommen ist dachte ich schon es interessiert niemand, doch nun habe ich glücklicherweise doch noch vorbeigeschaut. Wenn für dich Dimmen wichtig ist, kommst du wohl nicht um eine Lösung mit einer fetten Drossel und parallel geschalteter Diode herum. Ich besitze zwar 2 Geräte, die mit diesem Prinzip aufgebaut sind, habe jedoch selbst noch nie so etwas gebaut. Ich werde mich jedoch damit mal etwas beschäftigen und kann dir dann auch gerne mal einen Schaltplan vom Grundprinzip schicken. Die Helligkeit ist vermutlich kaum linear zum Phasenwinkel, jedoch spielt das m.E. auch keine grosse Rolle. Ich würde die Lampe mit einer Verzögerung nach dem Nulldurchgang Zünden. Die Helligkeit ist in diesem Fall dann zwar auch nicht umgekehrt Proportional zur Verzögerung, doch um sie mit einem Poti zu regeln sollte es allemal gehen. Das Problem, dass die Lampe nicht zu früh oder zu spät gezündet werden darf, kann (und wird) auch relativ einfach gelöst, indem man parallel an die Stromversorgung über die Drossel und Diode (hinter die Diode) einen kleinen Kondensator hängt, der dann (fast) immer mit einer höhen Spannung geladen ist. Naja, eine Schaltung sprachlich zu erklären ist schwierig=) Ich werde in den nächsten Tagen mal einen provisorischen Schaltplan online stellen. Gruss
man muss halt mindestens die Zündspannung erreichen damit es überhaupt Blitz. Ich hätte jetzt gesagt du regelst die Ladespannung des Kondensators um ihn also statt auf 400V auf 300V aufzuladen dann könnte es aber Probleme mit der Zündspannung nach dem Trafo geben ein andere Weg du schaltest zw. verschiedenen Kondensatoren um also geringere Kapazität kürzerer Blitz was bestimmt als dunkler wargenommen wird
Ich habe nun mal eine Schaltung vom Grundprinzip erstellt. Links ist die Stromversorgung der Lampe über die Drossel, rechts ist quasi die 2te Stromversorgung mit Spannungsverdoppler und kleinem Kondensator. C2 ist nun fast immer mit der Betriebspannung der Lampe geladen. Wenn die Röhre nun gezündet wird, entläd sich erstmal C2 über die Röhre und macht diese so nidederohmig. In diesem Zustand leitet die Blitzröhre auch noch bei einer relativ niedrigen Spannung, die nun von der linken Seite her über die Drossel kommt. Auf die Zündung bin ich wie man sieht noch nicht eingegangen. C1 dient lediglich als Entstörkondensator.
Was die Zündung angeht habe ich bis jetz noch keine wirklich gute Idee gehabt was das Timing angeht. Wenn also jemand einen Vorschlag hat, wie man das Stroboskop mit einer präzisen Verzögerung nach dem Nulldurchgang zünden könnte bin ich interessiert. Ich habe jedoch auch noch einen Schaltplan von einem Stroboskop erstellt, das zwar in der Helligkeit nicht regelbar ist, von der Leistung, Effizienz und Lebensdauer der Lampe deutlich besser ist, als der 08/15 Schaltplan. Ich werde den Schaltplan davon diesen abend online stellen.
Hier ist die Stromversorgung. Eigentlich das gleiche wie die 2te Stromversorgung des ersten Schaltplanes. Jedoch werden hier die Kondensatoren je nach gewünschter Leistung um ein vielfaches grösser ausgelegt, als beim ersten Schaltplan. C1 und C2 sind Folienkondensatoren und müssen beide min. 640VDC aushalten. Für ein etwas kleineres Blitzlicht würde ich etwa 5µF für C1 und 25µF für C2 empfehlen. Aus Kostengründen habe ich bis jetzt dafür vorzugsweise Motor-Endstörkondensatoren genommen. Die beiden Dioden sollten für etwa 800V und 6A ausgelegt sein, wobei mehr natürlich nicht schadet. Da die Strombegrenzung bei dieser Schaltung mit Kondensatoren realisiert wird, braucht es keinen Widerstand vor der Schaltung, der dann Energie in Wärme umwandelt. Somit wird es möglich, auch deutlich leistungsfähigere Stroboskope zu bauen. Ein weitere Vorteil dieser Schaltung ist, dass die Blitzlampe mit einer Spannung von ca. 640V betrieben wird. Durch die höhere Betriebspannung verlängert sich die Lebensdauer der Lampe und der Kondensator entläd sich schneller, was eine etwas höhere Farbtemparatur zur folge hat. Natürlich gehört noch eine Sicherung vor die Schaltung und ob ein 100nF Kondensator als Entstörung ausreicht wage ich auch zu bezweifeln. Für Verbesserungsvorschläge bin ich offen.
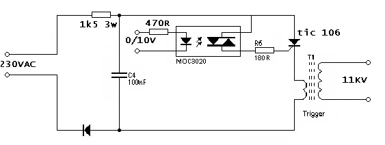
Die Triggerung darf natürlich auch nicht fehlen=) Dort wo 0/10V steht gehört natürlich noch eine Timerschaltung hin (mit einem NE555 oder µC). Die Werte der Widerstände sind ohne Gewähr, ich nehme jedoch an, dass die Schaltung so funktionieren sollte.
Tut mir leid, es gehört natürlich noch eine Diode rein, sonst wird das nichts =)
Hallo, das ist ja super, hab schon befürchtet der Thread ist irgendwo untergegangen... Ist deine Drossel so eine wie für Leuchtstoffröhren? In welcher Größenordnung ist die denn angesiedelt? Also wenn ich das richtig verstehe ist die Schaltung im rechten Teil die Stromversorgung, die zur Zündung der Lampe nötig ist, da reicht also ein relativ kleiner Kondensator. Und ab der Zündung (sprich Entleerung von C2) übernimmt die Drossel die weitere Stromversorgung der Röhre. Gezündet wird dann bei einem bestimmten Phasenwinkel. Die Zündung ist nicht so das Problem, das mache ich mit einem µC mit Nulldurchgangserkennung. Da kann ich evtl. eine Korrekturkurve für die Helligkeit miteinbauen. Überall wo 230VAC dabeisteht sind die gleichen Anschlüsse, oder? Wie sieht das denn mit der Vorsicherung aus, was fließen denn da so für (Spitzen-)ströme? Was die Schaltung angeht hast du mir schon sehr geholfen was das Prinzip angeht, vielen Dank. Und die Idee ohne Widerstand finde ich auch super!
Das mit der Stromversorgung stimmt so und überlall wo 230VAC steht sind die gleichen Anschlüsse, ich fand es so einfach übersichtlicher=). Die Drossel ist normalerweise mit rundem Ferritkern, etwas anderes sollte prinzipiell auch funktionieren. Ich nehme jedoch an, dass eine Drossel für eine Leuchtstoffröhre zu wenig Strom durchlässt. Den Spitzenstrom würde ich auf 50A oder mehr schätzen, die Diode muss auf jeden fall grosszügig dimensioniert werden. Die 50A hören sich bestimmt nach viel an, doch anscheinend darf dass so gemacht werden... Was für einen Wert die Drossel haben sollte weiss ich (noch) nicht =) Es kommt drauf an wie viel Leistung du willst, was für eine Blitzlampe verwendet wird, wie viele Blitze pro Sekunde gewünscht sind und auch ob die maximale Leistung durch die Drossel oder durch die Triggerung (Phasenwinkel) begrenzt wird. Die Blitzlampe spielt eine Rolle, weil eine kleine Lampe vermutlich auch einen kleineren Innenwiderstand hat als die grossen Stab-Blitzlampen. Auch wenn das ganze natürlich als 40W version funktionieren könnte, würde ich bei dem Aufwand eine etwas grössere Blitzröhre nehmen. (Obwohl man natürlich kurzzeitig auch durch eine "40W" Röhre 100W pumpen kann :P )
So, ich melde mich wieder von der Strobo-Front...
ich hab jetzt mal angefangen, nen einfachen Controller für ein
bestehendes Strobo (soeins mit einschalter und poti, stinkeinfacher
Triggerschaltung mit Glimmlampe und 40W-Röhre) zu bauen. der hat eine
triggerung über optokoppler und später vielleicht mal ne dmx-anbindung.
energiespeicher sind 5 Kondensatoren (ich denk mal MKPs, jeweils 2,2µF)
und jetzt hab ich mir gedacht, ne sehr einfache helligkeitssteuerung
wäre doch einfach die kondensatoren abzuschalten (alos nur einer, 2, 3,
4 oder alle 5). vorschlag:
+600V ----*----------*------- -> Blitzröhre
| |
Rel 1 \ Rel 2 \
\ \
| | ...
----- -----
----- -----
| |
0V -------*----------*------- -> Blitzröhre
Das schalten kann stromfrei passieren, das kann ich mit dem controller
ja entsprechend synchronisieren... mein problem ist nur, wenn die röhre
zündet fließt ja ein großer strom und die relais sollen ja die 600V
DC(!) auch aushalten. leider hab ich noch nix passendes gefunden, sollte
auch mit 9V spulenspannung anziehen...
Haut das hin oder brutzel ich mir da die kontakte??
mit triacs is glaub ich net so toll wegen dem hohem dI/dt. außerdem
krieg ich die einmal gezündet nicht wieder aus (oder???).
Bin mal wieder ratlos und hoffe auf eure hilfe!
Hi Irgendwie glaube ich, dass die Relais in relativ kurzer Zeit unbrauchbar werden... Ist jedoch reine Spekualtion da ich noch nie etwas ähnliches versucht habe. Wenn du also passende Realais findest kannst du es Probieren, falls du lust hast... Ob es mit Triacs funktionieren würde kann ich auch nicht genau sagen. Die Frage ist, wie von dir schon erwähnt, ob man die Dinger nachdem sie leiten auch wieder löschen kann. Obwohl ich hier sagen muss, dass das nicht ganz unmöglich scheint, da nicht immer Strom in die Kondensatoren fliesst. Hat dein Strobo jetz eine "Betriebspannung" von 320V oder 640V? Denn wenn du 640V hast, darf die Triggerschaltung nicht daran hängen, da der Thyristor die 640V vermultich nicht aushalten wird.
es sind tatsächlich 640V (spannungsverdoppler an 230V=320V spitze), ist aber kein problem, der triggerkondensator wird nur auf 120V aufgeladen und mit ca. 10V am gate gezündet
Hallo, nachdem ich diesen ganzen Text gelesen habe, bin ich mir sicher, dass ich meine Frage hier stellen kann und auch eine vernünftige Antwort erhalte. Ich habe mir vor wenigen Tagen ein defektes Stroboskpb über Ebay ersteigert. Lediglich die Blitzröhe und ein Gleichrichter waren defekt. Diese Teile wurden ausgetauscht. Nun bin ich mit meinem Latein jedoch am Ende. Es handelt sich um ein 1500W starkes dimmbares und in der Blitzfrequenz einstellbares Stroboskop von der Firma American... . Sobald ich das Stroboskopb mehr als 2/3 der Leistung aufdrehen will, löst der 16A B LS-Automat aus. Das ist in sofern problematisch, da das Gerät an sich nicht mehr als max. 1600W aufnehmen soll. Ich frage mich, wie es möglich ist, die Sicherung zm auslösen zu bringen? Im Betrieb "klackert" dich Sicherung, so als ob sie kurz davor ist auszulösen. Woran liegt dies und was kann ich dagegen tun? Schaltplan kann ich anhängen, falls gewünscht. Vielen Dank schon im Vorraus
Das ist normal. Die Teile ziehen einen hohen Pulsstrom, der nur von den Drosseln limitiert wird. Du brauchst anscheinend einen trägeren Automaten (C16). VG, Hendrik
Viele Strobos haben gar keine Blitz-Kondensatoren mehr, sondern ziehen den Strom (50 - 80A) direkt aus dem Netz. Normal ist der Strom zu kurz, um einen Automaten auszulösen (hierfür gibt es schöne Diagramme). Allerdings kommt es sehr auf die Impedanz des Netzes und der Leitungen an, wieviel Strom wirklich fließt. Natürlich könnte man sagen, nimm einen trägeren Automaten (C statt B). Aber vielleicht überlastest Du die Röhre damit. Wäre schade darum. Schonmal eine andere Steckdose / Stromkreis versucht? Poste bitte mal den Plan, oder nenne einen Link darauf.
Hallo, danke für die sehr schnellen Antworten. Die Auslösecharakteristiken der Sicherungen sagen mir was. Beim B Automat muss ca. der 5-8 fache Strom fließen. Es ist unglaublich, dass über das Strobo bis 128A fliesen.... Das ist schon recht viel. Eine gute Idee wäre sicherlich der C-Automat. Aber generell gilt doch bei diesem, dass man ihn nur für größere Motoren oder Trafos verwenden soll, aufgrund des hohen Anlaufstroms. Einen anderen Stromkreis habe ich schon probiert, mit dem selben Effekt. Ich werde das Ding morgen im Keller anschließen. Da bin ich wesentlich näher an der Hauptverteilung, somit ist die Schleifenimpedanz geringer. vielleicht klappts. Ansonsten, was sagt ihr dazu einfach zusätzlich einen Folienkondensator parallel zur Röhre zu schalten? Schaden kanns doch nicht oder?
Bitte melde dich an um einen Beitrag zu schreiben. Anmeldung ist kostenlos und dauert nur eine Minute.
Bestehender Account
Schon ein Account bei Google/GoogleMail? Keine Anmeldung erforderlich!
Mit Google-Account einloggen
Mit Google-Account einloggen
Noch kein Account? Hier anmelden.






