Womit kann ich einen ispLSI 1024 im PLCC 68 Gehäuse programmieren ? Gibts ne Schaltung dazu ? Habe leider nur die Pinbelegung gefunden.
Hallo, isp bedeutet in system programmable. Dieser Baustein wird über eine JTAG-Schnittstelle und einen Programmadapter programmiert. Dafür gibt es Schaltpläne und die Software bei Lattice. Ich vermute aber, daß du eine eigene Schaltung in das CPLD programmieren möchstet. Dazu braucht man dan die Design-Softwarer ISP-Lever Classic, wobei meines Wissens nach die alten Typen von der freien Version nicht mehr unterstützt werden. Grüße Günther
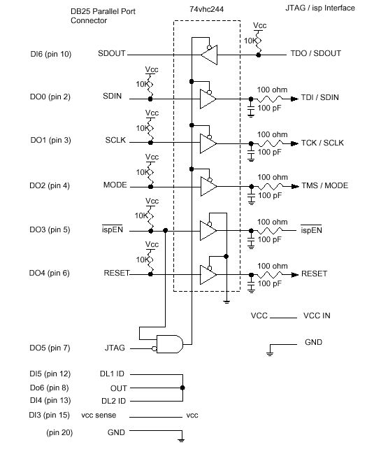
http://mezdata.de/isp/ Hier kan man sich gut über LATTICE ispLSI Informieren. Google mal nach "ispLSI" aber in der Kategorie suche nach Bilder. Da ist auch die Schaltung für den isp-Adapter drin. Gruss Holger.
ispLeverClassic unterstützt das IC. Die Software ist bei Lattice kostenlos, man muss sich nur registrieren. Programmiergerät für LPT1 kann man sich bauen. Es reicht auch ein Druckerkabel, die ICs im Programmierkabel können nach meiner Erfahrung bei 5 V ICs entfallen. Literatur: Das isp-Buch bei Elektor.
Die Software habe ich . Hat jemand auch noch eine Schaltung zur Programmierung ? Bei Lattice gibt es nur fertige Programmierkabel für Parallelport. Da ich nur einen einzigen IC programmieren möchte lohnt sich die Investition in solch ein Kabel kaum.
Habe die Schaltung nachgebaut. Kabel wird erkannt, aber der ISPL nicht gefunden. Bei Board Diagnostics steht ein rotes Fragezeichen bei SDI . SDI Ist aber korrekt angeschlossen.
Wenn du noch einen 2. ispLSI1024 hast -> damit probieren. Ansonsten mal an den Einstellungen des Parallelports drehen. SPP/EPP/ECP...
P.S.:
> There should be a .1uf cap between /ispEN and ground on your board.
Vielleicht hilfts.
Muß der Isp extra mit Spannung versorgt werden ? Hatte ihn mit an Vcc vom Parallelport angeschlossen. Der Isp hat gleich 4x Vcc und GND, müssen alle belegt sein ?
Vcc an alle Pins weiß ich nicht, ich würde alle Pins Gnd und Vcc anschließen, mache ich jedenfalls so. Am Parallelport liegt Vcc ?? Programmiergerät an Windows XP funktioniert über Parallelport. .
Bitte melde dich an um einen Beitrag zu schreiben. Anmeldung ist kostenlos und dauert nur eine Minute.
Bestehender Account
Schon ein Account bei Google/GoogleMail? Keine Anmeldung erforderlich!
Mit Google-Account einloggen
Mit Google-Account einloggen
Noch kein Account? Hier anmelden.
