Wie realisiert man üblicherweise Stromsparmodus mit µCs und welchen Spannungsregler setzt man vernünftigerweise ein? Das Programm soll durch ein externes Ereignis geweckt werden, aber im Ruhemodus soll ein geringer Strom gezogen werden, der einen Akku nicht nennenswert bis zur nächsten Ladephase belastet. Ruhestrom so etwa 10-20 µA. -- Christoph
Falk Brunner schrieb: > Siehe Sleep Mode. Danke, Falk. Sehr schön. Wußte nicht, daß es diese Ausarbeitung gab. Bliebe noch die Frage nach dem Regler (9V Akku => 5V) Irgendwas von LT vielleicht? -- Christoph
Maßnahme 1: Ersetze den veralteten Mega8 durch den neueren Mega88. Der ist pinkompatibel, hat aber einen größeren Spannungsbereich und mehr Stromsparmöglichkeiten und kostet nicht mehr. Maßnahme 2: Runter mit der Versorgungsspannung. Die geht quadratisch in die Verlustleistung ein. Also alles auf 3.3V oder 2.5V umstellen, und schon lebt Deine Batterie wesentlich länger. Die übliche 74HC Logik funktioniert auch damit; ansonsten gibts 74LVC zB. Schau in die Datenblätter und informiere Dich über die verschiedenen Logikfamilien: http://www.nxp.com/documents/brochure/75017351.pdf Für geringe Ströme sind LDOs effizienter als Schaltregler. Und statt einer 9V Batterie könnte es ein 3.7V LiIon-Akku werden. fchk
@ Christoph Kukulies (chriskuku) >Bliebe noch die Frage nach dem Regler (9V Akku => 5V) Irgendwas von LT >vielleicht? Artikel lesen und den Links folgen.
Christoph Kukulies schrieb: > Bliebe noch die Frage nach dem Regler (9V Akku => 5V) 9V ist eine ganz dämliche Wahl. Lies Versorgung aus einer Zelle XL
Ob dämlich oder nicht, zumindest brauche ich 5 V, weil Midi ausgegeben werden muß. Eine Ladespannung von 11-14V~ (AC) steht im "angedockten" Zustand zur Verfügung. Das ganze soll durch die Akkupufferung möglichst immer verfügbar sein. Grüße Christoph
@ Christoph Kukulies (chriskuku) >Ob dämlich oder nicht, zumindest brauche ich 5 V, weil Midi ausgegeben >werden muß. Das kann man aber auch anders erreichen. 4xAA oder ähnlich.
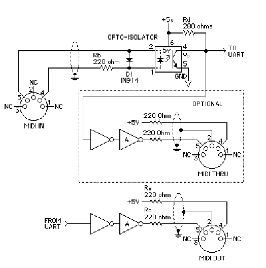
Christoph Kukulies schrieb: > zumindest brauche ich 5 V, weil Midi ausgegeben > werden muß. Nicht unbedingt. Lt. Specs sitzt zwar ein 220R Widerstand im Midi In eines Gerätes, aber du musst ja nicht unbedingt die beiden 220R im Sender implementieren, sondern kannst diese entsprechend kleiner machen. Das verletzt zwar ein klein wenig die Spezifikationen, sollte aber gut funktionieren. Wichtig ist ja nur, das die LED im Empfangskoppler sauber leuchtet.
Falk Brunner schrieb: > @ Christoph Kukulies (chriskuku) > >>Ob dämlich oder nicht, zumindest brauche ich 5 V, weil Midi ausgegeben >>werden muß. > > Das kann man aber auch anders erreichen. 4xAA oder ähnlich. Oder 2xAA. Und einen Stepup, der abgeschaltet die Eingangsspannung durchläßt. Dann läuft der µC im Sleep mit knapp 3V. Wenn es ein ATmega88P ist, dann reichen dem auch 1.8V aus fast leeren Batterien noch. Nach dem Aufwachen macht er den Stepup an und hat dann 5V. XL
>Bliebe noch die Frage nach dem Regler (9V Akku => 5V) Irgendwas von LT vielleicht? Ist ganz schlecht. Mach waehrend der Ruhepahse zB 3.3V. zB mit einem TPS62056, der zieht selbst nur 12uA.
Im Stand-By wird der Regler, der die Versorgung des Kontrollers übernimmt den Großteil des Energiebedarfs ausmachen, also muss das ohne Regler laufen. Ich würde einen einzelnen Lithiumakku einsetzen, der den Kontroller direkt speist und die 5V mit einem Aufwärtswandler erzeugen, der nur wenn es notwendig ist läuft. Ein Atmega 88PA zieht dann im Power Save 1µA, Spannungsregler liegen mindestens eine Größenordnung höher.
Bitte melde dich an um einen Beitrag zu schreiben. Anmeldung ist kostenlos und dauert nur eine Minute.
Bestehender Account
Schon ein Account bei Google/GoogleMail? Keine Anmeldung erforderlich!
Mit Google-Account einloggen
Mit Google-Account einloggen
Noch kein Account? Hier anmelden.
