Hallo! Ich würde gerne das Heizelement eines Glühweintopfes mit einem ATMega 328 steuern. Dazu ist im Topf ein Temperatursensor DS1820 verbaut, den ich auch schon erfolgreich auslesen kann. Ich hätte mir das wie folgt überlegt und würde Euch bitten mich auf Fehler in meiner Planung hinzuweisen, da ich softwaretechnisch gut, aber in punkto Hardware sehr aus der Übung bin. Das Heizwerk hat eine Nennspannung von 230V AC bei 1800W Leistung. Die Temperatur des Heizwerkes will ich über eine Phasenanschnittssteuerung steuern. Dazu muss ich zuerst den Nulldurchgang des Spannungsverlauf entdecken, das möchte ich mit dieser Schaltung machen: http://www.dextrel.net/diyzerocrosser.htm Der Nulldurchgang löst im uC einen Interrupt aus, der das Zünden des Triacs auf der „Sekundärseite“ je nach gewünschter Temperatur verzögert. Soll der Triac nun zünden, so setze ich einen I/O Pin des Atmegas auf High. Die Sekundärseite hab ich mir so vorgestellt (siehe Anhang). Könnte das so in etwa hinhauen? Liebe Grüße, Florian
da das ganze System sehr Träge ist, und 1800W bei Phasenanschnittssteuerung sehr viele Störungen erzeugen, sollte man lieber eine Packetsteuerung verwenden (ist sogar bei größeren Heizungen Pflicht!). Dabei wird immer eine ganze Periode durchgelassen. Geschaltet wird immer im Nulldurchgang.
Für Packetsteuerung bekommt man SSRs mit Triac/Optokopler/Zero-Crossing in einen Gehäuse wie z.B. das S216S02F.
Hallo, bei einem so trägen System würde ich eine 2 Punkt Regelung aufbauen. (Sollwert +/- Hysterese) also entweder voll oder gar nicht einschalten. Die Trägheit eines Heizelements + Topfs + Inhalt ist wahrscheinlich gigantisch. An welches Regelverhalten hast du gedacht ?
Danke für Deine Antwort, Peter! Ja.. das klingt einleuchtend. Und danke "Kein Name" :) für den Tipp mit dem S216S02F. Das Bauteil sieht wirklich sehr geeignet aus. Im Datenblatt (http://www.mouser.com/ds/2/365/s216s02_e-184067.pdf) steht, dass ich einen Snubber-Circuit brauche. Das dürfte aber bei einem Heizelement nicht ganz so tragisch sein, oder? Wenn ich das richtig verstanden habe, ist die Vorgehensweise wie folgt: Ich einen Ausgang des uC für eine bestimmte Zeit auf High. In dieser Zeit (ab nächsten Nulldurchgang) lässt der S216S02F alle Wellen durch. Danach setze ich den Ausgang auf Low. Vom nächsten Nulldurchgang der Spannung an werden dann keine Wellen mehr durchgelassen. Da ist keine Synchronisataion mit der Main-Spannung erforderlich und ich würde mir auch die Nulldurchgangsdetektion auf der Eingangsseite sparen...
Hallo Maik! Danke für Deine Antwort. Ich würde gerne mit entsprechender Aussenisolierung und Rührwerk (falls die natürliche Konvektion nicht ausreicht) einen 25 Liter Behälter auf 1-2 Grad genau erhitzen und die Temperatur halten. Wichtig dabei ist, dass der Sollwert nicht allzu weit (1 Grad) überschritten werden soll. Ich werd aber auf alle Fälle ausprobieren, ob eine einfache 2 Punkt Regelung ausreichend ist. Diese könnte ich auch mit dem S216S02F realisieren...
Ein Optokoppler der dann wieder rückwärts (5V) mit dem System verbunden ist...
...ja, das hab ich mir anfangs auch schon gedacht :) Ich werd wohl ein seperates Netzteil für das Ding nehmen bzw. die 5VDC vom Ausgangskreis abzwacken müssen. Hab irgendwo gelesen dass es für das schon einen passenden Baustein gibt, dessen Name mir jetzt aber nicht einfallen will.
Ich wuerd auch einen SSR (zB KSD240AC8) nehmen und das aber proportional ansteuern. Die die Anzahl Wellenzuege pro Sekunde oder Minute vorgeben und abzaehlen.
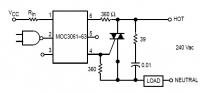
Das bisschen mA des Optokopplers 4N35 reicht für die Zündung des Triacs nicht aus. Wo ist die Masse der +5V-Quelle für den Zündkreis angeschlossen ??? Besser wäre hier ein Opto-triac (MOC30xx Typenreihe) als Zündimpulserzeuger für das Triac. -eine Hilfsspannung für den Zündkreis entfällt dann. -es gibt Typen aus der Reihe mit eingebauter Nulldurchgangserkennung. Für Anfänger würde ich eher ein fertiges SSR (solid-state-relais) empfehlen. Da sind schwierige Probleme wie Sicherheit gegen Spannungsspitzen, gegen hohes du/dt beim Anschalten ans Netz bereits berücksichtigt. Und ein passendes Gehäuse für die Baugruppe wird mitgeliefert Noch besser wäre für den Anfang wäre sogar ein ausreichend dimensioniertes Relais. Schließlich ist solch ein Kocher kein für Dauerbetrieb benutztes Gerät Oder ein fertiger bimetall-gesteuerter Temperaturschalter aus dem Ersatzteilbereich.
Ich persönlich finde da einen Snubber übertrieben. Nur mit Varistor hatte ich noch keine Probleme. Um Nulldurchgang braucht man sich mit so einem SSR keine Gedanken machen. Gibt nur Probleme mit Resonanzfrequenzen. Bei Wellenpaket hört man einigen Bereichen leichtes scheppern. Mit einer 2-Punkt Regelung keine Probleme.
Hallo nochmal, ich empfinde hier ein Regelverhalten wie PD / PID als "mit Kanonen auf Spatzen" schießen. Beispiel: Solltemperatur: 20°C Hysterese 2°C Abschalten bei >= 21°C Einschalten bei <= 19°C Wie sich das Gesamtsystem verhält kann man am einfachsten im System austesten und dementsprechend die Hysterese einstellen. Gibt es eine Nacherwärmung der Flüssigkeit nach abschalten des Heizelements (da es wärmer als die Flüssigkeit geworden ist ?) Wie schnell reagiert der Kocher beim Einschalten ? (Würde ich mit offenem geschlossenen Deckel und niedrigem vollen Füllstand ausprobieren) Nur wenn diese "Verzögerungen" größer sind als die gewünschte Genauigkeit müßtest du dir Gedanken um eine genauere Ansteuerung machen.
Vielen Dank für die vielen Antworten! Ja, ich werd jetzt mal so vorgehen wie Maik das vorgeshlagen hat. Ich schau mal wie groß die Temperaturschwankungen bei einer 2-Punkt Steuerungen sind und wenn das noch nicht ausreicht, dann werd ich mir bezgl. Schwingungspaketsteuerung Gedanken machen. Auf alle Fälle vielen Dank für Euren Input!
Florian W. schrieb: > Vielen Dank für die vielen Antworten! > Ja, ich werd jetzt mal so vorgehen wie Maik das vorgeshlagen hat. Ich > schau mal wie groß die Temperaturschwankungen bei einer 2-Punkt > Steuerungen sind und wenn das noch nicht ausreicht, dann werd ich mir ... bezüglich einer Umwälzung Gedanken machen 25 Liter und nur ein Heizelement. Das kannst du ohne Umwälzung vergessen. Das wird so nie eine halbwegs einheitliche Temperatur annehmen.
Florian W. schrieb: > Könnte das so in etwa hinhauen? Nein. Du hast die +5V nicht auf Seiten des TRIAC und der Transistor ist eh falsch rum. Aber freu dich, du bist nicht der Erste, der mit einem uC 230V~ steuern will, sondern der vermutlich 738-millionste. Da kann man ganz auf die chinesische Art erst mal gucken wie andere das machen. So: http://forum.electronicwerkstatt.de/phpBB/thumb.php?img=14289_1244375284file1_Triac_moc.jpeg Also mindestens mit einem 600V MOC3061, und einem ausreichenden TRIAC bei 10A auf Kühlkörper, mit dem Snubber und den Widerständen. ICH würde auch noch eine Feinsicherung knapp über dem Strom der Heizung und unter dem Schmelzintegral des TRIACs dazubauen, denn wenn die Heizung einen Kurschluss macht, dann soll nicht der TRIAC kaputt gehen, denn die Haussicherung ist bestimmt langsamer. An statt so was selber zu entwicklen, mit Gehäuse, Netzteil, Trafo, Bedienelementen auszustatten, kann man das auch einfach schick digital beim Chinamann fertig kaufen, denn der hat begriffen, wie es geht, und sogar einen besseren selbst-trainierenden PID Algorithmus implementiert. http://www.ebay.de/itm/Mini-Digital-220V-10A-STC-1000-Microcomputer-Temperature-Controller-With-Sensor-/321113030963
Das Geraet, das MaWin vorgeschlagen hat, gibt es bei AliExpress anstelle von 22 EUR zu 10 EUR inkl. reg. Versand. http://www.aliexpress.com/item/Free-Shipping-200-240V-Newest-Digital-LCD-Thermostat-Regulator-Temperature-Controller-Thermocouple/864373398.html
>Ich würde gerne mit entsprechender Aussenisolierung und Rührwerk (falls >die natürliche Konvektion nicht ausreicht) einen 25 Liter Behälter auf >1-2 Grad genau erhitzen und die Temperatur halten. Das klingt doch sehr nach Bierbrauen, richtig? :-)
Hallo! Vielen Dank nochmal für die Antworten :) Danke auch für den Tipp für das chinesische Gerät aber ich will dennoch versuchen das Ding selber zu bauen - frei nach dem Motto: der Weg ist das Ziel :) Mitleser, Du bist mir auf die Schliche gekommen ;)
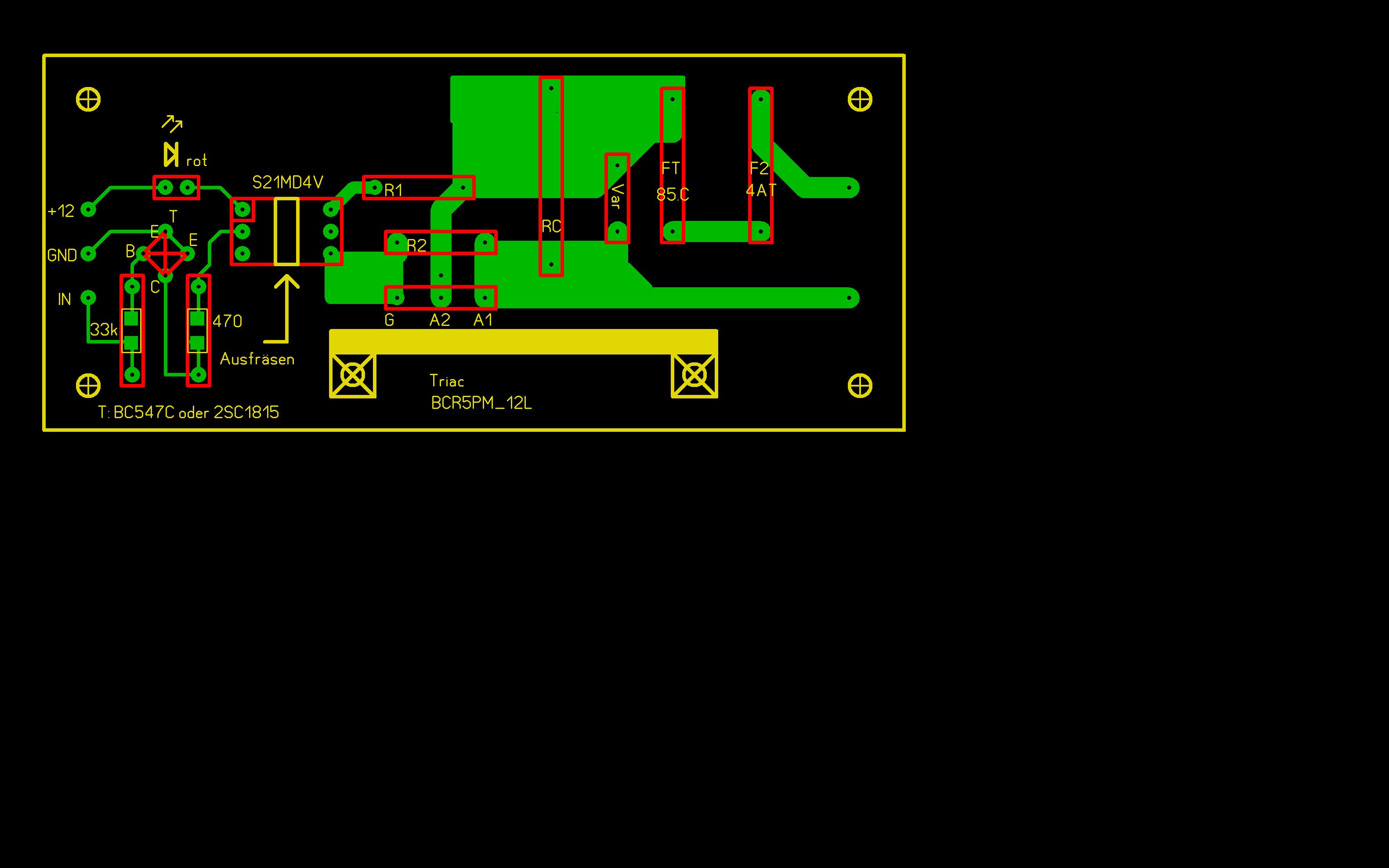
Florian W. schrieb: > aber ich will dennoch > versuchen das Ding selber zu bauen - frei nach dem Motto: der Weg ist > das Ziel :) sowas benötige ich auch aber für ne lichtorgel. hab ne platine entworfen. kann man das so machen? r1 und r2 müssen noch dimensioniert werden. der triac bcr5pm benötigt min. 20ma zündstrom.
Mehmet Kendi schrieb: > Das Geraet, das MaWin vorgeschlagen hat, gibt es bei AliExpress anstelle > von 22 EUR zu 10 EUR inkl. reg. Versand. Zwar ist es kein LCD mit Thermoelement, wie in der Überschrift bei ALiExpress genannt, sondern LED mit NTC, aber der Preis für ein Ding mit 10A Relais ist erstaunlich.
dolf schrieb: > kann man das so machen? Kann man, aber bei einer Lichtorgel (Phasenanschnitt) sollte eine Funkentstördrossel dazu (an den Platz von FT). Da du aber einen S21MD4V verwendest, willst du sowieso nicht dimmen, du hast wohl schon auf Heizung umgebaut, daher auch FT.
MaWin schrieb: > Da du aber einen S21MD4V verwendest, willst du sowieso nicht dimmen, du > hast wohl schon auf Heizung umgebaut ja ich will nicht dimmen. die lichtorgel liefert ein pwm artiges signal. mit fertigem ssr funktioniert das schon so wie es soll. ich hab aber etliche optotriac´s und triac´s im regal die verbaut werden sollen. das netzfilter ist auf ner anderen platine. ft soll bei varistordefekt den stromkreis unterbrechen um eine überhitzung des varistors zu vermeiden.
Ich hatte letztens ein ähnliches Projekt. Es ging darum einen El. Durchlauferhitzer zu regeln. Controller ist ein Tiny85, Schaltelement ein 3-Phasen SSR, Fühler ein 10K NTC mit einfacher Widerstandslinearisierung. Geregelt wird per PID Regler. Ist zwar etwas lieblos zusammen gestückelt aber erfüllt den Zweck zufriedenstellend. Ich pack dir die Projektdatein mal hier rein. Dabei ist der Bascom Source für den Controller und ein Excel Tool zur Streckensimulation und Regleroptimierung. Vll. kannst du je was davon verwenden.
Hier vll. mal noch ein simulations/optimier Tool was besser zum Kochtopf passt. War ursprünglich für meinen Backofen gedacht und simuliert pt1-pt3 Verhalten. Zuerst eine Sprungantwort aufnehmen und die Ergebnisse in Spalte R einfügen. In Spalte Q kommt die Stellgröße für den Sprung (hier 25%) In K6 das Zeitintervall der Messung eintragen Das x in G1 entfernen (deaktiviert den regler und legt den Sprung auf die simulierte Strecke) Die Sprungantwort in Spalte R ist die grüne Linie im Diagramm Die simulierte Sprungantwort ist die lila Linie im Diagramm Nun die Streckenparameter in den Zellen B,C,D - 1,2,3 solange anpassen bis die Simulation mit der Messung übereinstimmt (grüne und lila Linie deckungsgleich) Jetzt ein x in G1 schreiben (aktiviert den PID Regler) GgF. Zeitintervall in K6 an den späteren Regelalgorithmus anpassen. (wichtig für Stellungsalgorithmus) Jetzt die Reglerparameter in den Zellen K1,4,5 anpassen bis alles passt. Mit dem Store Button kann der derzeitige Istwertverlauf für Vergleichszwecke gespeichert werden (rote Linie im Diagramm) In den Zellen P1-3 werden die Werte für den PID Stellungsalgorithmus angezeiget und in K1 und K2 die Werte ki und kd.
Hallo Oliver, Interessantes Projekt. Ich habe ziemlich das gleiche vor und bin über deinen Beitrag gestolpert. Möchte einen einfachen hydraulischen Durchlauferhitzer, der im 3 Phasen Betrieb meist zu heiss und an 2 Phasen zu kalt ist über eine Phase nachregeln. Möchte es ebenfalls von einem ATTINY und SSR regeln lassen. an welchem Port in deinem Projekt hast du den 10K NTC dran (X=adc1 oder W=adc2) und wie hängt er am ADC? 5V -> 10k NTC -> ADC und 10k Widerstand nach GND? Am anderen ADC dann wohl ein z.B. 10k Poti für die Solltemperatur Werden es bei gelegenheit mal aufbauen. Ach so, wie ist das mit den SSRs mit Nulldurchgangsschaltung? Schalten die nur im Nulldurchgang ein oder bleiben die nach Abfall der Steuerspannung auch bis zum nächsten Durchgang an? Und die Letzte Frage, die mir so einfällt. Hast du einen Kühlkörper an die SSRs gepackt? Gruß repi64
Bitte melde dich an um einen Beitrag zu schreiben. Anmeldung ist kostenlos und dauert nur eine Minute.
Bestehender Account
Schon ein Account bei Google/GoogleMail? Keine Anmeldung erforderlich!
Mit Google-Account einloggen
Mit Google-Account einloggen
Noch kein Account? Hier anmelden.

