Ich konzipiere gerade ein Labor-Netzteil für Nixie-Röhren. Die Hochspannung wird von einem Step-Up-Wandler [1] bereitgestellt und liegt bei 200V. Nun soll der fließende Strom von 0-10mA in 0,1mA-Schritten eingestellt werden. Dazu möchte ich eine Konstantstromquelle mit Operationsverstärker und MOSFET verwenden [2]. Meine Frage ist, welchen linear-fähigen HV-MOSFET ich nehmen kann - der BS107 ist mit 200V etwas knapp bemessen. Kennt da jemand einen? Gruß Jens [1] http://tayloredge.com/storefront/SmartNixie/PSU/index.html [2] http://www.mikrocontroller.net/articles/Konstantstromquelle#Konstantstromquelle_mit_Operationsverst.C3.A4rker_und_Transistor
Mal ne blöde Frage, was beabsichtigst du eigentlich? Nixieröhren werden über Vorwiderstand an eine Spannung angelegt (Zündspannung) nach dem Zünden stellt sich über den Vorwiderstand die Brennspannung und der Strom selber ein. (Ähnlich wie bei einer LED) Gruß...
Bei MOSFETs ist die Auswahl nicht so einfach. Ein IRF840 ist übertreiben groß - ein IRF810 sollte locker reichen. Dagegen bekommt man normale Transistoren in dem Leistungsbereich relativ gut, etwa BF459, halt Typen für die Video Endstufe im Fernseher.
Jens schrieb
> Falsch, der entscheidende Parameter ist der Strom.
Junge, sag nicht Falsch! Ich habe in meinem Leben sicherlich schon 10
mal mehr Nixieröhren verbaut als du Jahre alt bist (Das passt sogar wenn
du über 70 Jahre alt bist)
Eigentlich könnte ich dir das jetzt schön erklären, aber daran hast du
offensichtlich gar kein Interesse. Bastel mal schön deinen Müll
zusammen...
Anbei mal die Spannungs-Strom-Kennlinie einer beliebigen Nixie-Röhre.
Ich gehe nicht davon aus das du die lesen, geschweige denn irgendetwas
damit anfangen kannst.
Andreas Reinert schrieb: > Bastel mal schön deinen Müll zusammen... Mache ich, danke. Ist natürlich vollkommen sinnlos, bei einer Nixie den fließenden Strom zu regeln. "Ähnlich wie bei einer LED" Autsch...
Der Betrieb mit Stromquelle sollte möglich sein, ist aber vor allem unnötig kompliziert. Warum einfach, wenn es auch kompliziert geht.
Ulrich H. schrieb: > Der Betrieb mit Stromquelle sollte möglich sein, ist aber vor allem > unnötig kompliziert. Eigentlich nicht. Jens schrieb: > Labor-Netzteil für Nixie-Röhren Das lässt doch mühelos auf Tests mit verschiedenen Röhren schließen. Es geht augenscheinlich nicht um das dauerhafte Betreiben der Röhren. Das Ändern des Arbeitspunktes ist über eine Stromquelle nunmal einfacher als den Widerstandsjockey zu spielen.
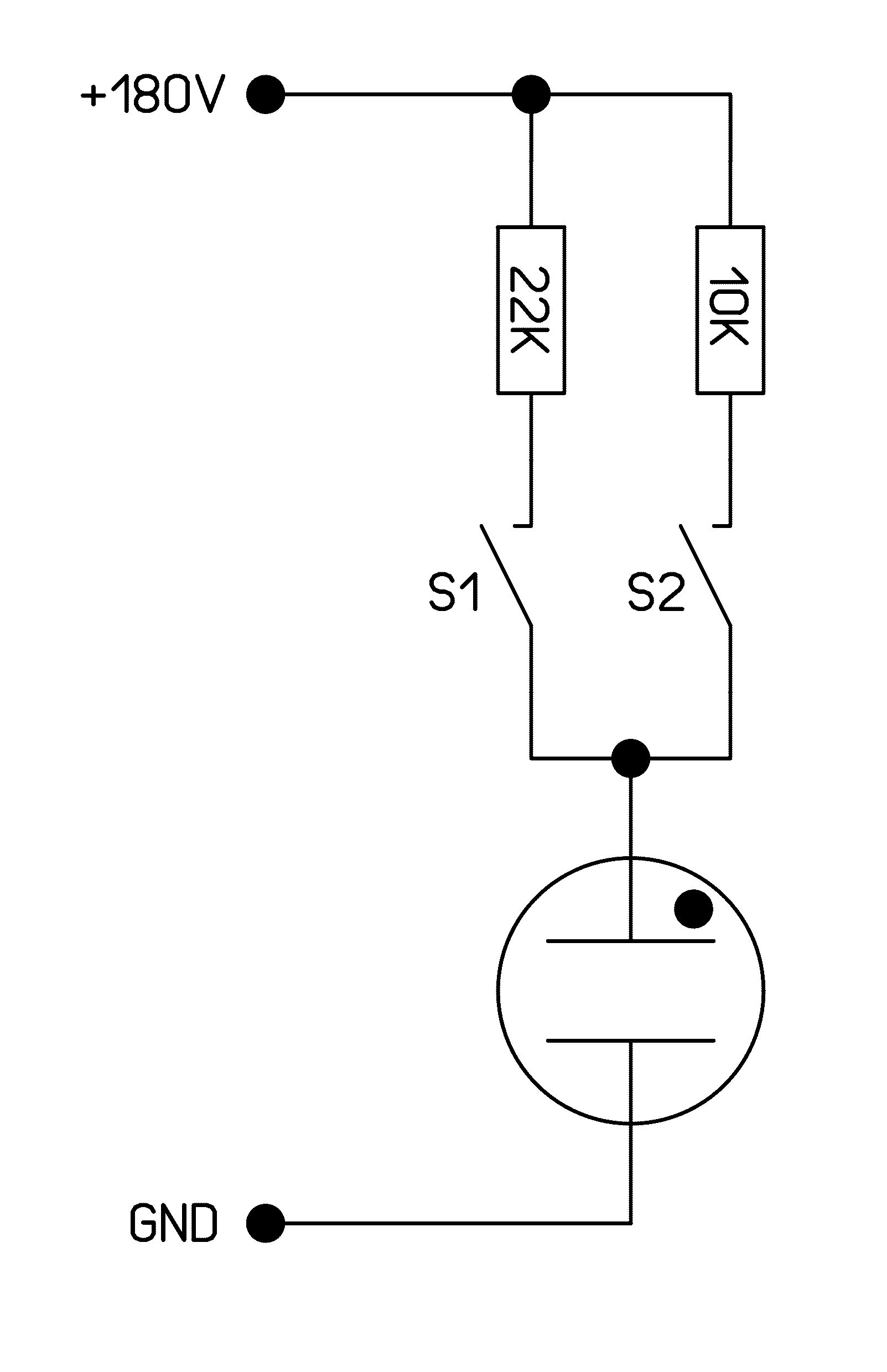
Da unser lieber Jens ja offensichtlich nicht verraten will was er eigentlich beabsichtigt, ist diese ganze Diskusion hier eh für´n Hintern. Nixi nur ein paar Beispiele: Z560 Ziffernhöhe 10mm Brennspannung 140V Brennstrom 1-2mA IN16 Ziffernhöhe 13mm Brennspannung 140V Brennstrom ca.2mA IN14 Ziffernhöhe 18mm Brennspannung 140V Brennstrom 2-3,5mA Z5660 Ziffernhöhe 30mm Brennspannung 140V Brennstrom 3-6mA IN18 Ziffernhöhe 40mm Brennspannung 150V Brennstrom 4-6mA Mit angehängter Schaltung: S1 -> ca.1,6mA S2 -> ca.3,5mA S1 + S2 -> ca.5,1mA Und damit funktionieren auf jeden Fall alle Nixieröhren... Siehe auch meine Nixieseite: http://www.a-reinert.de/NIXIE_Uhren/nixie_uhren.html
Herzlichen Glückwunsch. Wer lesen kann, ist klar im Vorteil. mhh schrieb: > Jens schrieb: >> Labor-Netzteil für Nixie-Röhren > > Das lässt doch mühelos auf Tests mit verschiedenen Röhren schließen. Der Schaltplan ist keine Stromregelung und Quark. Funktioniert nur, wenn die Zündspannung gleich bleibt. Und das tut sie nicht, wenn die Röhren altern.
Jens schrieb > Der Schaltplan ist keine Stromregelung und Quark ...anbei mal ein Auszug aus dem Datenhandbuch von Telefunken aus dem Jahr 1968 in dem wunderschön die Anodenwiederstände Betriebsspannungsabhängig angegeben sind. Nun erklär DU den Telefunken-Ingenieuren mal, das diese bereits vor 46 Jahren zu dämlich waren und das weiß der Henker wie viele millionen Geröte mit Nixieröhren alle Falsch gebaut wurden, da ja nur Du die Erleuchtung hast. Abgesehen davon betreibe ich (wie eigentlich jeder andere auch) hunderte Nixieröhren genau so. Viele meiner Röhren haben mittlerweile weit über 50,000 Betriebsstunden und über 200,000,000 (in Worten Zweihundertmillionen) Schaltzyklen hinter sich und verhalten sich immer noch wie neue Röhren. > Der Schaltplan ist keine Stromregelung und Quark. Funktioniert nur, wenn > die Zündspannung gleich bleibt. Schon wieder geistiger Dünnschiss. Richtig wäre -> Funktioniert nur wenn die Brennspannung gleich bleibt. Und das tut sie. Zumindest in Bereichen in denen sich keine nennenswerte Änderung des Stroms ergibt. (Konstannte Betriebsspannung vorrausgesetzt) Die Betriebsspannung setzt man grundsätzlich deutlich über der Zündspannung an um ein sicheres Zünden immer sicherzustellen. Prinzipiell kannst Du dir schenken auf meinen Post noch mal zu reagieren, da ich die E-Mail-Benachrichtigung zu diesem Post jetzt abschalte, da ich keinerlei Verlangen spüre weiterhin meine Zeit mit Deinem geistigen Dünnschiss zu verplempern.
Ich finde es wirklich interessant, wie ausfallend du hier wirst. Sachlich zu diskutieren liegt dir wohl fremd. Du hast Recht, ich habe im obigen Post Zünd- und Brennspannung durcheinander gewürfelt. Ich sage es gerne erneut, ich baue ein Labornetzteil für Nixie-Röhren, bei dem ich nicht den "Widerstandsjockey" spielen möchte, wie so treffend von mhh weiter oben bemerkt. Es ist doch vollkommen klar, dass Nixies in der Praxis wie von dir beschrieben angesteuert werden, und ich selber mache das natürlich auch nicht anders. Aber eine lineare Kontrolle des Stromes hast du in diesem Falle eben nicht, und das ist für ein Labornetzteil doch durchaus wünschenswert.
Lieber Jens, ich antworte hier nur noch einmal da Du mich persönlich angeschrieben hast! Ich bin ein Kind der Industrie bzw. des Handwerks. Dort wird üblicherweise klartext geredet. Wenn ein Mitarbeiter mit einer Idee aufwartet die gequirlte Kacke ist, dann wird das Kind beim Namen genannt. Dann ist die Idee Mist bzw. Bullshit. Da sagt dir keiner: " Der von dir ersonnene Lösungsansatz lässt deutlich Spielraum für Verbesserungen. Überdenke doch bitte Deinen Lösungsansatz und unterbreite mir in Kürze einen weiteren Vorschlag" Und nur weil man das Kind beim Namen nennt, ist das noch lange keine verbale entgleisung!!! Mittlerweile sind wir in Deutschland so weit, das in Schulen öffentlich darüber nachgedacht wird das Notensystem abzuschaffen um den armen Kindern die hohe psychische Belastung, die aus einer 5 oder 6 resultiert zu ersparen. Ich wurde in meiner Schulzeit zu einem "Einzelkämpfer" ausgebildet. Jeder Schüler machte seine Aufgaben selbstständig und wenn die Lösung Mist war, dann gab es eine schlechte Note. Heute (ich habe es bei meinen eigenen Kindern gesehen, die übrigens in etwa in Deinem Alter sein dürften) sitzen die Kinder in der Schule in Teams zusammen und beraten erst mal mit mindestens 4 Leuten über die Strategie zum Lösungsansatz. Dies hat zur Folge und das sehe ich jeden Tag bei der Arbeit, das ich jede Menge Jungingenieure rumsitzen habe, die mit Ihrer Arbeit hoffnungslos überfordert sind und nur noch halbwegs über die Runden kommen, wenn sie erst mal Stunde um Stunde im Team ihre wertvolle Arbeitszeit verballern können, um eine Lösung zu finden. Entscheider Macher Echte Problemlöser gibt´s nicht mehr. Und wenn man den Jungs dann noch erzählt, das der von ihnen gewählte Lösungsansatz nicht zu dem gewünschten Ergebnis führt, dann hat der "Alte" natürlich erst mal unrecht oder ist doof. Zumindest ist er ein Spielverderber, selbst wenn er praktikablere, einfache Lösungen vorschlägt. Zu deiner ursprünglichen Fragestellung. ich möchte hier mal eine Metaffer verwenden: - Ich möchte meinen Autotank mit einer Einwegspritze befüllen, welche nehme ich da am besten? - Warum möchtest du das mit einer Einwegspritze machen? - Damit ich den Tank vollkriege! - Warum nimmst du nicht die Zapfsäule wie jeder andere auch? Ist erprobt und macht wirklich sinn! - Ich möchte aber ganz genau wissen wie viele Milliliter das sind. ...Ausser geistiger Dünnschiss fällt mir dazu nichts ein! Wenn du mit deiner Lösung irgendwelche präzise Studien planen würdest um Kennkurven von Nixieröhren zu erstellen, dann könnte ich das noch verstehen. Wenn das ganze aber nur dazu dient eine unbekannte Nixieröhre auf Funktion zu testen, bist du mit meiner Lösung mit 2 Wiederständen bestens bedient. Damit bekommst du jede Nixie zum Leuchten ohne diese zu schädigen und ohne den Widerstandsjockey zu spielen. Und wenn dir 2 Wiederstände noch zu kompliziert sind, kannst du ja ein 47K Poti in Reihe mit einem 10K Wiederstand benutzen. Im Langzeitbetrieb sollte der Strom über den Anodenwiederstand natürlich sauber abgestimmt werden. Mit der Wiederstandsmethode stellt sich an der Nixie SELBSTSTÄNDIG ein konstanter Strom ein. Da bedarf es keiner Regelung, das regelt sich selber. Letztendlich hast gerade DU offensichtlich, im Gegensatz zu mir, keinerlei Intresse an einer Sachlichen Diskusion. Ausser Sätzen wie: > Autsch... > Der Schaltplan ist keine Stromregelung und Quark ist von Dir nicht viel gekommen. Und das war sogar noch falsch. Denk mal drüber nach!
Dein Beispiel finde ich nicht passend. Es geht ja nicht darum, ein Einwegprodukt zu bauen, sondern eine solide Lösung, die ich für die nächsten zig Jahre verwenden kann. Und ja, ich möchte präzise Messungen durchführen können. Dafür eine Widerstands-Lösung vorzuschlagen ist doch wirklich Unsinn. Andreas Reinert schrieb: > Nixieröhren werden > über Vorwiderstand an eine Spannung angelegt (Zündspannung) nach dem > Zünden stellt sich über den Vorwiderstand die Brennspannung und der > Strom selber ein. (Ähnlich wie bei einer LED) Und das ist wirklich falsch. Bei einer LED muss der Strom geregelt werden. Erkennbar daran, dass die "forward voltage" bei baugleichen LEDs (!) nicht immer gleich sein muss. Andreas Reinert schrieb: > Mit der Wiederstandsmethode stellt sich an der Nixie SELBSTSTÄNDIG ein > konstanter Strom ein. Da bedarf es keiner Regelung, das regelt sich > selber. Und wieder falsch. Zu einem Regelkreis gehört immer eine Messung. Wo ist die bei deinem Widerstand? Deine Erfahrungen in allen Ehren, aber du machst es dir nicht gerade leichter, je mehr du dich hier mit Kritik aus dem Fenster lehnst. Andere haben schon am ersten Posting erkannt, dass es um ein Labornetzteil geht. Steht ja schließlich da.
So Abwegig ist die Stromquelle für solche Lasten wie eine Glimmlampe oder Nixi-Röhre oder ähnliches nicht. Für eine normale Anwendung, wenn man etwa 3 mal 7 Segmente hat, ist das natürlich reichlich kompliziert, aber um 1 oder 2 Elemente zu testen ist das schon OK. Bei so hohen Spannungen, wenig Leistung und keinen besonderen Anforderungen hinsichtlich Geschwindigkeit kann man aber besser ein BJT als einen MOSFET nehmen. Damit bekommt man zwar einen kleinen Fehler (grob 0.01-0,1%) durch den Basisstrom, aber der sollte meistens zu tolerieren sein. Der BF459 wäre da ein guter Kandidat: bis 300 V und etwa 10 W (gekühlt), bei der SOA bei 200 V noch etwa 40 mA möglich. Dazu ist der Typ auch günstig und leicht zu bekommen. Bei Mosfets hat man halt die Schwierigkeit einen Typ zu finden, der der Spirito Effekt erst bei über 200 V zeigt. Das wären dann eventuell > 600 V Typen, bevorzugt die älteren. Suchen muss man ggf. selber, weil sonst kaum einer so was braucht. So etwas wie ein IXFK 44N80P sollte gehen - hat halt genügend Reserven, ist aber doch vergleichsweise teuer.
Ich habe ein paar IRG840 rumliegen, da werde ich mal ausprobieren, ob es funktioniert. Den BF459 probiere ich auch mal. Der hat auch noch den Vorteil, dass er - sollte ich das ganze mal digitalisieren wollen - auch bei 5V-Betriebsspannung sauber aufsteuert.
Bitte melde dich an um einen Beitrag zu schreiben. Anmeldung ist kostenlos und dauert nur eine Minute.
Bestehender Account
Schon ein Account bei Google/GoogleMail? Keine Anmeldung erforderlich!
Mit Google-Account einloggen
Mit Google-Account einloggen
Noch kein Account? Hier anmelden.


