Hallo Ich kann im Offtopic leider keinen Beitrag erstellen. Wie kann man ein Rechtecksignal in einen Sinus umwandeln, so nach dem Motto harmonic approximation. Gibt es da eine gute Seite oder vllt. auch gute Bücher? Danke für die Hilfe
seppel schrieb: > Ich kann im Offtopic leider keinen Beitrag erstellen. Das könntest Du spielend leicht, wenn Du Dich hier anmelden tätest. seppel schrieb: > Wie kann man ein Rechtecksignal in einen Sinus umwandeln, Z.B. durch Tiefpassfilterung. Ist aber stark frequenzabhängig.
seppel schrieb: > Wie kann man ein Rechtecksignal in einen Sinus umwandeln, Eigentlich macht man es umgekehrt. Man erzeugt einen Sinus und macht daraus mit Hilfe eines Komparators ein Rechteck.
Hallo! Ich habe dafür letztens diese Schaltung verwendet um aus einem Dreieck einen Sinus zu erzeugen. War aber nur mal ein wenig zum rumspielen :) Du schreibst auch nichts über den geforderten Klirrfaktor oder sonstige Genauigkeiten, deswegen kann man dir wohl nicht besser helfen... Gruß, Maije
Harald W. schrieb: > Eigentlich macht man es umgekehrt. Man erzeugt einen Sinus > und macht daraus mit Hilfe eines Komparators ein Rechteck. So! Und was macht 'man', wenn 'man' nun mal ein Rechteck hat und einen Sinus braucht? ;)
Christoph M. schrieb: > um aus einem Dreieck > einen Sinus zu erzeugen. Hmm, ja, sehr schön. Dass hier ein Rechteck vorliegt, hast Du aber mitbekommen!?
M.A. S. schrieb: > Harald W. schrieb: >> Eigentlich macht man es umgekehrt. Man erzeugt einen Sinus >> und macht daraus mit Hilfe eines Komparators ein Rechteck. > So! Und was macht 'man', wenn 'man' nun mal ein Rechteck hat und einen > Sinus braucht? ;) Neues Konzept erstellen.
Du nimmst also an, eine Art "Harmonic Approximation" - also theoretische Ansätze - würde/n Dich zum Ziel führen. mse2 hingegen erwähnte einen praktischen Ansatz. Um tatsächlich zielgerichtet antworten zu können, müßte man Dein konkretes Problem kennen. Dann gibt es entweder viele Lösungen, wobei eine oder mehrere "besser passen". Oder eine Lösung, die mehr oder weniger funktioniert. Oder aber gar keine. Mit den derzeitigen Infos (bzw. dem Mangel daran) bezweifle ich wirklich stark, daß man halbwegs schnell zu Deiner Lösung gelangt.
Harald W. schrieb: > Neues Konzept erstellen. :) Ohne die Hintergründe der Frage zu kennen, würde ich soetwas nicht vorzuschlagen wagen.
Ist-Spannungsamplitude? Soll-Spannungsamplitude? Frequenzbereich oder Fixfrequenz? Wenn ja, welche?
M.A. S. schrieb: > Christoph M. schrieb: >> um aus einem Dreieck >> einen Sinus zu erzeugen. > > Hmm, ja, sehr schön. Dass hier ein Rechteck vorliegt, hast Du aber > mitbekommen!? Nicht, dass ich Christophs Schaltung verstehe (oder den Ausschnitt davon), aber wenn Dreieck zu Sinus funktioniert, ... dann transformiert das das Problem des TO auf Rechteck --> Dreieck, was ja einfacher ist.
Achim S. schrieb: > dann transformiert > das das Problem des TO auf Rechteck --> Dreieck, was ja einfacher ist. Ich will jetzt nicht den Thread des TO kapern, aber wenn das einfacher ist; wie mache ich aus einem Rechteck mit einer Pulsweite von 50% ein Dreieck? Dann wäre der erste Teil der Aufgabe evtl. schon erledigt.
Achim S. schrieb: > Rechteck --> Dreieck, was ja einfacher ist. Hmm, ja, hast recht. Ist aber genauso frequenzabhängig wie tiefpassfiltern. (Oh, und: bei Deinem Verfahren kommt es ja auf eine recht genau einzuhaltende Amplitude der Dreiecksschwingung an.)
Ach Du grüne Neune schrieb: > wie mache ich aus einem Rechteck mit einer Pulsweite von 50% ein > Dreieck? Integrieren.
Ach Du grüne Neune schrieb: > wie mache ich aus einem Rechteck mit einer Pulsweite von 50% ein > Dreieck? Mit einem Integrator. Die Amplitude ist dann aber Frequenzabhängig
Sinus T. schrieb: > Mit einem Integrator Ich meine jetzt nicht einfach nur ein RC Glied, das Dreieck sollte schon linear sein.
seppel schrieb: > nach dem Motto harmonic approximation. Wer hat dir denn diese Wortkombination verraten? https://www.google.com/search?q=harmonic+approximation
Lothar M. schrieb: > Wer hat dir denn diese Wortkombination verraten? > https://www.google.com/search?q=harmonic+approximation Der gute Seppel meint bestimmt die FHA = First Harmonic Approximation. Das ist eine Simplifizierungsmethode, welche in der Leistungselektronik angewandt wird. Eingeführt für klassische Resonanzkonverter, erlangte sie wohl die weiteste Verbreitung gleichzeitig mit der LLC-Topologie. Immer noch die "Standard-Methode", doch gibt es Verbesserungen: https://www.google.de/search?q=improvement+over+first+harmonic+approximation&oq=improvement+over+first+harmonic+approximation&aqs=chrome..69i57.15124j0j7&sourceid=chrome&ie=UTF-8 Nun hätte das ja durchaus kleinere Rückschlüsse auf Seppels Vorhaben zugelassen - allerdings keine gesicherten. Ohne genauere Beschreibung führte das Ganze wieder zu einem kilometerlangen Thread ohne Ergebnis. Und deshalb habe ich (trotz meines Wissens) keine Andeutung gemacht. Raus mit den Informationen, sonst wird der Thread gekapert - sind wir doch schon bei Möglichkeiten für Dreiecksgeneratoren gelandet. :)
In Funktionsgeneratoren macht man gerne aus einem Dreieck ein Sinus mittels eines Dioden-Widerstands - Netzwerkes. Zum Beispiel beim Leader LSG1300S. Schaltbild gibts bei ElektroTanya.
>>> Eigentlich macht man es umgekehrt. Man erzeugt einen Sinus >>> und macht daraus mit Hilfe eines Komparators ein Rechteck. >> >> So! Und was macht 'man', wenn 'man' nun mal ein Rechteck hat und einen >> Sinus braucht? ;) > > Neues Konzept erstellen. ..also mein Rubidium-Normal macht das genau so, das erzeugt 10MHz Rechteck und lutscht das dann über ein einfaches RC-Glied ziemlich rund. Muss ziemlicher Schrott sein mein Normal :-(( Sollte mal den Hersteller drauf ansprechen dass er ein neues Konzept basteln soll. Nix für ungut.
seppel schrieb: > Wie kann man ein Rechtecksignal in einen Sinus umwandeln TI hat moeglicherweise was passendes im Angebot: Ein schwarzer Kaefer "UAF42" (kostet wahrscheinlich 1000€ ?) plus 3 externe Widerstaende
Toxic schrieb: > (kostet wahrscheinlich 1000€ ?) Dicht dran: 15,73 €/Stück bei Mouser. PS: Toxic schrieb: > plus 3 > externe Widerstaende Ach so, na dann wird's ingesamt natürlich teuer... :D
Harald W. schrieb: > Eigentlich macht man es umgekehrt. Man erzeugt einen Sinus > und macht daraus mit Hilfe eines Komparators ein Rechteck. Wie kommst du darauf? Sowohl EXAR mit dem XR2206, als auch Intersil mit dem ICL8038 waren da anderer Meinung. https://www.sparkfun.com/datasheets/Kits/XR2206_104_020808.pdf https://www.intersil.com/content/dam/intersil/documents/icl8/icl8038.pdf
Wolfgang schrieb: > Wie kommst du darauf? > > Sowohl EXAR mit dem XR2206, als auch Intersil mit dem ICL8038 waren da > anderer Meinung. Harald ging es um die direkte Beziehung/Umwandlung von Rechteck in Sinus oder umgekehrt, Dreieicke aussenvorgelassen. Dass die ganzen alten analogen Funktionsgeneratoren erst einen Dreieck und daraus einen Sinus erzeugt haben (Rechteck fiel dabei als Nebenprodukt an), hatten wir, glaube ich, inzwischen herausgearbeitet.
Sinusgenerator als Spannungsgesteuerten Oszillator aufbauen -> Komparator, sprich zum Rechteck machen -> dieses Rechteck und Ist-Rechtecksignal per PLL angleichen = Frequenz von Sinus-Oszillator ist dann automatisch = Frequenz von Eingangsrechteckfrequenz.
Mal einfach als Idee so eingeworfen: Ein spannungsgesteuerter Sinusgenerator und aus dem Sinus per Komparator Rechtecke bilden. Diese Rechteckschwingung mit der Originalfrequenz per Phasenkomparator vergleichen und den Sinusgenerator entsprechend nachregeln (PLL-Prinzip). Das Ding entweder diskret aufbauen oder incl. Sinusgenerator in einen µC packen. Wie gesagt, nur als Idee, nicht real aufgebaut.
Toxic schrieb: > Ein schwarzer Kaefer "UAF42" (kostet wahrscheinlich 1000€ ?) plus 3 > externe Widerstaende Ich hab mal die im Datenblatt angegebene Innenbeschaltung mit LTspice simuliert.Wer gern bastelt oder Interesse an so einer Schaltung hat,sollte dies problemlos auf einem Steckbrett nachbauen koennen. Fuer niedrige Frequenzen bestellt man sich dann das hier https://www.ebay.de/itm/DSO138-2-4-TFT-Digital-Oscilloscope-Acrylic-Case-DIY-Kit-SMD-Soldered-New-R2C0-/311692227863?var=&hash=item8e2a85dcbc um sich das Ergebnis bestaetigen zu lassen.Rechnet man dann noch 1€ fuer Opamp/Widerstaende und C's dazu liegt man mit 14€ immer noch unter dem Preis vom Mouser,da Versand aus dem schoenen China kostenlos ist.... Nettes Projekt eigentlich.....das Ganze muesste man nun noch auf einfache Spannungsversorgung umstricken.
Solange die Rechteck-Frequenz klein genug ist und man damit leben kann, dass das Ausgangssignal um eine Periode verzögert ist: 1) Erfasse die Rechteckperiode T_R der Frequenz F_R 2) Erzeuge einen Ausgabetakt von F_A = N * F_R 3) Gebe über ADC (oder PWM) im Takt von F_A die Werte aus einer Sinustabelle im Abstand von Tabellenlänge/N aus Je größer N und Tabellenlänge, desto sinus ... ;-)
Menno schrieb: > Je größer N und Tabellenlänge, desto sinus ... ;-) Mit Analogelektronik hat das dann aber nichts mehr zu tun. Nachdem man den Ausgabetakt über eine PLL erzeugt hat, würde man den Rest eventuell einfach einem fertigen DDS-Generator-IC, wie bspw. dem AD9833 überlassen. Bleibt die Frage an den TO, von welchem Frequenzbereich die Rede ist, wie dynamisch die Eingangsfrequenz ist und wie sauber der Ausgangssinus sein muss.
Ein Rechteckgenerator hat im internen immer irgendwo noch ein Dreieckssignal, außer dass es den Rechteck über einen binären Zähler realisiert. Dann kann der Sinus über sogenante Diodenshivter verrundet werden. der XR2206 macht dies so. Im ausführlichen Datenblatt ist die Technik gut beschrieben.
Wolfgang schrieb: > Mit Analogelektronik hat das dann aber nichts mehr zu tun. Das hat auch niemand gefordert. Wolfgang schrieb: > Bleibt die Frage an den TO, von welchem Frequenzbereich die Rede ist, > wie dynamisch die Eingangsfrequenz ist und wie sauber der Ausgangssinus > sein muss. Es bleiben überhaupt viele Fragen an den TO.
Dieter schrieb: > Dann kann der Sinus über sogenante Diodenshivter verrundet > werden Das ist zwar frequenzunabhängig, erfordert aber eine feste Amplitude, und ein besonders guter Sinus wird das auch nicht, sicher nicht HiFi-geeignet. Aber ich würde hier keine Mühe mehr investieren, solange sich der TO nicht mehr meldet und bessere Angaben macht. Hat wohl keine Lust mehr. Georg
M.A. S. schrieb: > Wolfgang schrieb: >> Mit Analogelektronik hat das dann aber nichts mehr zu tun. > Das hat auch niemand gefordert. Na, zumindest wurde die Frage im Unterforum "Analogtechnik" gepostet, was dann doch irgendwie ein Hinweis auf die angestrebte Lösungsrichtung sein könnte. ;-)
Ach Du grüne Neune schrieb: > Sinus T. schrieb: >> Mit einem Integrator > > Ich meine jetzt nicht einfach nur ein RC Glied, das Dreieck sollte schon > linear sein. Ist es auch,wenn man die Schaltung entsprechend - wie mit Sicherheit von @Sinus T. vorgesehen - aufbaut. https://www.elektronik-kompendium.de/public/schaerer/dreieckg.htm
Wahrscheinlich sucht der Fragesteller nach eienr Sinus-Approximation mit PWM. Da mus sman aber dann schon mehr über die Anwendung wissen um einen sinnvollen Rat zu geben.
Wolfgang schrieb: > Na, zumindest wurde die Frage im Unterforum "Analogtechnik" gepostet, Ach so, nun ja...
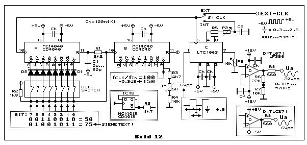
Vielen Dank an alle die geantwortet haben. Es ist leichter als es aussieht. Es ist der Fourier natürlich, dann ist mir alles klar. Ich habe nur den Hinweis bekommen ein Rechtecksignal könne man zu einem gleichwertigen, equivalenten Sinus umrechnen mit der first harmonic approximation mitteils Steigwart oder sowas. Hätten die gleich gesagt Fourier... Dann wäre alles klar gewesen. Ist mir ehrlich gesagt nicht gleich eingefallen. Mich würde aber dennoch interessieren wie man weiter oben Square2Sinus.jpg Beitrag von Toxic Toxic schrieb: > Toxic schrieb: >> Ein schwarzer Kaefer "UAF42" (kostet wahrscheinlich 1000€ ?) plus 3 >> externe Widerstaende > aus einem Rechteck einen Sinus macht, hardwaremässig. Sprich warum nach 2 Integratoren und einem weiteren OPV ein Sinus entsteht.. Wäre vllt jemand so nett und würde in das Bild einzeichnen wie die Signale nach jedem OP aussehen?
seppel schrieb: > Mich würde aber dennoch interessieren wie man weiter oben > Square2Sinus.jpg Beitrag von Toxic > > Toxic schrieb: >> Toxic schrieb: >>> Ein schwarzer Kaefer "UAF42" (kostet wahrscheinlich 1000€ ?) plus 3 >>> externe Widerstaende >> > > aus einem Rechteck einen Sinus macht, hardwaremässig. > Sprich warum nach 2 Integratoren und einem weiteren OPV ein Sinus > entsteht. Lies die 3 angehängten Pdfs aufmerksam durch. seppel schrieb: > Wäre vllt jemand so nett und würde in das Bild einzeichnen wie die > Signale nach jedem OP aussehen? Bau das ganze wie hier Beitrag "Re: Rechteck Sinus" in LTSpice auf, dann kannst Du selber schauen.
>> aus einem Rechteck einen Sinus macht, hardwaremässig. > Sprich warum nach 2 Integratoren und einem weiteren OPV ein Sinus entsteht Jeder Integrator unterdrückt die Oberwellen. Nach dem 1. Integrator wird aus dem rechteckförmigen Verlauf aber "nur" ein dreieckförmiger Verlauf. Erst nach dem 2. Integrator hat man die Oberwellen genügend gedämpft, dass es wie ein Sinus aussieht. In Wirklichkeit sind da immer noch Oberwellen drin. Dämpfung von Oberwellen, Annahme 50% Tastverhältnis = nur ungerade Oberwellen. Harm. Rechteck 1.Int. 2.Int 3 1/3 1/9 1/27 5 1/5 1/25 1/125 7 1/7 1/49 1/343 9 ... Nach dem 2. Integrator ist die 3. Harmonische ist nur noch 1/27 der Grundwelle.
seppel schrieb: > Wäre vllt jemand so nett und würde in das Bild einzeichnen wie die > Signale nach jedem OP aussehen? LTspice ist eine freie Software.Wenn Du sie downloadest und installierst,kannst du die "square2sinus.asc" die ich in meinem zweiten Posting angehaengt habe oeffnen.Nach Starten der Simulation kannst Du dir alles moegliche anzeigen lassen.Hoert sich kompliziert an,ist aber nach 15 Minuten Einarbeitungszeit machbar. Die Schaltung selbst ist bis auf auf den Opamp (hab irgendeinen genommen)1:1 aus dem Datenblatt entnommen Fuer den UAF42 gibt es ein spezielles kostenfreies Programm (welches ich nicht finden konnte....) dass einem beim Filterdesign hilft.Ohne dieses Programm wird es schwer was vernuenftiges zu Wege zu bringen - deswegen habe ich auch nur die schon im Datenblatt vorberechneten Werte uebernommen. Solltest Du neugierig genug sein und LTspice installieren,kannst du problemlos Werte veraendern und sehen wie die Schaltung reagiert.
Danke. Mir ist leider der Unterschied zwischen einem Rechteck- und einem Sinussignal überhaupt nicht klar. Bitte um Erläuterungen. Danke
> Mir ist leider der Unterschied zwischen einem Rechteck- und einem
Sinussignal überhaupt nicht klar. Bitte um Erläuterungen.
Schade, dass diese Diskussion so endet. Dafür hast du ein Minus verdient
oder war das jetzt gar nicht der echte "seppel".
Beitrag #5441424 wurde von einem Moderator gelöscht.
Beitrag #5441435 wurde von einem Moderator gelöscht.
Beitrag #5441439 wurde von einem Moderator gelöscht.
Beitrag #5441445 wurde von einem Moderator gelöscht.
Beitrag #5441450 wurde von einem Moderator gelöscht.
Helmut S. schrieb: >> Mir ist leider der Unterschied zwischen einem Rechteck- und einem > Sinussignal überhaupt nicht klar. Bitte um Erläuterungen. > > Schade, dass diese Diskussion so endet. Dafür hast du ein Minus verdient > oder war das jetzt gar nicht der echte "seppel". Man muss wohl davon ausgehen,dass es sich um einen Troll handelt.Ist aber bei dem Topic gar nicht mal so tragisch,weil sich die investierte Zeit fuer die Loesung zu dem Problem Rechteck zu Sinus durchaus gelohnt hat - zumindest mal fuer mich. Dank dem Troll beschaeftige ich gerade mal wieder mit Fourier & Kollegen. Der Unterschied zwischen einem Rechteck und Sinus ist uebrigens hier erklaert: https://www.quora.com/What-is-the-difference-between-sine-square-sawtooth-and-triangle-waves Damit duerfte es sich ja dann wohl ausgetrollt haben.
Beitrag #5441488 wurde von einem Moderator gelöscht.
Beitrag #5441490 wurde von einem Moderator gelöscht.
Beitrag #5441606 wurde von einem Moderator gelöscht.
Beitrag #5441618 wurde von einem Moderator gelöscht.
Hallo Seppel, seppel schrieb: > Ich kann im Offtopic leider keinen Beitrag erstellen. > Wie kann man ein Rechtecksignal in einen Sinus umwandeln, so nach dem > Motto harmonic approximation. > Gibt es da eine gute Seite oder vllt. auch gute Bücher? Ich habe dieses Problem vor vielen Jahren gelöst mit einem SC-Tiefpassfilter, dessen Grenzfrequenz mit einem Faktor variabel abhängig ist von der Eingangs-Taktfrequenz. Auf diese Weise werden die Harmonischen bereits ab der ersten f*3 recht gut gedämpft. Wenn Dich das interessiert, musst Du halt leider etwas Zeit zum Lesen investieren. Dazu dieser Link (auch die Linkliste am Schluss ist wichtig zum Verständnis der Switched-Capacitor-Filter [SC-Filter]): "Sinusgeneratoren und der SC-Sinusgenerator" http://www.elektronik-kompendium.de/public/schaerer/scsing.htm Zur Einleitung die Schaltung gleich im Bild. Du musst für Deine Anwendung selber wissen, ob Du diesen Aufwand benötigst. Bestimmt dann nicht, wenn fixe Sinusfrequenzen genügen. Gruss Thomas
Wie wärs mit einem "Clockmultiplier", anschliessend einen fein granulierten "TreppenSinus" generierem und zum Schluss a bisserl glätten. Ich denk das ist ein Fall für die FPGA Fritzen, Analogis sind da ein wenig überfordert wie man sieht :-)
Dimpfelmoser schrieb: > Wie wärs mit einem "Clockmultiplier", anschliessend einen fein > granulierten "TreppenSinus" generierem und zum Schluss a bisserl glätten. Mich interessiert das. Sei bitte so nett und nenne mir einen Link damit ich mich genauer informieren kann. Besten Dank zum Voraus. Mit Clockmultiplier meinst Du wohl eine PLL-Schaltung oder ist es was anderes? Zunächst, worin unterscheidet sich das was Du meinst von der DDS-Synthese? > Ich denk das ist ein Fall für die FPGA Fritzen, Analogis sind da ein > wenig überfordert wie man sieht :-) Besten Dank. Ich schätze Vorurteile ganz besonders. :-) Gruss Thomas
Klaus schrieb im Beitrag #5441606: > guest...Rainer schrieb im Beitrag #5441488: >> Habe mich jetzt auch "gemütlich" aufgeregt! Anscheinend wird die Welt >> der Dummköpfe nicht mehr zum Quadrat größer, sondern zu einer >> beängstigenden (höheren, unbekannten) Potenz. > > Das ist ein wenig anders. Die Intelligenz im Universum ist eine > Konstante, so wie die Lichtgeschwindigkeit. Bei der Lichtgeschwindigkeit bin ich mir ziemlich sicher, aber bei der Intelligenz im Universum hege ich gewisse Zweifel, ausser man ignoriert die Menschheits-Intelligenz. Dann wäre es vielleicht doch möglich. Ein sehr hirnlastiges Problem. **ächz-stöhn** > Da die Anzahl der Menschen > unaufhörlich zunimmt, kriegt jeder immer weniger ab. Das wird erst > wieder besser, wenn man künstliche Intelligenz implantieren kann, wie > man das mit Silikonkissen auch schon tut. Oder es explodiert (endlich) wieder mal eine mächtige Chaldära, wie die vor etwa 70'000 Jahren, welche mehr als 95 % aller oberirdischen Lebensformen auslöschte. Wir treffen uns dann in einer neuen Steinzeit und pflegen dieses Forum mit Themen zur Steinzeit-Elektronik. **rotfl**
seppel schrieb: > Ich habe nur den Hinweis bekommen ein Rechtecksignal könne man zu einem > gleichwertigen, equivalenten Sinus umrechnen mit der first harmonic > approximation mitteils Steigwart oder sowas. > > Hätten die gleich gesagt Fourier... Dann wäre alles klar gewesen. > Ist mir ehrlich gesagt nicht gleich eingefallen. Was denn nun? Du hast FHA und Steigwart als Hinweis für eine Umrechnung bekommen? Und/oder die hätten Dir Fourier sagen sollen? Also/und/oder hätte denen ja eigentlich Fourier einfallen sollen - und/oder es (...Fourier.) hätte eigentlich Dir einfallen sollen? Wenig schlüssig, ja gar verwirrend - oder nur verwirrt? seppel schrieb: > Danke. > > Mir ist leider der Unterschied zwischen einem Rechteck- und einem > Sinussignal überhaupt nicht klar. Bitte um Erläuterungen. > > Danke Na klar. Und jemand, der da null Ahnung hat, fragt nach Möglichkeiten, aus dem einen das andere zu machen. Extrem glaubwürdig. Ich wende mich daher meinem allerersten Verdacht wieder zu: Du hattest uns sowohl hier als auch schon kurz zuvor da ... Beitrag "DRSSTC - Schaltung abändern?" ...ein X für ein U vormachen wollen (siehe mein Nick "x for u"). Beim ersten Mal klappte es so gar nicht (es war einfach zu offensichtlich - darauf antwortet nicht leicht jemand), weshalb Du, ungeduldig, wie Du nun mal bist, schon kurz darauf einen zweiten Anlauf machtest. Hatte Dir Deine Schwester kurz gezeigt, wie man's etwas besser macht? So oder so - frappierend, was mancher aus Langeweile so veranstaltet. Zum Glück sehe ich das Ganze ähnlich wie @Toxic (-: z.B. auch Thomas S. läßt sich scheinbar das Thema nicht vermiesen...). Es war keine verschwendete Zeit und Arbeit (obwohl sich das Ergebnis durch Löschung von seppels Anteil durchaus verbessern ließe). Doch ob "seppel" nun fachlich davon profitieren könnte (bzw. hätte können), oder auch nicht, ist objektiv betrachtet fast ohne Bedeutung. Jenes U..., welches er sich dabei selbst fälschlich als X... vor macht, registriert er nämlich (vermutlich gewohnheitsmäßig) gar nicht. Und da ist das Forum gänzlich machtlos. :-(
Thomas S. schrieb: > Oder es explodiert (endlich) wieder mal eine mächtige Chaldära, wie die > vor etwa 70'000 Jahren ... Da hast du wohl - ein paar Nullen vergessen - es war keine Caldera, sondern ein Einschlagkrater - es war nicht vor 70, sondern vor 65 Mio Jahren
Hallo Thomas. Ich habe mich jetzt soweit in die Systemtheorie eingearbeitet. Könntest du mir den Unterschied Sinus-Rechteck erklären. Der Unterschied ist nicht so leicht zu erkennen. Ruhig ein Paar Sätze formuliere. Danke
seppel schrieb: > Ich habe mich jetzt soweit in die Systemtheorie eingearbeitet. Könntest > du mir den Unterschied Sinus-Rechteck erklären. Der Unterschied ist > nicht so leicht zu erkennen. Ruhig ein Paar Sätze formuliere. Ach, jetzt soll der Thomas angeblich den Steigwart spielen, um Dich imaginär von der Grundwelle aufwärts zur obersten Oberwelle zu geleiten? Das ist doch wohl der Gipfel...
Beitrag #5442323 wurde von einem Moderator gelöscht.
Thomas S. schrieb: > Chaldära, wie die > vor etwa 70'000 Jahren, welche mehr als 95 % aller oberirdischen > Lebensformen auslöschte. Zu dieser Zeit krachte der Toba. Dadurch, und die (spekulativ) folgende, davon (vielleicht) begünstigte Mini-Eiszeit mußten wohl einige ihr Leben lassen - allerdings wohl nicht 95% aller oberirdischen Organismen. Man weiß aber genau, worauf Du hinaus wolltest.
Beitrag #5442330 wurde von einem Moderator gelöscht.
Beitrag #5442336 wurde von einem Moderator gelöscht.
Beitrag #5442365 wurde von einem Moderator gelöscht.
Beitrag #5442418 wurde von einem Moderator gelöscht.
Hallo Seppel, seppel schrieb: > Hallo Thomas. > > Ich habe mich jetzt soweit in die Systemtheorie eingearbeitet. Könntest > du mir den Unterschied Sinus-Rechteck erklären. Der Unterschied ist > nicht so leicht zu erkennen. Ruhig ein Paar Sätze formuliere. > > Danke Sorry, aber da muss ich leider passen. Mit Systemtheorie habe ich mich noch nie befasst, was eben auch damit zu tun hat, dass mein Bildungsweg kein akademischer war der dazu führte was ich schon seit Jahrzehnten bin: Praxis-orientierter Elektroniker. Dafür reichen Literatur wie z.B. HALBLEITER-SCHALTUNGSTECHNIK von Tietze/Schenk und ähnlichen Quellen. Mein Wirken in einem Forum ist daher im Sinne von "vom Praktiker zum Praktiker" zu verstehen. Und so sind auch alle meine Elektronik-Minikurse ausgerichtet, wobei ich in aller Bescheidenheit sagen darf, dass es bei den ebenfalls praxisorientierten Elektronikern und die welche es werden wollen, gut ankommt. Meine generelle Einstellung dazu ist die, die Welt der Theorie hat den selben Stellenwert wie der der Praxis und Erfahrung. Beides zusammen ist das was es braucht. Ohne irgendwelche Bewertungen. Ich vermute, dass die Wertschätzung von Theorie in gewissen Gesellschaftskreisen deutlich höher ist, als die der Praxis und Erfahrung, hat seine ursprünglichen Wurzeln im alte antiken Griechenland und zwar im Platonismus. Das was damit gemeint ist, gibt es auch in der deutlich älteren Kultur der Veda im alten Indien. Das Mahabharata-Epos lässt grüssen.... Und nein, ich bin unendlich weit davon entfernt das gesamte Werk zu kennen! Das alles ist aber ein Thema für sich. Es gehört nicht hierher und ich habe auch keine Zeit für weitere Diskussionen dazu. Aber zurück zu Deiner Frage. Ich kann sie nicht beantworten. Ich weiss einfach den eindeutigen Unterschied zwischen Sinus, Rechteck und z.B. Sägezahn, für meinen Bedarf: Sinus = Es gibt eine Frequenz im Spektrum. Rechteck (d/T=0.5) = Es gibt eine Grundfrequenz und viele Harmonische mit abnehmender Amplitude (die Werte weiss ich jetzt nicht auswendig). Die Harmonischen existieren bei f*3, f*5, f*7, f*9 etc. Nur bei den ungerade Faktoren. Sägezahn = Es gibt eine Grundfrequenz und viele Harmonische mit abnehmender Amplitude (die Werte weiss ich jetzt nicht auswendig). Die Harmonischen existieren bei f*2, f*3, f*4, f*5 etc. Akustisch hat dies bei Sägezahn die Wirkung, dass der Ton angenehmer ist. Also, wenn ich aus einem Rechtecksignal ein Sinussignal realisieren will, genügt es dass ich weiss, dass ich alle Harmonischen von f*3 und höher dämpfen muss und da eignet sich ein aktives Tiefpassfilter sehr gut und wenn nötig mit einem steuerbaren (Taktfrequenz) SC-Tiefpass. Zum Schluss noch. Auch wenn man kaum noch was von SC-Filtern liest. Diese Technik ist keinesfalls obsolet. Sie wird z.B. an der Abteilung für Elektrotechnik an der ETH-Zürich nach wie vor an Vorlesungen unterrichtet. Ich weiss das so genau, weil ich genau für diese Vorlesung eine Demoschaltung baute und den Studierenden mit passenden Erklärungen zeigte, damit es einen Gesamteindruck hinterliess. Solche Demos werden immer gerne gesehen. Wo werden SC-Filter industriell auch heute noch eingesetzt: Z.B. in Hörgeräten. Sie sind dabei nur ein Teil eines IC mit noch viel grösserem Funktionsumfang. Gruss Thomas
Beitrag #5442527 wurde von einem Moderator gelöscht.
x for u schrieb: > Thomas S. schrieb: >> Chaldära, wie die >> vor etwa 70'000 Jahren, welche mehr als 95 % aller oberirdischen >> Lebensformen auslöschte. > > Zu dieser Zeit krachte der Toba. Dadurch, und die (spekulativ) folgende, > davon (vielleicht) begünstigte Mini-Eiszeit mußten wohl einige ihr Leben > lassen - allerdings wohl nicht 95% aller oberirdischen Organismen. Das hat sich in der Zwischenzeit erledigt. Die beste Antwort bekam ich vom Analog-OPA. > Man weiß aber genau, worauf Du hinaus wolltest. Aha, interessant. Und wer ist 'man'? Bist u.a. Du das? Nun also, da ich selbst nicht weiss auf was ich hinaus wollte, bist Du als ein Prophet der ganz speziellen Art sicher in der Lage, die klärenden Worte zu liefern. Man (ich) ist (bin) gespannt... :-)
Beitrag #5442548 wurde von einem Moderator gelöscht.
Beitrag #5442553 wurde von einem Moderator gelöscht.
Beitrag #5443138 wurde von einem Moderator gelöscht.
Moin, seppel schrieb im Beitrag #5443138: > Ok, soweit. > Könnte mir jemand noch eine Handskizze anfertigen, um den Unterschied zu > visualisieren? Na, logo - ist doch Ehrensache. Hier:
1 | Sinus: Rechteck: Dreieck: |
2 | ( | / |
3 | ) | \ |
4 | ( | / |
5 | ) | \ |
6 | ( | / |
7 | ) | \ |
8 | ( | / |
9 | ) | \ |
10 | ( | / |
11 | ) | \ |
12 | ( | / |
13 | ) | \ |
14 | ( | / |
15 | ) | \ |
Gruss WK
Beitrag #5443167 wurde von einem Moderator gelöscht.
Beitrag #5443172 wurde von einem Moderator gelöscht.
Beitrag #5443176 wurde von einem Moderator gelöscht.
Beitrag #5443192 wurde von einem Moderator gelöscht.
Beitrag #5443194 wurde von einem Moderator gelöscht.
Beitrag #5443201 wurde von einem Moderator gelöscht.
Beitrag #5443221 wurde von einem Moderator gelöscht.
Jetzt bin ich zwar nicht Thomas, aber wenn ich's waer', wuerd' ich auch erstmal in der Nase bohren. Viele Probleme und anstrengende Aufgaben verschwinden dann voellig von alleine. Probier's doch auch mal aus.
Beitrag #5443238 wurde von einem Moderator gelöscht.
Beitrag #5443247 wurde von einem Moderator gelöscht.
Thomas S. schrieb im Beitrag #5442418: > Ich habe das jetzt so geschrieben wie ich es etwa in Erinnerung habe. > Vom Fach bin ich nicht. Ui, so weit kann ich mich nicht zurück erinnern, Respekt!
Thomas S. schrieb im Beitrag #5442418: > Ein interessanter Beweis dafür sind Schichten mit so genannt geschocktem > Iridium. Das Iridium ist nicht geschockt, sondern ist gleich verdampft und hat sich dann global verteilt. Geschockt war das Gestein um den Einschlag.
seppel schrieb im Beitrag #5442323: > Ich bin Anfänger, ist das jetzt schon ein Verbrechen? seppel schrieb im Beitrag #5443194: > Verdammt nochmal. > Ich sagte, du sollst eine Handzeichnung machen. Für einen Anfänger bist du ganz schön fordernd (höflich ausgedrückt) Deine Beiträge haben bereits Züge eines Trolls.
Dimpfelmoser schrieb: > Deine Beiträge haben bereits Züge eines Trolls. Es muss ja auch Anfänger-Trolle geben. Aber er ist schon recht weit, im Moment überzieht er aber noch die Unverschämtheit. Georg
seppel schrieb im Beitrag #5443194:
> Verdammt nochmal.
...und Du denkst Du kommst mit beschimpfungen weiter?
Ich würde Dir empfehlen, in der Grundschule die
Klassen 1...4 zu wiederholen.
Leute! Könnt ihr mal aufhören, den Troll zu füttern? Und könnte bitte ein Moderator den Thread schließen? Danke.
guest...Rainer schrieb im Beitrag #5441488: > Anscheinend wird die Welt > der Dummköpfe nicht mehr zum Quadrat größer, sondern zu einer > beängstigenden (höheren, unbekannten) Potenz. Exponentiell, leider mit positiver Konstante.. seppel schrieb: > Ich habe mich jetzt soweit in die Systemtheorie eingearbeitet. Schön. seppel schrieb: > Könntest > du mir den Unterschied Sinus-Rechteck erklären. Der Unterschied ist > nicht so leicht zu erkennen. Ooops, wohl doch nicht. :D Thomas S. schrieb: > Sorry, aber da muss ich leider passen. Mit Systemtheorie habe ich mich > noch nie befasst, Keine Panik, Seppel auch nicht, er kennt maximal das Wort! seppel schrieb im Beitrag #5443194: > Verdammt nochmal. > Ich sagte, du sollst eine Handzeichnung machen. Ach Mensch, HB-Männchen, bist Du es? Lange nichts von Dir gehört! :D seppel schrieb im Beitrag #5443247: > Dieses Dozenten-Pack erklärt nichts mehr. Nachfragen und Interesse sind > verpönt. Macbh erstmal in Ruhe die Grundschule fertig, dann wird man sehen, ob's zum Abimachen reicht. Wenn Du das dann geschafft hast, solltest Du in der Lage sein, zu studieren. Das geht dann so, dass man sich selber Dinge z.B. aus Büchern (war vor Deiner Zeit, ich weiß!) herausliest. Aber bis dahin ist ja (Deinem Konversationsstil nach zu urteilen) noch eine Menge Zeit! ;)
seppel schrieb im Beitrag #5443194: > Verdammt nochmal. > Ich sagte, du sollst eine Handzeichnung machen. Ich denke, Du solltest längst dringend einen Blut/Allehol-Test machen! Maiiii, ist das hier ein Gaudi:-)))))) Erinnert mich an die ollen Zeiten im UseNet, wo noch jemand Namens Blumentritt, Freimann (Freibier) und ein Pöstler den Schlagabtausch führten. Die goldenen und noch unschuldigen Internetzeiten der 1990er-Jahre.... Gruss Thomas
Thomas S. schrieb: > Ich denke, Du solltest längst dringend > einen Blut/Allehol-Test machen! Ich glaube nicht, dass das mit C2H5-OH erklärbar ist. Da müssen härtere Sachen am wirken sein.
Dergute W. schrieb: > Jetzt bin ich zwar nicht Thomas, aber wenn ich's waer', wuerd' ich auch > erstmal in der Nase bohren. Ich bin schon dran und habe bereits vier Bögs herausgebohrt. War bitter nötig, es hätte sonst noch ein Nasenloch-Infarkt gegeben und ich wäre tot vom Stuhl runtergefallen. Gruss Thomas
Harald W. schrieb: > seppel schrieb im Beitrag #5443194: > >> Verdammt nochmal. > > ...und Du denkst Du kommst mit beschimpfungen weiter? > Ich würde Dir empfehlen, in der Grundschule die > Klassen 1...4 zu wiederholen. Wiederholen? Der ist schon im zarten Alter von 35 an der Aufnahmeprüfung zur Vorschule gescheitert.
Axel S. schrieb: > Leute! Könnt ihr mal aufhören, den Troll zu füttern? > > Und könnte bitte ein Moderator den Thread schließen? > Danke. Spielverderber, Petze! :) Nee, hast ja recht.... PS: Hat eigentlich 'mal jemand geschafft, einen Troll so zu überfüttern, dass er geplatzt ist (der Troll, natürlich!)? :)
M.A. S. schrieb: > Axel S. schrieb: >> Leute! Könnt ihr mal aufhören, den Troll zu füttern? >> >> Und könnte bitte ein Moderator den Thread schließen? >> Danke. > > Spielverderber, Petze! :) > > Nee, hast ja recht.... > > > > PS: > Hat eigentlich 'mal jemand geschafft, einen Troll so zu überfüttern, > dass er geplatzt ist (der Troll, natürlich!)? > :) Das wohl nicht,aber dass so einer den Pissiater (Psychiater) aufsuchen musste, schon. Der mit dem Pseudonym Freibier (früheres Posting von mir) musste jährlich im Sommer in die Klappsmühle zur "Erholung". Es brachte allerdings nicht all zu viel, weil die "Zelle" hatte Internetanschluss... Gruss Thomas
Thomas S. schrieb: > Es brachte > allerdings nicht all zu viel, weil die "Zelle" hatte > Internetanschluss... :) Es gibt kein..., noch nie ist einer über eine Strecke gelaufen...
M.A. S. schrieb: > Thomas S. schrieb: >> Es brachte >> allerdings nicht all zu viel, weil die "Zelle" hatte >> Internetanschluss... > :) > > Es gibt kein..., noch nie ist einer über eine Strecke gelaufen... Hmmmm, da verstehe ich jetzt nur noch SBB (Bahnhof). :-/
Moin, Na, hier ist ja in der Zwischenzeit ordentlich was losgewesen. Aber in der Sache ging's ja wenig weiter. seppel schrieb im Beitrag #5443238: > Verdammt nochmal, bist du nicht in der Lage, eine Handskizze > anzufertigen? Wie kommst du denn darauf? Natuerlich kann ich eine Handskizze anfertigen. Sieht eher so aus, als haettest DU damit die Probleme. Ist aber ganz einfach, guggstdu: Druck' einfach die ASCII-Art aus meinem Post von gestern abend 21.45h aus, bring' sie mit einem Fotokopierer oder so auf die gewuenschte Groesse und dreh' sie in die gewuenschte Richtung. Und dann kommt der Clou: Nimm einfach Butterbrotpapier, das wird bisschen durchsichtig, wenn du's auf den Ausdruck legst; dann kannst du mit einem Kugelschreiber in einer Farbe deiner Wahl einfach die Kurven nachfahren und schon hast du deine Handskizze. Probiers aus, ist wirklich ganz einfach. Gruss WK
Dergute W. schrieb: > Ist aber ganz einfach, guggstdu: Viel zu viel Aufmerksamkeit für einen Rüpel-Troll. Georg
georg schrieb: > Viel zu viel Aufmerksamkeit für einen Rüpel-Troll. Ja, die auf seine Wünsche eingehenden, oder einzugehen scheinenden Beiträge könnten theoretisch als "Futter" dienen. Ich denke aber, so einfach ist es gar nicht. Meine aktuell favorisierte (wenn auch abenteuerliche) These: Das Weichei hatte es nur nicht mehr ertragen können, von seiner Lehrerin / Dozentin ständig "Befehle" zu bekommen - und hatte die aktuelle Wochenend-Hausaufgabe: ("a.) Wie macht man aus einem Sinus ein Rechteck, und umgekehrt? ) ( b.) Was sind die entscheidenden Unterschiede der Signalformen? ) ( ) ( In eigenen Worten, mehrere Sätze, Handskizze." ) ...aus dem Forum "verbal herausprügeln" wollen, und zwar "fix und fertig". Um sich endlich besser zu fühlen.(?) (Seit MO morgens auch gar keine weiteren "Forderungen" - paßte dazu.) Ich bezweifle also, daß er sich über etwas anderes (egal, was) gefreut hätte (und auch nicht "immer noch freut / freuen würde") - und nehme an, daß es seinerseits jetzt sowieso vorbei ist.
karadur schrieb: > Na, ob er die Anleitung versteht ? Das wäre vielleicht noch möglich. Sein Problem ist, er hat keine Zeit dafür, weil er sich vorbereiten muss für seinen nächsten Schimpf-Anfall. Gruss Thomas





