Hallo, bin absoluter Laie und suche eine (hoffentlich) simple Schaltung. Ich suche nach der Möglichkeit ein bistabiles Relais mit nur einem Taster zu betätigen, so ähnlich wie die Taste auf einer Fernbedienung. Einmal drücken, Gerät an, nochmal drücken, Gerät aus. Bis jetzt benötige ich zwei Taster, welche die Schaltstellungen umschalten (+12V auf mittleren Pin, -12V auf linken oder auf rechten Pin, je nach gewünschter Schaltstellung). Da das verwendete Relais einen mechanischen Schiebeschalter besitzt, welcher zwei Positionen kennt (je nach Schaltstellung), kann ich dort einen kleinen Magneten anbringen (siehe Bild) und mit einem Reedschalter ein zusätzliches Signal erzeugen. Das funktioniert soweit auch ganz gut um z.B. eine LED damit zu schalten, die dann je nach Schaltstellung des Schiebeschalter/Reedschalter den Status des angeschlossenen Gerät (an oder aus) anzeigt. Nun habe ich mir gedacht einen zweiten Reedschalter mit diesem Magnet zu schalten. Hier sollte dann eine kleine Schaltung dran hängen, die dafür sorgt das je nach Schaltstellung (Reedschalter 0 oder 1), die 12V Leiterbahn für das einschalten oder die 12V Leiterbahn für das ausschalten durchgeleitet wird. Problem an der Stelle, es müsste wohl eine kleine (ca. 3 Sekunden) Schaltsperre implementiert werden, damit ein Druck auf den Taster die Schaltstellung nicht ungebremst hin und herspringen läßt. Ich wäre für nützliche Hinweise sehr dankbar. Bin auch bereit für eine brauchbare Lösung etwas zu spenden.
Peter L. schrieb: > Ich suche nach der Möglichkeit ein bistabiles Relais mit nur einem > Taster zu betätigen, Foto ist löblich, aber ohne Daten - nö. Tipp: besorg Dir einen https://de.wikipedia.org/wiki/Stromsto%C3%9Fschalter andere Lösungen münden in komplizierterem Geschwurbel und Gemurkse. Die Suchfunktion liefert auch viele [Schein-] Lösungen - schon gesucht?
Hast Du einen Link zu einem Datenblatt für das Relais? Darf ein IC zum Einsatz kommen? Weshalb dieses Relais? Stromstoßschalter wurde im Post vorher genannt.
IC wäre erstmal kein Problem denke ich. Datenblatt habe ich leider keines, ist das denn wirklich notwendig bei einem 3poligen Anschluss? Nach einer Lösung habe ich schon viele Stunden/Tage gesucht, erfolglos. Stromstoßschalter funktioniert bei meinem Vorhaben, also das man nur noch einen Schalter benötigt? Das Relais muss es leider sein, da ich davon ein Dutzend vor einigen Jahren gekauft habe.
Peter L. schrieb: > Bis jetzt benötige ich zwei Taster, welche die Schaltstellungen > umschalten (+12V auf mittleren Pin, -12V auf linken oder auf rechten > Pin, je nach gewünschter Schaltstellung). Mit -12V vermute ich meinst Du den Minusanschluss am Netzteil, also GND bzw. 0V.
Jörg R. schrieb: > Funktioniert das Relais auch wenn GND (0V) in der Mitte liegt, > und +12V dann am linken bzw. rechten Pin? Ja, das funktioniert auch
Peter L. schrieb: > Jörg R. schrieb: >> Funktioniert das Relais auch wenn GND (0V) in der Mitte liegt, >> und +12V dann am linken bzw. rechten Pin? > > Ja, das funktioniert auch Ich hatte eine Ansatz mit einem IC im Kopf, der funktioniert nach einiger Überlegung leider doch nicht. Der Aufwand ist doch etwas aufwendiger. 2 Transistoren werden auch benötigt. Dürfen es auch 2 ICs sein, wobei ich auch noch darüber nachdenke ob es eine einfachere Lösung gibt. Es wundert mich dass ich kein DB zum Relais finde, selbst nicht auf der Website von Gruner. Es gibt ähnliche, aber nicht für genau das 703M-I1U-Q100-009.
Hi Jörg, Danke für das Engagement. Zwei ICs würden zur Not auch noch gehen, ich hatte jedoch gehofft das es nicht ganz so kompliziert zu lösen ist. Vielleicht würde es die Sache vereinfachen wenn ich einen bistabilen Reedschalter benutze? Dann wäre nur noch das Problem, den Taster für 2-3 Sekunden zu sperren?
Peter L. schrieb: > Hi Jörg, Danke für das Engagement. Zwei ICs würden zur Not auch noch > gehen, ich hatte jedoch gehofft das es nicht ganz so kompliziert zu > lösen ist. Ich mache mir mal ein Paar Gedanken, vermute aber dass auch noch Vorschläge von anderen Usern kommen. Es gab auch schon mal einen ähnlichen Thread, den finde ich nur leider nicht mehr. > Vielleicht würde es die Sache vereinfachen wenn ich einen > bistabilen Reedschalter benutze? Dann wäre nur noch das Problem, den > Taster für 2-3 Sekunden zu sperren? Kannst Du das etwas präziser beschreiben? Bistabile Reedrelais kenne ich nicht.
OK, vielen Dank. Mit dem bistabilen Reedschalter/Reedkontakt meinte ich sowas hier: https://www.ebay.de/itm/254543230575?ViewItem=&item=254543230575 Je nach Position des Magneten wird der Strom an einen der beiden "Ausgängen" durchgelassen. Ich habe so einen Reedschalter hier, ist leider teuer und sehr empfindlich.
Peter L. schrieb: > Mit dem bistabilen Reedschalter/Reedkontakt meinte ich sowas hier: > Ebay-Artikel Nr. 254543230575 > Je nach Position des Magneten wird der Strom an einen der beiden > "Ausgängen" durchgelassen. Das sind normale Reedkontakte. Die schalten solange wie der Magnet anliegt. So, für jetzt ist Feierabend?
Die angehängte Schaltung funktioniert, braucht aber drei Relais für die gestellte Aufgabe. Vielleicht nur als Anregung?
Peter L. schrieb: > Ich suche nach der Möglichkeit ein bistabiles Relais mit nur einem > Taster zu betätigen Da es einen Umschaltkontakt besitzt:
1 | +--|>|--+ | +--|<|--+ |
2 | | | O | | |
3 | | Rel...../.......Rel | |
4 | | | O O | | |
5 | | | | | | | |
6 | +-------(-2k2-(---+ | | |
7 | | | | | | |
8 | | | +-----2k2-(-------+ |
9 | | | | | |
10 | | +-------+-------+ | |
11 | | | | |
12 | 22uF Taster 22uF |
13 | | | | |
14 | GND GND GND |
Jörg R. schrieb: > Es wundert mich dass ich kein DB zum Relais finde, selbst nicht auf der > Website von Gruner. Es gibt ähnliche, aber nicht für genau > das 703M-I1U-Q100-009. Das ist ein typisches Relais aus einem Rundsteuerempfänger. An die abgewinkelten Anschlüsse der Kontakte wird direkt die Ausgangsklemme kontaktiert (spart Leiterplatte) und der "Betätiger" dient in erster Linie dazu, den Schaltzustand durch einen transparenten Teil des Gehäuses zu erkennen. Diese Relais werden zu 100-tausenden mit kundenspezifischen Eigenschaften hergestellt, da gibt es nicht immer ein öffentlich zugängiges Datenblatt dazu.
Das ist eine interessante Aufgabe. Da das Relais eine Spulenspannung von 14 V benötigt, müssen bei Verwendung von ICs für die Logik diese extra versorgt werden. Zum Umschalten benötigt das Relais nur einen Impuls, aber je nach Stellung des Relais muss der positiv oder negativ sein - die Schaltung muss also ein "Gedächtnis" haben. Das Relais hat nur einen Kontaktsatz und der wird ja wohl für die Schaltaufgabe (mit vermutlich anderer Spannung als der Spulenspannung, eventuell sogar mit Netzspannung) benötigt. Ist das nicht der Fall, ist die von MaWin empfohlene Schaltung die einfachste Lösung. Wenn aber die Ansteuerschaltung die Relaiskontakte nicht als "Erinnerungsfunktion" mit benutzen darf, würde ich wegen der mit 14 V recht hohen Spulenspannung und weil für das Umschalten ein Stromimpuls von 140 mA benötigt wird (Spulenwiderstand 100 Ohm), die Schaltung diskret aufbauen. In einer gut sortierten Materialkiste müsste genügend "Hühnerfutter" für solch eine Schaltung vorhanden sein. Die wesentlichen Schaltungteile: Mit 2 Transistoren würde ich ein Flip-Flop (bistabiler Multivibrator) aufbauen. Das wäre das "Gedächtnis". Bei Betätiung des Tasters würde ich über 2 Kondensatoren und einen Widerstand einen positiven Impuls direkt auf die Kollektoren der Transistoren geben. Da einer der Transistoren schon leitend ist, würde dieser nur am gerade gesperrten Transistor etwas bewirken und das Flip-Flop kippen. (Ein wenig Nachdenken - und eventuell noch Probieren bei den Zeiten könnte nötig sein.) Von den Kollektoren des Flip-Flops würde ich über 2 Kondensatoren Transistoren durchschalten, die Teil einer Brückenschaltung sind. Das Relais hängt im Brückenzweig und bekommt so seinen Umschaltimpuls. Auch die Brücke würde ich diskret aufbauen (2 NPN- und 2 PNP- Transistoren). Das wäre zwar ein wenig "Gebastel" aber mit einer entsprechenden Leiterplatte könnte man die Schaltung leicht mehrfach aufbauen. Manchmal ist solch eine "very old style" Lösung allein durch die Einsparung verschiedener Stromversorgungen und Relais-Treiberstufen einfacher als Schaltungen mit vorgefertigten Baugruppen oder gar mit Prozessoren.
Peter L. schrieb: > Ich suche nach der Möglichkeit ein bistabiles Relais mit nur einem > Taster zu betätigen, so ähnlich wie die Taste auf einer Fernbedienung. > Einmal drücken, Gerät an, nochmal drücken, Gerät aus. Die da benötigte Zusatzschaltung wird vermutlich teurer, als wenn Du dir gleich ein passendes Stromstossrelais kaufst.
Günni schrieb: > Das ist eine interessante Aufgabe. Da das Relais eine Spulenspannung von > 14 V benötigt, müssen bei Verwendung von ICs für die Logik diese extra > versorgt werden dafür gibt es die CD oder HEF 4000er Serie CD4000er Operating Range (VDD) 3Vdc bis 15Vdc HEF4000er power supply range of 3 V to 15 V
Joachim B. schrieb: > dafür gibt es die CD oder HEF 4000er Serie > CD4000er > Operating Range (VDD) 3Vdc bis 15Vdc Ich mag die 4000er sehr, zumal man die auch analog missbrauchen kann. Aber wenn man an die Grenze der Versorgungsspannung geht, muss man vorsichtig sein und auf den Hersteller achten. Da ist oft nicht 4000 drin, obwohl da 4000 drauf steht. Und dann brauche ich mindestens 2 Bausteine (oder muss kräftig tricksen) und immer noch die Brückenschaltung zur Ansteuerung des Relais. Der Aufwand insgesamt wird damit nicht weniger. Klaus R. schrieb: > Eine recht einfache Lösung wäre z.B. ein NE555 als plipflop (mit einem > Taster). Ich hatte auch an einen 556 (dual timer) gedacht, einen als eine Art Flipflop und einen um die Ansteuerzeit für das Relais zu begrenzen. Aber die Ausgangsstufen der Timer schaffen nur 100 mA und für den Polaritätswechsel über der Relaisspule brauche ich auch noch weitere Beschaltung. Ein Flip-Flop mit 2 Transistoren war als "PAL-Flip-Flop" in jedem Farbfernseher, als diese noch mit Transistoren aufgebaut waren. Die Schaltungen sind erprobt und die Brückenendstufe ist eigentlich simpel und man braucht sie ohnehin. Und wer es aufwändig machen will, nimmt eine integrierte Brückenendstufe. Ich löte liebe ein paar (wenige) Transistoren als die engen Abstände von irgendwelchen ICs.
Günni schrieb: > Da ist oft nicht 4000 > drin, obwohl da 4000 drauf steht. du meinst sicher die mit dem Vornamen 74HC40xx ;)
Klaus R. schrieb: > Eine recht einfache Lösung wäre z.B. ein NE555 als plipflop (mit einem > Taster). Statt einen 555 per Schwurbelschaltung zu einem JK-Flipflop umzubauen, kann man auch gleich ein passendes JK-Flipflop-IC nehmen.
Harald W. schrieb: > Statt einen 555 per Schwurbelschaltung zu einem JK-Flipflop umzubauen, > kann man auch gleich ein passendes JK-Flipflop-IC nehmen. sowas? cd4027b https://www.ti.com/lit/ds/symlink/cd4027b-mil.pdf?ts=1588085122612 https://www.reichelt.de/flip-flop-jk-type-dual-3-18-v-dil-16-cd-4027be-tex-p216647.html CD 4027BE TEX Flip-Flop JK-Type, Dual, 3 ... 18 V, DIL-16 https://cdn-reichelt.de/documents/datenblatt/A200/CD4027B_ENG_TDS.pdf
Joachim B. schrieb: >> Statt einen 555 per Schwurbelschaltung zu einem JK-Flipflop umzubauen, >> kann man auch gleich ein passendes JK-Flipflop-IC nehmen. > > sowas? > cd4027 Z.B. In der 4000er Reihe gibt es sehr viele geeignete Flipflops, die fast alle verwendet werden können. Es muss sich allerdings um ein MasterSlave (MS) Flipflop handeln, was bei den meisten IC-Flipflops der Fall ist. Der 555 dagegen enthält nur ein einfaches RS-Flipflop.
Harald W. schrieb: > Es muss sich allerdings > um ein MasterSlave (MS) Flipflop handeln, nun widersprichst du dir selber ein wenig? Harald W. schrieb: > kann man auch gleich ein passendes JK-Flipflop-IC nehmen. was denn nun JK oder MS oder RS mit reset & set? Ich weiss die kann man alle irgendwie umbauen, aber im Moment weiss ich es nicht und deine Aussage ist mal mathematisch betrachtet nicht eineindeutig ;) Ich neige nun klar zu RS FlipFlop Set und Reset bei 2 Spulen und bi-stabil!
Joachim B. schrieb: > was denn nun JK oder MS oder RS mit reset & set? JK und MS. Die genaue Bedeutung dieser Begriffe sollte man am Besten in entsprechenden Grundlagenbüchern nachlesen.
Jörg R. schrieb: > Es gab auch schon mal einen > ähnlichen Thread, den finde ich nur leider nicht mehr. Ja. Da war diese Schaltung mit dem CD4013 von dir drin. Den Thread finde ich leider auch nicht mehr, aber ich habe mir damals zum Glück vorher diese Schaltung daraus runter geholt. Da sowieso zwei Transistoren benötigt werden, könnte man die beiden IC's auch komplett weglassen und nur aus den beiden Transistoren ein Flip Flop bauen. Über die genaue Dimensionierung kann man nochmal reden, wenn man die Spulenwiderstände kennt.
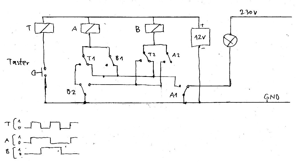
Ach Du grüne Neune schrieb: > Jörg R. schrieb: >> Es gab auch schon mal einen >> ähnlichen Thread, den finde ich nur leider nicht mehr. > > Ja. Da war diese Schaltung mit dem CD4013 von dir drin. Den Thread finde > ich leider auch nicht mehr, aber ich habe mir damals zum Glück vorher > diese Schaltung daraus runter geholt. Rainer schrieb: > Vieleicht dieser Thread Beitrag "Einmal drücken Alarm ein, nochmal > drücken aus" ? > > Rainer Vielen Dank an Euch 2. Die Schaltung passt leider nicht ganz zur Anforderung des TO. Die Relais sind nicht bistabil. Eines steht immer unter Spannung bzw. Strom. Es bräuchte einige Änderungen um meine Schaltung für die Anforderung des TO anzupassen. Rainer schrieb: > Da sowieso zwei Transistoren benötigt werden, könnte man die beiden IC's > auch komplett weglassen und nur aus den beiden Transistoren ein Flip > Flop bauen. Über die genaue Dimensionierung kann man nochmal reden, wenn > man die Spulenwiderstände kennt. Die Spulen habe je 100R. https://www.mikrocontroller.net/attachment/455258/relais2.jpg Mein Ansatz ist ein D-FlipFlop mit Schmitt-Trigger-Eingängen. An die Ausgänge kommt je ein 1/2 CD4538, natürlich mit Treibertransistoren, für etwas Verzögerung damit das Relais sicher schaltet. Das lässt sich auch anders lösen, aber mit dem CD4538 wird es elegant. Das FlipFlop mit Schmitt-Trigger-Eingängen damit der Taster einfach entprellt werden kann > RC Kombi, so wie oben in der Schaltung. Einen Typ habe ich auf die schnelle gefunden: http://www.ti.com/lit/ds/symlink/sn74hcs74.pdf?ts=1588078576438 Den gibt es aber wohl nur in SMD. @TO Kommt auch ein Taster mit Umschaltekontakt in Frage?
Jörg R. schrieb: > Kommt auch ein Taster mit Umschaltekontakt in Frage? Ich wußte gar nicht das es sowas gibt. Wüßte daher erstmal nichts was dagegen spricht.
Harald W. schrieb: > JK und MS. hattest du nicht geschrieben, willst du auf schlau machen? Ich habe keine Lust das nachzuschlagen, du machtest ein Vorschlag, ist doch OK, wenns für den TO passt. Ich will das nicht bauen, las nur deine unterschiedlichen Statements. Ich weiss das MS mit 2 FF hintereinander gebaut werden können, deswegen ja Master/Slave, ich weiss auch das RS FlipFlops sogar mit Gatter gebaut werden können, aber ist länger her und nicht mein tägöich Brot, also belassen wir es dabei. Ich fragte ja nur ob du denkst das der CD4027 für den TO passt, denn der Vorschlag kam von dir.
Den NE555 hatte ich vorgeschlagen da er an jeder Ecke zu bekommen ist (vielleicht ja sogar beim TE in der Kruschelkiste rumfliegt), dessen Betriebspannung zur vom TE angegebenen Betriebsspannung des Relais passen würde und da das Relais zwei Wicklungen hat (ob man jetzt einen "Mittelabgriff" in Betracht zieht oder nicht), noch nicht einmal eine "umpolende" Nachbeschaltung nötig würde (obwohl auch das kein Problem wäre). Ob dem NE555 Ausgang überhaupt zwei T nachgeschaltet werden müssten, würde von der Stromaufnahme der Wicklungen bei deren Nennspannung abhängen. Da es scheint's kein Datasheet gibt, sollte man die Stromaufnahme der Wicklungen zunächst einmal bei der Spannung, bei der sie auch betrieben werden sollen messen, damit man für weitere Überlegungen überhaupt weiss in welchem Bereich man sich da befindet.
Klaus R. schrieb: > Da es scheint's kein Datasheet gibt, sollte man die Stromaufnahme der > Wicklungen zunächst einmal bei der Spannung, > bei der sie auch betrieben werden sollen messen, damit man für weitere > Überlegungen überhaupt weiss in welchem Bereich man sich da befindet. 120mA, ergibt sich aus 12V und 100R Spulenwiderstand je Teilwicklung. Klaus R. schrieb: > Ob dem NE555 Ausgang überhaupt zwei T nachgeschaltet werden müssten, > würde von der Stromaufnahme der Wicklungen bei deren Nennspannung > abhängen. Ich überlege ja auch noch, aber die Ideen hier mit 555 würden mich auch schon als Schaltung interessieren.
Jörg R. schrieb: > aber die Ideen hier mit 555 würden mich auch schon als Schaltung > interessieren. Mich auch.
Ich denke noch über eine einfache Lösung mit „klassischen“ ICs nach, wundere mich aber gerade dass der Begriff uC noch nicht gefallen ist. Ein Attiny85, 2 Transistoren, ein Spannungsregler und wenige Cs und Rs lösen das Problem mit wenig Aufwand.
Mawins Lösung mit den Kondis scheint mir am einfachsten. Da ja ausreichend weitere bistabile Relais vorhanden sind, hat er ja sein FF :)
Henrik V. schrieb: > Mawins Lösung mit den Kondis scheint mir am einfachsten. Da ja > ausreichend weitere bistabile Relais vorhanden sind, hat er ja sein FF > :) Und womit schaltet der TO die Last?
Anbei eine Handskizze wie ich es mit klassischen ICs umsetzen würde. Bauteilwerte und Freilaufdioden fehlen in der Skizze. Es soll nur ein Ansatz sein. Funktion: Mit jedem Tastendruck wechselt der Zustand der Ausgänge des FF. Dabei wird dann abwechselnd IC2A bzw. IC2B getriggert, für die Zeit X. 0,5 Sekunden sollten reichen um das Relais zu setzen bzw. zurückzusetzen. @TO Wenn Du es tatsächlich umsetzen möchtest und den Aufwand nicht scheust werde ich konkreter. Dauert aber etwas? Trotzdem noch die Frage was Du von einem kleinen uC hälst?
Erstmal Danke für die vielen Antworten. Ich bin ehrlich gesagt ein wenig überfordert mit den ganzen Lösungsvorschlägen, da absoluter Laie. Jörg R. schrieb: > Trotzdem noch die Frage was Du von einem kleinen uC hälst? Die Schaltung würde ich ca. 12x nachbauen. OK wäre es vermutlich noch, wenn nur 2-3 Leitungen an die jeweiligen µCs zu löten sind und diese nicht mehrere Euros pro Stück kosten. Die Relais sollen 230V Verbraucher schalten. Die Lösung von MaWin werde ich daher nicht nehmen können? Die hier gebrachte Idee mit dem Wechseltaster wäre evtl. noch eine Möglichkeit den Aufwand zu reduzieren, ich bin allerdings nicht schlau geworden aus den Angeboten im Internet. Wie merkt sich den so ein Wechseltaster den letzten Tastendruck? Benötigt er dazu Strom, würde das für meinen Zweck nicht funktionieren, da die Relais ihre Schaltposition ohne Strom beibehalten und der Taster dies auch können muss, entweder mechanisch (wie beim Relais) oder per selbst gebaute Schaltung (Erkennung der Schaltposition per Reedkontakt). Ich habe das Relais nochmal getestet und dabei folgendes herausgefunden. Es müssen nicht alle drei Anschlüße verwendet werden. Es reicht aus bei zwei Anschlüßen immer die +14V/GND Polung zu vertauschen um ein umschalten des Relais zu bewirken. Könnte das den Schaltplan ein wenig vereinfachen?
Peter L. schrieb: > Wie merkt sich den so ein > Wechseltaster den letzten Tastendruck? Hi, Folgende Zustände sollten unterschieden werden. Keine Netzspannung. In welcher Position befindet sich das Relais? Ein - ich nenn es hier einfach einmal - "gepoltes" Relais behält so lange die zuletzt ausgelöste Schaltposition bei, bis wieder eine Änderung durch Ansteuerung (Tastendruck) erfolgt. Auch, wenn zwischenzeitlich keine Versorgungsspannung anliegt. Willst Du als definierten Schaltzustand am Anfang bei Einschalten oder Wiederkehr der Netzspannung als Schaltzustand den "Ruhezustand" des Relais, kannst Du keine "gepolten" verwenden. Ist diese Reset-Bedingung nicht erforderlich, wird der letztgewählte Schaltzustand beibehalten. Der Wechseltaster merkt sich garnichts. Das erledigt das "gepolte" Relais. Lösungsansatz: Steuerung und Meldekreise getrennt aufbauen. Wird etwas umfangreicher. Deine Überlegungen gingen schon in diese Richtung: Peter L. schrieb: > Das funktioniert soweit auch ganz gut > um z.B. eine LED damit zu schalten, die dann je nach Schaltstellung des > Schiebeschalter/Reedschalter den Status des angeschlossenen Gerät (an > oder aus) anzeigt. Peter L. schrieb: > damit > ein Druck auf den Taster die Schaltstellung nicht ungebremst hin und > herspringen läßt. Ein ungewolltes "Toggeln" kann man dadurch vermeiden, dass bei Betätigung des Tasters nur einmal ein mehr oder weniger definiert langer Impuls erzeugt wird. Bei dem streichholztrickverhindernden Treppenlichttastern ist dafür ein Differenzierglied mit Kondensator im Rex/Legrand oder Finder bzw. Theben schon eingebaut. Sozusagen vandalismussicher. ciao gustav
Wenn du mit einem Umschalter auch zufrieden bist (1xUM), dann könnte man an den mittleren Anschluss des Schalters einen 470uF Elko anschliessen der dann die Spule für einen kurzen Moment schaltet und danach keinen Strom mehr verbraucht. Beim Umschalten entlädt sich der Elko dann über die Spule rückwärts und das Relais schaltet wieder zurück. Es wird nur ein Elko pro Relais benötigt, mehr nicht. Dadurch bleibt die Schaltung sehr einfach.
Ach Du grüne Neune schrieb: > Wenn du mit einem Umschalter auch zufrieden bist (1xUM), Oder ein Kippschalter nicht rastend mit Mittelstellung, dann benötigt man keine weiteren Bauteile. Peter L. schrieb: > OK wäre es vermutlich noch, > wenn nur 2-3 Leitungen an die jeweiligen µCs zu löten sind und diese > nicht mehrere Euros pro Stück kosten. Ich sage mal dann scheidet jede Lösung mit ICs aus. Nicht wegen des Preises, sondern wegen des Aufwands.
Kippschalter mit Mittelstellung wäre auch eine Möglichkeit, wenn es zu kompliziert wird. Meine ursprüngliche Idee war es beleuchtete Taster verwenden zu können (siehe Bild).
Jörg R. schrieb: > Ich sage mal dann scheidet jede Lösung mit ICs aus. Nicht wegen des > Preises, sondern wegen des Aufwands. Schade, Dein Schaltbild hat für mich nach relativ wenig Verdrahtung ausgesehen. Als Laie kann ich das leider nicht so richtig einschätzen.
Peter L. schrieb: > Die Relais sollen 230V Verbraucher schalten. Die Lösung von MaWin werde > ich daher nicht nehmen können Tja, wenn man erst bei der 10. Salamischeibe damit rausrückt, kann das vorher keiner erahnen. Aber du wolltest den Hebel als Erweiterung nutzen um Rückmeldekontakte zu schalten. Dann geht es doch.
Peter L. schrieb: > Jörg R. schrieb: >> Ich sage mal dann scheidet jede Lösung mit ICs aus. Nicht wegen des >> Preises, sondern wegen des Aufwands. > > Schade, Dein Schaltbild hat für mich nach relativ wenig Verdrahtung > ausgesehen. Als Laie kann ich das leider nicht so richtig einschätzen. Es ist nur eine Skizze. Der finale Schaltplan wäre aufwendiger. Es fehlen einige Widerstände und Kondensatoren. Es sähe vom Bauteileaufwand dann eher so aus, nur als Orientierung: https://www.mikrocontroller.net/attachment/455376/Flip_Flop_CD4013.png Deutlich weniger Aufwand wäre ein Attiny85. Der Chip, 8-polig, Spannungsregler, 2 Transistoren, 2 Dioden, einige Widerstände und Kondensatoren. Wie gesagt, ich würde die Schaltung zu Ende denken, nur müsste sich der Aufwand lohnen. D.h. er müsste dann auch in die Tat umgesetzt werden. Ich vermute aber dass er Dir zu hoch ist, zumal Du die Schaltung 12 mal benötigst. Alternative wäre ein PCB was preiswert in China gefertigt werden könnte. Peter L. schrieb: > Kippschalter mit Mittelstellung wäre auch eine Möglichkeit... Simpler geht es nicht. Der Kippschalter sollte aber nicht rastend sein, d.h. er geht selbstständig in die Mittelstellung zurück.
> Es sähe vom Bauteileaufwand dann eher so aus, nur als Orientierung:
Ups, das alles wäre dann doch zu heftig für mich. Trotzdem Tausend Dank
für die Hilfe.
Ich werde die Schaltung vom MaWin die Tage mal testen, die schaut mit 4
Bauteilen recht übersichtlich aus. Danke auch dafür. Im Erfolgsfall
melde ich mich nochmal.
Ansonsten danke ich allen für die Ideen und Vorschläge. Bitte nicht
verärgert sein, sollte ich mich am Ende für die Primitv-Variante mit dem
Kippschalter mit Mittelstellung entscheiden.
Peter L. schrieb: > Ich werde die Schaltung vom MaWin die Tage mal testen, die schaut mit 4 > Bauteilen recht übersichtlich aus. Danke auch dafür. Im Erfolgsfall > melde ich mich nochmal. Die Schaltung funktioniert bei Dir nicht. Dein Relais hat nur einen Kontakt. Du möchtest aber auch eine Last schalten. > Ansonsten danke ich allen für die Ideen und Vorschläge. Bitte nicht > verärgert sein, sollte ich mich am Ende für die Primitv-Variante mit dem > Kippschalter mit Mittelstellung entscheiden. Weshalb verägert? Dann war der Vorschlag doch von Erfolg. Und ehrlich...ich würde es mit dem Kippschalter umsetzen.
Peter L. schrieb: > Erstmal Danke für die vielen Antworten. Ich bin ehrlich gesagt ein wenig > überfordert mit den ganzen Lösungsvorschlägen, da absoluter Laie. Dann nimm einfach ein Stromstossrelais und schon funktioniert es.
Harald W. schrieb: > Dann nimm einfach ein Stromstossrelais und schon funktioniert es. Hi, wenn er Tatterich hat, geht Licht an und direkt wieder aus. Will ja Verzögerung zwischen kurz hintereinander erfolgender Taster-Mehrfachbetätigung. Hatten wir schon mal: Stromstoss schrieb: > Foto ist löblich, aber ohne Daten - nö. Tipp: besorg Dir einen > > https://de.wikipedia.org/wiki/Stromsto%C3%9Fschalter Die Mechanik mit der Zahnscheibe verzögert schon ein bisschen. Reicht aber nicht aus, um Vandalismus vorzubeugen. Schaltung im angehängten Bild mit Relais braucht mehrere Kontakte. ciao gustav
Peter L. schrieb: > Das Relais muss es leider sein, da ich davon ein Dutzend vor einigen > Jahren gekauft habe. Verkaufe diese Relais bei Ebay und kaufe Dir von dem Erlös ein Stromstoßrelais, von dem Restgeld einen neuen Hut ;)
Bitte melde dich an um einen Beitrag zu schreiben. Anmeldung ist kostenlos und dauert nur eine Minute.
Bestehender Account
Schon ein Account bei Google/GoogleMail? Keine Anmeldung erforderlich!
Mit Google-Account einloggen
Mit Google-Account einloggen
Noch kein Account? Hier anmelden.









